DAP WMS6T-W Passive Design Wall Speaker

Preface
Thank you for purchasing this DAP product.
The purpose of this user manual is to provide instructions for the correct and safe use of this product.
Keep the user manual for future reference as it is an integral part of the product. The user manual shall be stored at an easily accessible location.
This user manual contains information concerning:
- Safety instructions
- Installation and operation of the device
- Intended and non-intended use of the device
- Maintenance procedures
- Troubleshooting
- Transport, storage and disposal of the device
Non-observance of the instructions in this user manual may result in serious injuries and damage of property.
Introduction
Before Using the Product
Important
Read and follow the instructions in this user manual before installing, operating or servicing this product.
The manufacturer will not accept liability for any resulting damages caused by the non-observance of this manual.
After unpacking, check the contents of the box. If any parts are missing or damaged, contact your Highlite International dealer.
Your shipment includes:
- DAP WMS6T-W
- Mounting plate
- Mounting screw
- Rubber gasket
- User manual

Intended Use
This device is designed to be used as a 100 V line wall-mount speaker. The device is suitable for fixed permanent installation in commercial and public spaces. It can be installed indoors and outdoors. Any incorrect use may lead to hazardous situations and result in injuries and material damage.
Any other use, not mentioned under intended use, is regarded as non-intended and incorrect use.
Text Conventions
Throughout the user manual the following text conventions are used:
- References: References to chapters and parts of the device are in bold lettering, for example: “Refer to 2. Safety”, “press the power switch (03)”
- 0–255: Defines a range of values
- Notes: Note: (in bold lettering) is followed by useful information or tips
Symbols and Signal Words
Safety notes and warnings are indicated throughout the user manual by safety signs.
Always follow the instructions provided in this user manual.
DANGER Indicates an imminently hazardous situation which, if not avoided, will result in death or serious injury.
WARNING Indicates an imminently hazardous situation which, if not avoided, could result in death or serious injury.
CAUTION Indicates a potentially hazardous situation, which, if not avoided, may result in minor or moderate injury.
Attention Indicates important information for the correct operation and use of the product.
Important Read and observe the instructions in this document.
Provides important information about the disposal of this product.
Symbols on the Information Label
This product is provided with an information label. The information label is located on the bottom plate of the device.
The information label contains the following symbols:
This device shall not be treated as household waste.
Read and follow the instructions in the user manual before installing, operating or servicing the device.
Safety
Important Read and follow the instructions in this user manual before installing, operating or servicing this product.
The manufacturer will not accept liability for any resulting damages caused by the non-observance of this manual.
Warnings and Safety Instructions
DANGER Danger for children
For adult use only. The device must be installed beyond the reach of children.
- Do not leave various parts of the packaging (plastic bags, polystyrene foam, nails, etc.) within children’s reach. Packaging material is a potential source of danger for children.
Attention Speaker load
- Make sure that the total wattage of all connected speakers does not exceed the rated wattage of the amplifier.
- Make sure that the speaker cable run is appropriate for the total speaker load.
Attention General safety
- Do not shake the device. Avoid brute force when installing or operating the device.
- If the device fails to work properly, discontinue the use immediately
Attention This device shall be used only for the purposes it is designed for.
This device is designed to be used as a 100 V line wall-mount speaker. Any incorrect use may lead to hazardous situations and result in injuries and material damage.
- This device is not suitable for households.
- This device does not contain user-serviceable parts. Unauthorized modifications to the device will render the warranty void. Such modifications may result in injuries and material damage.
Attention Do not expose the device to conditions that exceed the rated IP class conditions.
This device is IP54 rated. IP (Ingress Protection) 54 class means that the device is dust-protected. Ingress of dust does not interfere with satisfactory operation of the device. Water splashed against the enclosure from any direction shall have no harmful effect.
Requirements for the User
This product may be used by ordinary persons. Maintenance may be carried out by ordinary persons.
Service and installation shall be carried out only by instructed or skilled persons. Contact your Highlite International dealer for more information.
Instructed persons have been instructed and trained by a skilled person, or are supervised by a skilled person, for specific tasks and work activities associated with the installation, service and maintenance of this product, so that they can identify risks and take precautions to avoid them.
Skilled persons have training or experience, which enables them to recognize risks and to avoid hazards associated with the installation, service and maintenance of this product.
Ordinary persons are all persons other than instructed persons and skilled persons. Ordinary persons include not only users of the product but also any other persons that may have access to the device or who may be in the vicinity of the device.
Description of the Device
The DAP WMS6T-W is an IP-rated 100 V speaker for low-impedance audio installations. The device can be easily mounted to a wall, in a horizontal or vertical orientation. The DAP logo on the front is rotatable. The device can be used in shops, restaurants or clubs, as well as in sheltered outdoor locations.
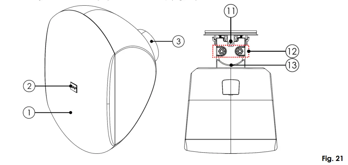
Front View
- Speaker grill
- Rotatable logo
- Rubber ball-joint cover

Fig. 02Back View
- Mounting panel
- 4 x speaker mounting holes
- Speaker connector
- Mounting plate (See 3.4. Mounting Plate on page 8)
- Rubber gasket
- Line transformer tap cover
- Line transformer tap selector

Fig. 03Bottom View
- Mounting screw (M3 x 10 mm)
- 2 x adjustment screws (M6 x 45 mm)
- Ball-joint

Fig. 04Mounting Plate
- 4 x mounting holes (Ø 5 mm)
- 4 x mounting hooks
- 4-pin terminal connector

Fig. 05
Product Specifications
| Model: | DAP WMS6T-W |
| Physical: | |
| Dimensions: | 215 x 240 x 385 mm (L x W x H) |
| Weight: | 3,9 kg |
| Inputs: | |
| Passive input connector: | 4-pin terminal |
| Transformer: | 100 V |
| Output: | |
| Passive output connector: | 4-pin terminal |
| Audio Specifications: | |
| Speaker system: | 2-way |
| Speaker sensitivity (1 W/1 m): | 89,5 dB |
| Speaker impedance: | 8 Ω |
| Maximum SPL at 1 m: | 105,5 dB |
| Frequency response: | 70–20000 Hz |
| Woofer diameter: | 6,5′′ |
| Woofer magnet type: | Ferrite |
| Compression driver magnet type: | Ferrite |
| Line transformer taps: | @ 70 V: 2,5 W/3,5 W/7,5 W/15 W @ 100 V: 5 W/7,5 W/15 W/30 W 8 Ω |
| Construction: | |
| Housing: | ABS |
| Color: | White |
| IP rating: | IP54 |
| Product Properties: | |
| Speaker grill: | Aluminum |
| Thermal: | |
| Max. ambient temperature ta: | From -10 to 45 °C |
Dimensions

Installation and Setup
Safety Instructions for Installation
WARNING
Incorrect installation can cause serious injuries and damage of property.
Installation Site Requirements
- The device can be used outdoors.
- The device can be mounted on a wall in a vertical or horizontal orientation.
- The device must be installed away from heating sources.
- The maximum ambient temperature ta = 45 °C must never be exceeded.
- The relative humidity must not exceed 50 % with an ambient temperature of 45 °C
Mounting and Setup
To mount the device, you need:
- Phillips screwdriver (PH1)
- Hex key (5 mm)
- Anchors
- Drill bits
- Power drill
To mount and set up the device, follow the steps below:
- Drill mounting holes on the wall. See 4.3.1. Drilling Mounting Holes on page 12.
- Connect the amplifier and daisy-chain the WMS speakers. See 4.3.2. Connecting Devices on page 13.
- Install the mounting plate (07) on the wall. See 4.3.3. Installing the Mounting Plate on page 15.
- Set a correct line transformer tap. See 4.3.4. Setting Line Transformer Taps on page 16.
- Install the speaker on the mounting plate (07). See 4.3.5. Installing the Speaker on page 17.
- Adjust the angle of the device. See 4.3.6. Adjusting the Angle on page 18.
- Adjust the orientation of the logo. See 4.3.7. Adjusting the Logo on page 19.
- Connect the amplifier to the power supply. See 4.3.8. Connecting the Amplifier on page 20.
- Switch on the amplifier.
Drilling Mounting Holes
- Hold the mounting plate (07) against the wall, as shown in Fig. 07, and mark the mounting locations.

- Drill holes at the marked locations. See 4.3.1.1. Drilling into Wood or 4.3.1.2. Drilling into Concrete on page 12 for more information.
- Insert anchors into the drilled holes (Fig. 08). Do not perform this step when mounting the device on a wooden wall.

Fig. 08
Drilling into Wood
If you drill into wood, use hardwood drill bits. Predrill before inserting screws, to remove drill dust and to avoid damaging of the wood.

Fig. 09
Note: Drill bits shall be of the same diameter as the anchors.
Connecting Devices
Connect all cables to the mounting plate (07). Make sure that the cable polarity is correct (+/-) (Fig. 11).

Fig. 11
100 V Amplifier Mode
To use the device with a 100 V amplifier, follow the steps below:
- Connect the COM output of the 70/100 V amplifier to one of the (-) connectors on the mounting plate (07).
- Connect the line transformer tap (70 V or 100 V) of the 70/100 V amplifier to one of the (+) connectors on the mounting plate (07).
- Connect multiple speakers as shown in Fig. 12.

WMS6T-W
Conventional Amplifier Mode
To use the device with a conventional amplifier, follow the steps below:
- Connect the (-) output of the conventional amplifier to one of the (-) connectors on the mounting plate (07) of the first speaker.
- Connect the (+) output of the conventional amplifier to one of the (+) connectors on the mounting plate (07) of the first speaker.
- Connect multiple speakers as shown in Fig. 13.

Installing the Mounting Plate
Install the mounting plate (07) with the mounting hooks facing up (Fig. 14).

Fig.14
To install the mounting plate (07), follow the steps below:
- Hold the mounting plate (07), with the rubber gasket (08), against the wall, in such a way that all cables fit through the opening in the rubber gasket (08) (Fig. 15)
Note:
Make sure that the opening in the gasket is located at the bottom (Fig. 15). If, for any reason, such installation is not possible, seal the opening with a waterproof sealant to protect the device from the ingress of water (Fig. 16).
- Insert and tighten the screws to install the mounting plate (07) and the rubber gasket (08) on the wall (Fig. 17). The screws shall be at least 12,5 mm long. Do not overtighten the screws as this can damage the mounting plate (07). The damaged mounting plate (07) cannot support the weight of the device and can break easily.

Setting Line Transformer Taps
The device has multiple selectable line transformer taps.
To select line transformer taps, follow the steps below:
- Pry up and remove the line transformer tap cover (09) to get access to the line transformer tap selector (10).
- 1Turn the line transformer tap selector (10) to select a line transformer tap. The available line transformer taps are:

- Install the line transformer tap cover (09) again.
Note:
The line transformer tap values depend on the type of amplifier connected to the PA system.
- For a 70 V amplifier, the line transformer taps are: 2,5 W/3,5 W/7,5 W/15 W.
- For a 100 V amplifier, the line transformer taps are: 5 W/7,5 W/15 W/30 W.
- For a conventional amplifier, use only the “8 Ω” line transformer tap.
The higher the wattage setting, the higher the volume level of the speaker
Installing the Speaker
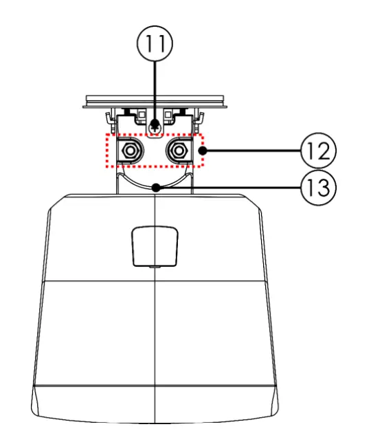
- Turn the mounting screw (11) counter-clockwise to remove it.
- Hang the speaker on the mounting plate (07) (Fig. 19).
Notes:
● The 4 x mounting hooks (15) shall fit through the 4 x speaker mounting holes (05) on the mounting panel (04).
● The speaker connector (06) shall fit in the 4-pin terminal connector (16) on the mounting plate (07).
- Insert the mounting screw (11) and tighten it with the Phillips screwdriver (Fig. 20).

Adjusting the Angle
You can adjust the angle of the device with the adjustment screws (12).
To adjust the angle, follow the steps below:
- Fold the rubber ball-joint cover (03) to get access to the adjustment screws (12).
- Loosen the adjustment screws (12) with the hex key (Fig. 21).

- Tilt the device. The tilt range is 30° in all directions (Fig. 22).

- Rotate the ball-joint (13) to set the device in a vertical or horizontal orientation (Fig. 23). The ball-joint rotation range is 90°.

- Tighten the adjustment screws (12) with the hex key, so that the device cannot move freely.
- Unfold the rubber ball-joint cover (03).
Adjusting the Logo
You can adjust the orientation of the DAP logo on the speaker grill so that it is always legible, regardless of the orientation of the device.
Option 1
- Use a tool to pry up the rotatable logo (02).
- Move the rotatable logo (02) to the correct orientation.

Option 2
- Pry up the speaker grill (01) and remove it from the device (Fig. 25).

- On the inside of the speaker grill (01), press on the spring-loaded pin and move the rotatable logo
- to the correct orientation (Fig. 26).
- Release the spring-loaded pin.
- Install the speaker grill (01) on the device.
Connecting the Amplifier
Attention Speaker load
Before connecting the amplifier to the power supply, make sure that the total load of all connected speakers is below the maximum rating of the amplifier. If the total load is higher, it may cause damage to the amplifier and to the speakers.
The total load depends also on the current line transformer tap setting of the speakers. See Setting
Line Transformer Taps on page 16 for more information. To determine if the settings are correct:
- Add up the wattage settings of all connected speakers.
- Compare the value with the maximum rating of the amplifier. If necessary, disconnect speaker(s).
Troubleshooting
This troubleshooting guide contains solutions to problems which can be carried out by an ordinary person. The device does not contain user-serviceable parts.
Unauthorized modifications to the device will render the warranty void. Such modifications may result in injuries and material damage.
Refer servicing to instructed or skilled persons. Contact your Highlight International dealer in case the solution is not described in the table.
| Problem | Probable cause(s) | Solution |
| The device does not function at all | Bad connection |
|
| No power to the amplifier |
| |
| Incorrect settings |
| |
| No sound | Incorrect polarity of the connections |
|
Maintenance
Preventive Maintenance
Attention
Before use, examine the device visually for any defects.
Make sure that:
- There are no deformations on the housing
- The device is rigidly mounted to the wall.
Basic Cleaning Instructions
To clean the device, follow the steps below:
Clean the device with a soft, lint-free cloth.
Attention
- Do not immerse the device in liquid.
- Do not use alcohol or solvent
Corrective Maintenance
The device does not contain user-serviceable parts. Do not open the device and do not modify the device.
Refer repairs and servicing to instructed or skilled persons. Contact your Highlite International dealer for more information.
Deinstallation, Transportation and Storage
Instructions for Deinstallation
WARNING
Incorrect deinstallation can cause serious injuries and damage of property.
- Disconnect power supply before deinstallation.
- Always observe the national and site-specific regulations during deinstallation and derigging of the device.
- Wear personal protective equipment in compliance with the national and site-specific regulations.
+Instructions for Transportation
- Use the original packaging to transport the device, if possible.
- Always observe the handling instructions printed on the outer carton box, for example: “Handle with care”, “This side up”, “Fragile”.
Storage
- Clean the device before storing. Follow the cleaning instructions in chapter 6.1.1. Basic Cleaning Instructions on page 21.
- Store the device in the original packaging, if possible
Disposal
Correct disposal of this product
Waste Electrical and Electronic Equipment
This symbol on the product, its packaging or documents indicates that the product shall not be treated as household waste. Dispose of this product by handing it to the respective collection point for recycling of electrical and electronic equipment. This is to avoid environmental damage or personal injury due to uncontrolled waste disposal. For more detailed information about recycling of this product contact the local authorities or the authorized dealer.
Approval
Check the respective product page on the website of Highlite International (www.highlite.com) for an available declaration of conformity.
Product code: D3843





































