TRANE Symbio 210 Bypass Damper Controller

Order Number: Description:
- BMSY210ACA0T00011 Symbio 210 MS/TP Programmable Bypass Controller with Trane actuator
- BMSY210ACA0T10011 Symbio 210 MS/TP Programmable Bypass Controller with Trane actuator and duct temperature sensor
- 501897940100 VAV controls metal enclosure
SAFETY WARNING
- Only qualified personnel should install and service the equipment.
- The installation, starting up, and servicing of heating, ventilating, and air-conditioning equipment can be hazardous and requires specific
- knowledge and training. Improperly installed, adjusted or altered equipment by an unqualified person could result in death or serious injury.
- When working on the equipment, observe all precautions in the literature and on the tags, stickers, and labels that are attached to the equipment.
Warnings, Cautions, and Notices
Read this manual thoroughly before operating or servicing this unit. Safety advisories appear throughout this manual as required.
Your personal safety and the proper operation of this machine depend upon the strict observance of these precautions.
The three types of advisories are defined as follows:
- WARNING
Indicates a potentially hazardous situation which, if not avoided, could result in death or serious injury. - CAUTION
Indicates a potentially hazardous situation which, if not avoided, could result in minor or moderate injury. - NOTICE
It could also be used to alert against unsafe Indicates a situation that could result in equipment or property-damage only accidents.
Important Environmental Concerns
Scientific research has shown that certain man-made chemicals can affect the earth’s naturally occurring stratospheric ozone layer when released to the atmosphere. In particular, several of the identified chemicals that may affect the ozone layer are refrigerants that contain Chlorine, Fluorine and Carbon (CFCs) and those containing Hydrogen, Chlorine, Fluorine and Carbon (HCFCs). Not all refrigerants containing these compounds have the same potential impact to the environment. Trane advocates the responsible handling of all refrigerants-including industry replacements for CFCs such as HCFCs and HFCs.
Important Responsible Refrigerant Practices
Trane believes that responsible refrigerant practices are important to the environment, our customers, and the air conditioning industry. All technicians who handle refrigerants must be certified according to local rules. For the USA, the Federal Clean Air Act (Section 608) sets forth the requirements for handling, reclaiming, recovering and recycling of certain refrigerants and the equipment that is used in these service procedures. In addition, some states or municipalities may have additional requirements that must also be adhered to for responsible management of refrigerants. Know the applicable laws and follow them.
WARN
WARNINGING
Proper Field Wiring and Grounding Required!
Failure to follow code could result in death or serious injury. All field wiring MUST be performed by qualified personnel. Improperly installed and grounded field wiring poses FIRE and ELECTROCUTION hazards. To avoid these hazards, you MUST follow requirements for field wiring installation and grounding as described in NEC and your local/state electrical codes.
WARNING
Personal Protective Equipment Required!
Installing/servicing this unit could result in exposure to electrical, mechanical and chemical hazards. Before installing/servicing this unit, technicians MUST put on all Personal Protective Equipment (PPE) recommended for the work being undertaken. ALWAYS refer to appropriate SDS sheets and OSHA guidelines for proper PPE. When working with or around hazardous chemicals, ALWAYS refer to the appropriate SDS sheets and OSHA guidelines for information on allowable personal exposure levels, proper respiratory protection and handling recommendations. If there is a risk of arc or flash, technicians MUST put on all necessary Personal Protective Equipment (PPE) in accordance with NFPA70E for arc/flash protection PRIOR to servicing the unit. Failure to follow recommendations could result in death or serious injury.
WARNING
Follow EHS Policies!
Failure to follow instructions below could result in death or serious injury.
- All Trane personnel must follow the company’s Environmental, Health and Safety (EHS) policies when performing work such as hot work, electrical, fall protection, lockout/tagout, refrigerant handling, etc. Where local regulations are more stringent than these policies, those regulations supersede these policies.
- Non-Trane personnel should always follow local regulations.

Install Bypass Dampers
Bypass damper(s) should be located before the first zone runs out from the supply air duct. VAV boxes or supply duct branches should be installed downstream of bypass dampers. The distance between the bypass damper(s) and the pressure sensor probe should be a minimum of two to three equivalent duct diameters apart to prevent turbulence and erroneous pressure readings.
In a ducted return system, bypass dampers will be ducted directly to the return air duct. In systems with plenum return, bypass damper(s) should be ducted into the return air riser. Confirm that sufficient relief or exhaust exists to prevent return plenum pressurization.
Important: The use of a relief fan or backdraft damper is strongly recommended in the return air system. This will prevent bypassed air from pressurizing the return air duct system and spilling out of return grills into conditioned space, especially when the unit is in economizer mode.
Mounting the Controller
Mounting inside an enclosure is recommended. Sheet metal screws for mounting the enclosure are not supplied.
- If using a metal enclosure, mount the enclosure to the VAV box using self-tapping sheet metal screws. The mounting holes are provided on the controller base.
Important: Insert the actuator shaft through the hole in the base and through the actuator shaft coupling. If the kit does not include a damper control actuator, secure a locally-supplied actuator to the damper shaft and the VAV box. - Secure the controller to the enclosure or VAV box with the provided mounting screw, ensuring that the damper position and actuator position are aligned.
- Tighten the damper actuator coupling against the damper shaft.
Removing the Actuator from the Controller
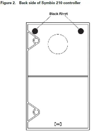
Refer to Figure 2.

- Using needle-nose pliers, remove the black rivets located on the back side of the controller by squeezing and pulling with the pliers.
- Remove the actuator by pulling the top away from the plastic enclosure and sliding the bottom off of the mounting clip.
Input / Output Terminal Wiring
Input/output terminal wiring must meet the following requirements:
- All wiring must be in accordance with NEC™ and local codes.
- Use only 18–22 AWG, stranded, tinned-copper, twisted-pair wire.
- Binary input and output wiring should be a maximum length of 300 ft (100 m).
- Analog input wiring should be a maximum length of 300 ft (100 m).
- Do not run input/output wires in the same wire bundle with AC power wires.
- A pressure sensor can be connected to up to 300 feet of tubing.
- A pressure sensor can be connected to up to 60 feet of wire.
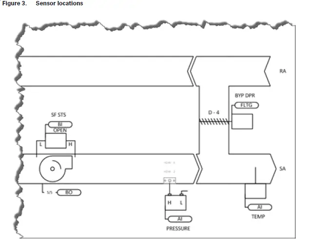
| Location | Function |
| Pressure Input | Duct Static Pressure Local |
| AI3/DAT | Discharge Air Temperature |
| Actuator | Damper Actuator |
Communication Link Wiring
The Symbio 210 controller communicates with the building automation system (BAS) and with other controller over a BACnet® MS\TP or BACnet Zigbee (Air-Fi) communication link.
For instructions on BACnet MS\TP communication wiring, refer to the BACnet Best Practices and Troubleshooting Guide (BAS-SVX51-EN).
A/C Power Wiring
Prior to connecting AC power to the controller:
- All wiring must comply with National Electrical Code™(NEC) and local codes.
- The recommended wire for AC power is 16 AWG copper wire, minimum.
- Refer to the below section for Transformer Recommendations.
WARNING
Hazardous voltage!
Disconnect all electric power, including remote disconnects before servicing. Follow proper lockout/tagout procedures to ensure the power cannot be inadvertently energized. Failure to disconnect power before servicing could result in death or serious injury..
CAUTION
Injury and equipment damage!
Make sure that the 24 Vac transformer is properly grounded. Failure to do so may result in personal injury and/or damage to equipment.
CAUTION
Equipment damage!
Complete input/output wiring before applying power to the controller. Failure to do so may cause damage to the controller or power transformer due to inadvertent connections to power circuits. Do not share 24 Vac between controllers. Failure to do so may cause controller damage.
Transformer Recommendations
The Symbio 210 is powered with 24 Vac.
- AC transformer requirements; U.L. listed, Class 2 power transformer, 24 Vac ±15%. The transformer must be sized to provide adequate power to the Symbio 210 controller and inputs/outputs. Refer to the Symbio 210 Programmable Controller Installation, Operation, and Maintenance manual BAS-SVX084-EN for details on sizing.
- CE-compliant installations; the transformer must be CE marked and SELV compliant per IEC Standards
NOTICE
Avoid Equipment Damage!
Sharing 24 Vac power between controllers could cause equipment damage.
A separate transformer is recommended for each Symbio 210. The line input to the transformer must be equipped with a circuit breaker sized to handle the maximum transformer line current. If a single transformer is shared by multiple Symbio 210 units, then:
- The transformer must have sufficient capacity.
- Polarity must be maintained for every Symbio 210 controller powered by the transformer.
Important: If a technician inadvertently reverses polarity between controllers powered by the same transformer, a difference of 24 Vac will occur between the grounds of each controller.
The following symptoms could result:
- Partial or full loss of communication on the entire communication link.
- Improper function of Symbio 210 outputs.
- Damage to the transformer or a blown transformer fuse.

Sequence of Operation
Building Automation System Interface
The Building Automation System (BAS) can send the controller Occupied/Unoccupied and commands, if desired. If a BAS is not present, the controller operates in the occupied mode using default setpoints. If a BAS is present and communication is lost with the BAS the controller shall be commanded to a fail-safe position of 50%.
Occupied Mode
During occupied periods, the bypass damper will modulate to maintain the duct static pressure to a duct static pressure setpoint of 1” W.C. (adj.).
Unoccupied Mode
During unoccupied periods, the bypass damper will be commanded to a default position of 50%. The controller must be commanded to occupied by the BAS for duct static pressure control.
Duct Static Pressure Failures
The bypass damper controller will monitor a valid duct static pressure source. If the source is considered invalid, the bypass damper will be commanded to a fail-safe position of 50%.
Note: The round Varitrac bypass damper operates in duct static pressures up to 1.75 inches wg. The rectangular Varitrac bypass damper operates in duct static pressures up to 2.00 inches wg. Varitrane boxes and Round in Round out boxes can operate in duct static pressures up to 5 inches wg.
Trane – by Trane Technologies (NYSE: TT), a global climate innovator – creates comfortable, energy efficient indoor environments for commercial and residential applications. For more information, please visit trane.com or tranetechnologies.com.
Trane has a policy of continuous product and product data improvement and reserves the right to change design and specifications without notice.
We are committed to using environmentally conscious print practices.
BAS-SVN223D-EN 31 Jan 2022 Supersedes BAS-SVN223C-EN (Nov 2021)

















