homestyles 5050-13 Media Tower

IMPORTANT
Carefully remove all the parts from the carton and place them individually on a soft cloth to prevent scratches or other damage.
Carefully and strictly follow these assembly instructions to ensure a completed product as designed.
Do not use power tools above 8 volts to assemble.
Part List
- A. Cabinet 1 pc.

- B. Rail 4 pcs.

- C. Side Frame 2 pcs.

- D. Shelf 2 pcs.

- E. Shelf 2 pcs.

- F. Side Frame 2 pcs.

- G. Back Frame 1 pc.

Hardware List

Tool(s) required for assembly: Phillips screwdriver, Level, Drill (8 volts or less), 3/8” Drill Bit
Assembly Instructions
IMPORTANT
- IMPORTANT
- Use a soft cloth between these parts and the floor.
- Do not use power tools above 8 volts to assemble.
- Do not tighten all the bolts until each part is properly assembled.
- The unit must be level to work properly. Use the included adjustable levelers to level.
- Keep Hex Wrench as the bolts may need to be tightened in the future.
STEP 1

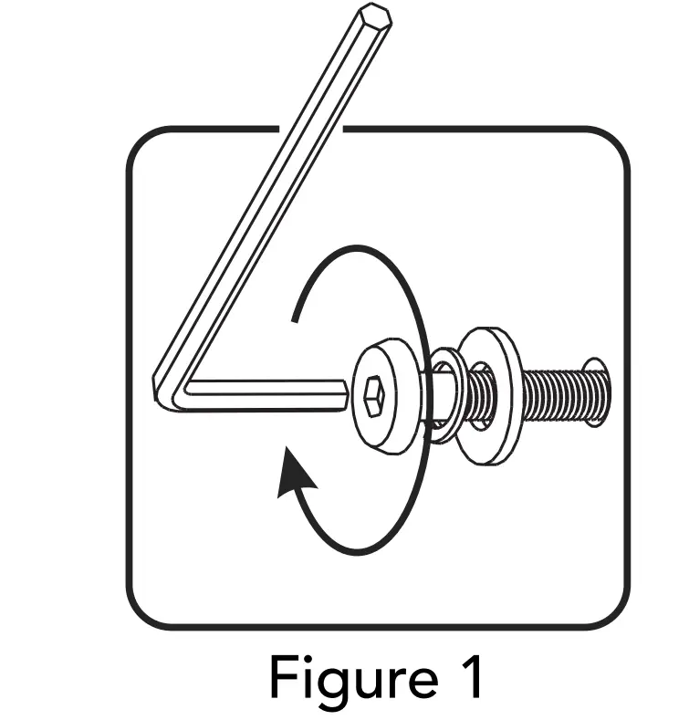
Attach Rails (B) to Side Frames (C) with Flat Washers, Spring Washers and Head Cap Bolts, tightening bolts only halfway. (See Figure 1)

Tighten all bolts.
STEP 2

Slide Shelf (D) into unit.
Attach Shelf (D) to unit with Wood Screws (long)
STEP 3

Slide Shelf (D) into unit.
Attach Shelf (D) to unit with Wood Screws (long).
STEP 4

Remove drawer from Cabinet (A).
Rotate drawer stop into position. (See Figure 2)
STEP 5

Place Cabinet (A) upside down on a soft cloth.
Attach unit to Cabinet (A) with Flat Washers, Spring Washers and Head Cap Bolts.
Insert Wood Screws (long) into pre-drilled holes unit.
STEP 6

Turn unit over to its upright position.
Remove handle on inside of drawer and attach to outside of drawer with machine screws.
Slide drawer into position.
STEP 7

Attach Side Frame (F) and Shelves (E) to Back Frame (G) with Tapered Head Cap Bolts and Wood Screws (short).
STEP 8

Attach Side Frame (F) to unit with Tapered Head Cap Bolts and Wood Screws (short).
Insert Headless Bolts into pre-drilled holes in unit.
STEP 9

Place upper unit onto base unit.
Attach Brackets to unit with Head Cap Bolts, Tapered Head Cap Bolts and Wood Screws (short). (See Figure 3)
Level unit by adjusting the adjustable levelers on bottom of unit. (See Figure 4)
IMPORTANT
- To help reduce the risk of the unit tipping over, the Tipover Restraint must be installed following these instructions exactly
STEP 10

lace unit at desired location. Drill a 3/8” hole in wall in-line with pre-drilled hole at top of unit. Move unit.
Insert Anchor into the wall hole and attach Bracket with Wall Screw.
Attach Bracket at pre-drilled hole at top of unit with Machine Screw. Move unit back into place.
Slide Tipover Restraint through Bracket on wall and Bracket on unit. (See Figure 5)
Put tie end of Tipover Restraint into lock end of Tipover Restraint and pull until tight.
Hardware List
- Anchor 1 pc. (+1 extra)

- Bracket 2 pcs. (+1 extra)

- Tipover Restraint 1 pc. (+1 extra)

- M3.5×40 Wall Screw 1 pc. (+1 extra)

- M4x10 Machine Screw 1 pc. (+1 extra)

CARE INSTRUCTIONS
NEVER
allow liquids to remain on furniture. Absorption causes parts to warp and split and finishes to delaminate.
NEVER
use glass cleaners on finished furniture. Ammonia chemically attacks the finish.
![]() | ![]() | ![]() |
| Do not use power tools above 8 volts to assemble. PREVENT CRACKING | Do not place in direct sunlight. PREVENT FADING | Do not write directly on surface. PREVENT MARKING |
![]() | ![]() | ![]() |
| Do not place hot objects on surface. PREVENT FINISH DAMAGE | Do not use rubber based placemats. PREVENT DISCOLORING | Do not use commercial waxes and polishes. PREVENT YELLOWING |
![]() | ||
| CLEAN with a soft cloth moistened in lukewarm soap and water. Buff with a dry clean cloth. | ||
home styles will provide replacements free of charge for missing or damaged parts within 1 year of purchase. Digital images of the defective parts may be required. If the product was not purchased from an authorized retailer,
home styles is under no obligation to provide replacement parts. Parts are not available for fully assembled items nor are parts available for sale. Replacements for missing or damaged parts may be requested via contact info below.
Media Console

IMPORTANT
Carefully remove all the parts from the carton and place them individually on a soft cloth to prevent scratches or other damage.
Carefully and strictly follow these assembly instructions to ensure a completed product as designed.
Do not use power tools above 8 volts to assemble.
Part List
- A. Cabinet 1 pc.

- C. Stretcher 1 pc.

- B. Stretcher 3 pcs.

- B1. Stretcher 1 pc.

- D. Side Frame 2 pcs.

- E. Shelf 2 pcs.

- F. Drawer Front 2 pcs.

- G. Drawer Box 2 pcs.

Hardware List

Assembly Instructions
IMPORTANT
- IMPORTANT
- Use a soft cloth between these parts and the floor.
- Do not use power tools above 8 volts to assemble.
- Do not tighten all the bolts until each part is properly assembled.
- The unit must be level to work properly. Use the included adjustable levelers to level.
- Keep Hex Wrench in a safe place as the bolts may need to be tightened up in the future.
STEP 1

Attach Stretchers (B), (B1) and (C) to Side Frame (D) with Flat Washers, Spring Washers and Head Cap Bolts, tightening bolts only halfway. (See Figure 1)
Attach Side Frame (D) to unit with Flat Washers, Spring Washers and Head Cap Bolts, tightening bolts only halfway.
Tighten all Head Cap Bolts.
STEP 2

Slide upper Shelf (E) into unit.
Attach upper Shelf (E) to unit with Flat Washers, Spring Washers, Head Cap Bolts and Wood Screws. (See Figure 2)
STEP 3

Slide lower Shelf (E) into unit.
Attach lower Shelf (E) with Flat Washers, Spring Washers, Head Cap Bolts and Wood Screws
STEP 4

Place Cabinet (A) upside down on a soft cloth.
Attach unit to Cabinet (A) with Flat Washers, Spring Washers, Head Cap Bolts and Wood Screws.
STEP 5

Place Drawer Fronts (F) face down on a soft cloth.
Insert Dowels into Drawer Fronts (F).
Attach Drawer Fronts (F) to Drawer Boxes (G) with Wood Screws for drawer.
STEP 6

Turn unit over to its upright position.
Attach Handles to drawers with Machine Screws. Slide drawers into position.
Level unit by adjusting the adjustable levelers on bottom of unit. (See Figure 3)
IMPORTANT
To help reduce the risk of the unit tipping over, the Tip-over Restraint must be installed following these instructions exactly
STEP 7

Place unit at desired location. Drill a 3/8” hole in wall in-line with pre-drilled hole at top of unit. Move unit.
Insert Anchor into the wall hole and attach Bracket with Wall Screw.
Attach Bracket at pre-drilled hole at top of unit with Machine Screw.
Move unit back into place.
Slide Tip-over Restraint through Bracket on wall and Bracket on unit. (See Figure 4)

Put tie end of Tip-over Restraint into lock end of Tip-over Restraint and pull until tight.
Hardware List
- Anchor 1 pc. (+1 extra)

- Bracket 2 pcs. (+1 extra)

- Tip-over Restraint 1 pc. (+1 extra)

- M3.5×40 Wall Screw 1 pc. (+1 extra)

- M4x10 Machine Screw 1 pc. (+1 extra)

CARE INSTRUCTIONS
NEVER
allow liquids to remain on furniture. Absorption causes parts to warp and split and finishes to delaminate.
NEVER
use glass cleaners on finished furniture. Ammonia chemically attacks the finish.
lass cleaners on finished furniture. Ammonia chemically attacks the finish.
![]() | ![]() | ![]() |
| Do not use power tools above 8 volts to assemble. PREVENT CRACKING | Do not place in direct sunlight. PREVENT FADING | Do not write directly on surface. PREVENT MARKING |
![]() | ![]() | ![]() |
| Do not place hot objects on surface. PREVENT FINISH DAMAGE | Do not use rubber based placemats. PREVENT DISCOLORING | Do not use commercial waxes and polishes. PREVENT YELLOWING |
![]() | ||
home styles will provide replacements free of charge for missing or damaged parts within 1 year of purchase. Digital images of the defective parts may be required. If the product was not purchased from an authorized retailer,
home styles is under no obligation to provide replacement parts. Parts are not available for fully assembled items nor are parts available for sale. Replacements for missing or damaged parts may be requested via contact info below.
home styles Customer Service: www.homestylesfurniture.com,
[email protected], 888-680-7460















































