5092-942 Kitchen Island
Instruction Manual
IMPORTANT
Carefully remove all the parts from the carton and place them individually on a soft cloth to prevent scratches or other damage.
Carefully and strictly follow these assembly instructions to ensure a completed product as designed.
Do not use power tools above 8 volts to assemble.
Part List

Hardware List
5092 942- Kitchen Island

Do not use power tools above 8 volts to assemble.
Part List

Carton 5092 941 is also needed for assembly.
Tool(s) required for assembly: Phillips screwdriver, Level home styles Customer Service: www.homestylesfurniture.com, [email protected], 888-680-7460
Assembly Instructions
IMPORTANT
- Use a soft cloth between these parts and the floor.
- Do not use power tools above 8 volts to assemble.
- Do not tighten all the bolts until each part is properly assembled.
- The unit must be level to work properly. Use the included adjustable levelers to level.
- Keep Hex Wrench as the bolts may need to be tightened in future.
STEP 1
Remove drawer from Top (A).
Attach Knobs to drawer with Machine Screws.

STEP 2
Insert Cam Lock Screws into pre-drilled holes in Side Panels (C), then tighten. (See Figure 1)

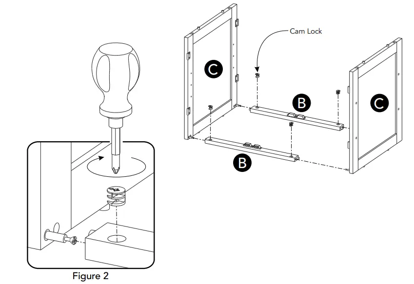
STEP 3
Attach Side Panels (C) to Rails (B) with Cam Locks. (See Figure 2)
STEP 4
Place Top (A) upside down on a soft cloth.
Attach unit to Top (A).

STEP 5
Orientate Stretchers (L) with Arrow labels pointing in same direction as the notches in Posts ( ) and ( DE then attach Stretchers (L) to Posts (D) and (E) with Head Cap Bolts. (See Figure 3)

STEP 6
Attach Shelves (G) to unit from Step 4.
Attach units from Step 5 to unit with Head Cap Bolts.
STEP 7
Attach Base (K) to unit with Head Cap Bolts.

STEP 8
Attach Feet (F) to unit with Flat Washers, Spring Washers and Head Cap Bolts (long). (See Figure 4)

STEP 9
Turn unit over to its upright position.
Insert Adjustable Pins into side panels at desired level.
Place Shelf (J) into position.
Attach Doors (H) and (I) to unit by sliding door hinges into side panel hinges. (See Figure 5)
Attach Knobs to Doors (H) and (I) with Machine Screws. (See Figure 6)
Slide drawer into position.
Level unit by adjusting the adjustable levelers on bottom of unit. (See Figure 7)

CARE INSTRUCTIONS
NEVER
allow liquids to remain on furniture.
Absorption causes parts to warp and split and finishes to delaminate.
NEVER
use glass cleaners on finished furniture. Ammonia chemically attacks the finish.

CLEAN
with a soft cloth moistened in lukewarm soap and water.
Buff with a dry clean cloth.
home styles will provide replacements free of charge for missing or damaged parts within 30 days of purchase. Digital images of the defective parts may be required. If the product was not purchased from an authorized retailer, home styles is under no obligation to provide replacement parts. Parts are not available for fully assembled items nor are parts available for sale. Replacements for missing or damaged parts may be requested via contact info below.
home styles Customer Service: www.homestylesfurniture.com, [email protected], 888-680-7460



















