homestyles 6801-21 Coffee Table

IMPORTANT
- Carefully remove all the parts from the carton and place them individually on a soft cloth to prevent scratches or other damage.
- Carefully and strictly follow these assembly instructions to ensure a completed product as designed.
- Do not use power tools above 8 volts to assemble.
Part List
Hardware List
Tool(s) required for assembly: Level
homestyles Customer Service: www.homestylesfurniture.com, [email protected], 888-680-7460
Assembly Instructions
IMPORTANT
- Use a soft cloth between these parts and the floor.
- Do not use power tools above 8 volts to assemble.
- Do not tighten all the bolts until each part is properly assembled.
- The unit must be level to work properly. Use the included adjustable levelers to level.
- Keep Hex Wrench as the bolts may need to be tightened in the future.
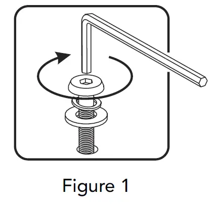
- STEP 1
Attach Frame (B) to Top (A) with Head Cap Bolts (short), Spring Washers and Flat Washers, tightening bolts only halfway. (See Figure 1)

- STEP 2
Attach Sides (C) to unit with Head Cap Bolts, Spring Washers and Flat Washers, tightening bolts only halfway.
- STEP 3
Attach Frame (B) to unit with Head Cap Bolts, Head Cap Bolts (short), Spring Washers and Flat Washers, tightening bolts only halfway.
Tighten all bolts used in Steps 1, 2 and 3.
- STEP 4
Attach Feet (E) to unit with Head Cap Bolts, Spring Washers and Flat Washers. (See Figure 2)

- STEP 5
- Turn over unit to its upright position.
- Place Containers (F) into position.
- Place Plugs into position.

- STEP 6
- Place Tops (D) into position.
- Level unit by adjusting the adjustable levelers on bottom of unit. (See Figure 3)


CARE INSTRUCTIONS
NEVER
- allow liquids to remain on furniture. Absorption causes parts to warp and split and finishes to delaminate
- use glass cleaners on finished furniture. Ammonia chemically attacks the finish

CLEAN with a soft cloth moistened in lukewarm soap and water. Buff with a dry clean cloth
homestyles will provide replacements free of charge for missing or damaged parts within 1 year of purchase. Digital images of the defective parts may be required. If the product was not purchased from an authorized retailer, homestyles is under no obligation to provide replacement parts. Parts are not available for fully assembled items nor are parts available for sale. Replacements for missing or damaged parts may be requested via contact info below






























