homestyles 5450-01 Personal Storage Unit

IMPORTANT
Carefully remove all the parts from the carton and place them individually on a soft cloth to prevent scratches or other damage.
Carefully and strictly follow these assembly instructions to ensure a completed product as designed.
Do not use power tools above 8 volts to assemble.


Tool(s) required for assembly: Phillips screwdriver, Level.
homestyles Customer Service: www.homestylesfurniture.com, [email protected], 888-680-7460
Assembly Instruction
IMPORTANT
• Use a soft cloth between these parts and the floor.
• Do not use power tools above 8 volts to assemble.
• Do not tighten all the screws until each part is properly assembled.
• The unit must be level to work properly. Use the included adjustable levelers to level.
STEP 1
Insert Cam Lock Screws into pre-drilled holes in Top (A) and Side Panels (B), (C), then tighten.

STEP 2: Attach Shelf (D) to Back Panel (F) with Dowels.

STEP 3: Attach Side Panels (B) and (C) to unit with Dowels and Cam Locks. (See Figure 1)

STEP 4: Attach Bottom (E) to unit with Dowels and 1 1 /2″ Round Head Screws.

STEP 5: Attach Top (A) to unit with Dowels and Cam Locks.

STEP 6
Turn unit to its upright position.
Cover Cam Lock with Caps. (See Figure 2)
Level unit by adjusting the adjustable levelers on bottom of unit. (See Figure 3)
Note: Unit must be level to proceed.

STEP 7: Attach Drawer Front (G 1) and Drawer Back (G2) to Drawer Side (G3) with 1 1/4″ Flat Head Screws.
STEP 8: Insert Drawer Bottom (GS) into groove.
Attach Drawer Side (G4) to unit with 1 1/4″ Flat Head Screws.

STEP 9 Attach Handle with 3/4″ Flat Head Screws.
Note: Drawer assembly is not complete until 3/4″ Flat Head Screws are used in a later step.

STEP 10: Loosen slightly screws pre-installed on back of drawer front.

STEP 11: Insert drawer into unit, then adjust drawer front panel left or right and up or down until drawer gaps look proportional.

STEP 12 Pull drawer open slowly, then re-tighten screws from Step 10.
Make sure drawer front panel does not move and lock drawer front panel into position with 3/4″ Flat Head Screws.
Note: These 3/4″ Flat Head Screws must be installed to complete the drawer assembly.


STEP 13
Place Metal Strips into position in Drawer (G).
Slide Drawer (G) into position.
Note: To remove Drawer (G) in future, push plastic lever on left side up, push plastic lever on right side down and pull open. (See Figures 4 and 5)

CARE INSTRUCTIONS
NEVER
- allow liquids to remain on furniture. Absorption causes parts to warp and split and finishes to delaminate.
- use glass cleaners on finished furniture. Ammonia chemically attacks the finish.

homestyles will provide replacements free of charge for missing or damaged parts within 30 days of purchase. Digital images of the defective parts may be required. If the product was not purchased from an authorized retailer, homestyles is under no obligation to provide replacement parts. Parts are not available for fully assembled items nor are parts available for sale. Replacements for missing or damaged parts may be requested via contact info below.
homestyles Customer Service: www.homestylesfurniture.com, [email protected], 888-680-7460
IMPORTANT
Carefully remove all the parts from the carton and place them individually on a soft cloth to prevent scratches or other damage.
Carefully and strictly follow these assembly instructions to ensure a completed product as designed.
Do not use power tools above 8 volts to assemble.


Tool(s) required for assembly: Phillips screwdriver, Level
homestyles Customer Service: www.homestylesfurniture.com, [email protected], 888-680-7460
IMPORTANT
- Use a soft cloth between these parts and the floor.
- Do not use power tools above 8 volts to assemble.
- Do not tighten all the screws until each part is properly assembled.
- The unit must be level to work properly. Use the included adjustable levelers to level.
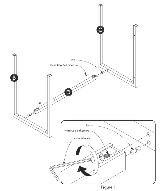
- Keep Hex Wrench as the bolts may need to be tightened in the future.
STEP 1
Attach Stretcher (D) to Side Frames (B) and (C) with Pins and Head Cap Bolts (short). Tighten Head Cap Bolts with Hex Wrench. (See Figure 1)

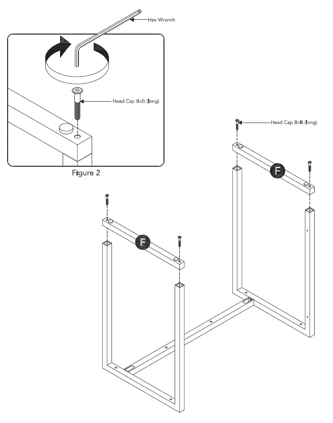
STEP 2
Attach Rails (F) to unit with Head Cap Bolts (long).
Tighten Head Cap Bolts with Hex Wrench. (See Figure 2)

STEP 3
Attach Stretcher (E) to unit with Head Cap Bolts (short). Tighten Head Cap Bolts with Hex Wrench. (See Figure 3)

STEP 4
Attach Stretcher (E) to unit with Head Cap Bolts (short). Tighten Head Cap Bolts with Hex Wrench. (See Figure 4)

STEP 5: Attach unit to Top (A) with Head Cap Bolts (long). Tighten Head Cap Bolts with Hex Wrench. (See Figure 5)

STEP 6: Turn unit over to its upright position.
Attach Tray (G) to unit with 3/4″ Flat Head Screws.
Level unit by adjusting the adjustable levelers on bottom of unit. (See Figure 6)

CARE INSTRUCTIONS
NEVER
- allow liquids to remain on furniture. Absorption causes parts to warp and split and finishes to delaminate.
- use glass cleaners on finished furniture. Ammonia chemically attacks the finish.

homestyles will provide replacements free of charge for missing or damaged parts within 30 days of purchase. Digital images of the defective parts may be required. If the product was not purchased from an authorized retailer, homestyles is under no obligation to provide replacement parts. Parts are not available for fully assembled items nor are parts available for sale. Replacements for missing or damaged parts may be requested via contact info below.
homestyles Customer Service: www.homestylesfurniture.com, [email protected], 888-680-7460


















