homestyles 5060-942 Kitchen Island Instruction Manual
IMPORTANT
Carefully remove all the parts from the carton and place them individually on a soft cloth to prevent scratches or other damage.
Carefully and strictly follow these assembly instructions to ensure a completed product as designed.
Do not use power tools above 8 volts to assemble.
Part List

Hardware List

Assembly Instructions
IMPORTANT
- Use a soft cloth between these parts and the floor.
- Do not use power tools above 8 volts to assemble.
- Do not tighten all the bolts until each part is properly assembled.
- The unit must be level to work properly. Use the included adjustable levelers to level.
- Keep Hex Wrench as the bolts may need to be tightened in the future.
STEP 1:
Place Top (A) upside down on a soft cloth.
Attach Apron (B) to Top (A) with Flat Washers, Spring Washers and Head Cap Bolts, tightening bolts only halfway. (See Figure 1)
Tighten all bolts used in this step.
STEP 2
Attach Supports (E) to unit with Flat Washers, Spring Washers and Head Cap Bolts, tightening bolts only halfway. (See Figure 2)
Attach Shelf (C) to unit with Head Cap Bolts (long), tightening bolts only halfway. (See Figure 3)
STEP 3
Attach Posts (F) to unit with Head Cap Bolts (short), tightening bolts only halfway. (See Figures 4 and 5)
STEP 4
Attach Shelf (D) to unit with Head Cap Bolts (short), tightening bolts only halfway.
STEP 5
Attach Posts (F) to unit with Head Cap Bolts (short), tightening bolts only halfway.
Tighten all bolts used in Steps 2, 3, 4 and 5.
STEP 6
Turn unit over to its upright position.
Level unit by adjusting the adjustable levelers on bottom of unit. (See Figure 6)
Note: Unit must be level to work properly.
CARE INSTRUCTIONS
NEVER allow liquids to remain on furniture. Absorption causes parts to warp and split and finishes to delaminate.
NEVER use glass cleaners on finished furniture. Ammonia chemically attacks the finish.
- Do not use power tools above 8 volts to assemble.
PREVENT CRACKING
- Do not place in direct sunlight.
PREVENT FADING
- Do not write directly on surface.
PREVENT MARKING
- Do not place hot objects on surface.
PREVENT FINISH DAMAGE
- Do not use rubber based placemats.
PREVENT DISCOLORING
- Do not use commercial waxes and polishes.
PREVENT YELLOWING
- CLEAN with a soft cloth moistened in lukewarm soap and water. Buff with a dry clean cloth.

homestyles will provide replacements free of charge for missing or damaged parts within 1 year of purchase. Digital images of the defective parts may be required. If the product was not purchased from an authorized retailer,
homestyles is under no obligation to provide replacement parts. Parts are not available for fully assembled items nor are parts available for sale. Replacements for missing or damaged parts may be requested via contact info below.
homestyles Customer Service: www.homestylesfurniture.com, [email protected], 888-680-7460
IMPORTANT
Carefully remove all the parts from the carton and place them individually on a soft cloth to prevent scratches or other damage.
Carefully and strictly follow these assembly instructions to ensure a completed product as designed.
Do not use power tools above 8 volts to assemble.
Part List

Unpacking Instructions
STEP 1
Remove top carton.
STEP 2
Remove upper wood supports by prying with a hammer. (See Figure 1)
Note: Do not hit top with hammer.

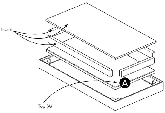
STEP 3:
Remove foam and Top (A).


























