homestyles 680112 Side Chair

IMPORTANT
- Carefully remove all the parts from the carton and place them individually on a soft cloth to prevent scratches or other damage.
- Carefully and strictly follow these assembly instructions to ensure a completed product as designed.
- Do not use power tools above 8 volts to assemble.
Part List

Hardware List

Assembly Instructions
IMPORTANT
- Use a soft cloth between these parts and the floor.
- Do not use power tools above 8 volts to assemble.
- Do not tighten all the bolts until each part is properly assembled.
- The unit must be level to work properly. Use the included adjustable levelers to level.
- Keep Hex Wrench as the bolts may need to be tightened in the future.
Assembly Instructions
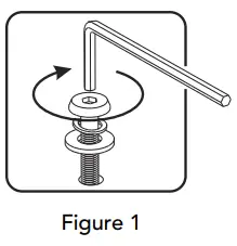
- STEP 1
Attach Seat (Q) to Back (N) with Head Cap Bolts, Spring Washers and Flat Washers, tightening bolts only halfway. (See Figure 1)

- STEP 2
Attach Back (L) to unit with Head Cap Bolts, Spring Washers and Flat Washers, tightening bolts only halfway.
- STEP 3
Attach Feet (E) to unit with Head Cap Bolts, Spring Washers and Flat Washers.
- STEP 4
- Turn unit to its upright position.
- Attach Seat Cushion (R) to unit by pushing toggles through weaving in back of unit. (See Figure 2)
- Place Back Cushions (I) and (K) into position.
- Level unit by adjusting the adjustable levelers on bottom of unit. (See Figure 3)


- Note : Two Clips (J) are included in this carton. They may be used to attach this unit to another item in this collection if other items have been purchased. (See Figure 4) Other items which may be attached to this unit include another 6801-12 Side Chair or a 6801-21 Coffee Table.


CARE INSTRUCTIONS
- NEVER allow liquids to remain on furniture. Absorption causes parts to warp and split and finishes to delaminate.
- NEVER use glass cleaners on finished furniture. Ammonia chemically attacks the finish.
- Do not use power tools above 8 volts to assemble. PREVENT CRACKING
- Do not place in direct sunlight. PREVENT FADING
- Do not write directly on surface. PREVENT MARKING
- Do not place hot objects on surface. PREVENT FINISH DAMAGE
- Do not use rubber based placemats. PREVENT DISCOLORING
- Do not use commercial waxes and polishes. PREVENT YELLOWING
- CLEAN with a soft cloth moistened in lukewarm soap and water. Buff with a dry clean cloth.
homestyles will provide replacements free of charge for missing or damaged parts within 1 year of purchase. Digital images of the defective parts may be required. If the product was not purchased from an authorized retailer, homestyles is under no obligation to provide replacement parts. Parts are not available for fully assembled items nor are parts available for sale. Replacements for missing or damaged parts may be requested via contact info below.
homestyles Customer Service: www.homestylesfurniture.com, [email protected], 888-680-7460


























