5675-80 Chair
Instructions Manual
IMPORTANT
Carefully remove all the parts from the carton and place them individually on a soft cloth to prevent scratches or other damage.
Carefully and strictly follow these assembly instructions to ensure a completed product as designed.
Do not use power tools above 8 volts to assemble.
Part List
|
|
Assembly Instructions

STEP 1
Use velcro on Seat Cushion (B) to attach to Chair (A).

STEP 2
Turn unit to its upright position.
CARE INSTRUCTIONS
Advisory Notes
- Do not use power tools above 8 volts to assemble.
- Periodic structural checks of this furniture should be undertaken. Do not use if there are any doubts about its fitness for purpose.
- Exercise care so as to not trap fingers in any of the hinged parts of this furniture.
- Always use on firm level ground, ensuring that all legs remain in contact with the ground.
- Do not stand on a chair or sit or stand on any other item.
- Do not let children play with this furniture.
- This furniture should be stored under cover during periods of adverse weather (wet or cold) and during winter. Clean and dry thoroughly before storage.
Tannin Exudation
Tannin is a naturally occurring substance which may exude from the surface of some wood species and may stain the surface of hard areas such as patios or decks. To clean tannin marks use a proprietary cleaning product or a water-based wood restorer containing oxalic acid. Stains must be removed within 1-2 days of them occurring. Care should be exercised to follow the manufacturer’s guidelines of the cleaner used and test a small area first to determine its effectiveness. This is especially important on wooden decking areas where the existing surface finish may be lifted due to the application of the cleaning agent. If decking has become discolored from the cleaning, it can be restored with a suitable wood finish.
Maintenance
In order to maintain the appearance of the wood, regular coatings of linseed oil must be applied.
The frequency will depend on the weather conditions experienced.
- Refer to the manufacturer’s guidelines of the linseed oil used.
- Apply the linseed oil with a clean cloth, wiping it directly onto the wood surface.
- Treat all surfaces of the furniture. Ensure that any hidden surfaces, such as those exposed when the furniture is turned upside down, are adequately treated. Care should be given to wipe the end grain, to all joints and to crevices that may have been caused by damage.
- Let the surface dry out. This can take 4-12 hours depending on weather conditions.
- Repeat the above steps with at least 2 more coats of oil. Extra coats may leave a semi- gloss sheen once the oil has dried, but excess oil can be wiped off with a clean cloth.
- IMPORTANT: Cloths with linseed oil may be a fire hazard. Immediately after use, saturate all cloths used for applying linseed oil with water and dispose of safely outside the home.
If left untreated, this furniture will turn a grayish color. Light sanding can restore the original color after which linseed oil can be applied. Fine surface cracks may occur over time from weathering, but these won’t affect the structural integrity of the furniture.
home styles will provide replacements free of charge for missing or damaged parts within 1 year of purchase. Digital images of the defective parts may be required. If the product was not purchased from an authorized retailer, home styles is under no obligation to provide replacement parts. Parts are not available for fully assembled items nor are parts available for sale. Replacements for missing or damaged parts may be requested via contact info below.
5675-31
Dining Table
IMPORTANT
Carefully remove all the parts from the carton and place them individually on a soft cloth to prevent scratches or other damage.
Carefully and strictly follow these assembly instructions to ensure a completed product as designed.
Do not use power tools above 8 volts to assemble.

Part List

Hardware List
| Hex Wrench 1 pc. | Small Hex Wrench 1 pc. | M8x70 Head Cap Bolt 8 pcs. (+1 extra) | Spring Washer 8 pcs. (+1 extra) | Flat Washer 8 pcs. (+1 extra) |
Assembly Instructions
IMPORTANT
- Use a soft cloth between these parts and the floor.
- Do not use power tools above 8 volts to assemble.
- Do not tighten all the bolts until each part is properly assembled.
- Keep Hex Wrench as the bolts may need to be tightened in the future.

STEP 1
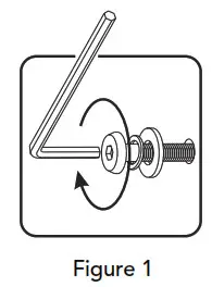
Attach Legs (B) to Top (A) with Head Cap Bolts, Spring Washers and Flat Washers, tightening bolts only halfway.
(See Figure 1)


STEP 2
Attach Legs (C) to unit with Head Cap Bolts, Spring Washers and Flat Washers, tightening bolts only halfway.
Tighten all bolts used in Steps 1 and 2.
Turn unit to its upright position.
CARE INSTRUCTIONS
Advisory Notes
- Do not use power tools above 8 volts to assemble.
- Periodic structural checks of this furniture should be undertaken. Do not use if there are any doubts about its fitness for purpose.
- Exercise care so as to not trap fingers in any of the hinged parts of this furniture.
- Always use on firm level ground, ensuring that all legs remain in contact with the ground.
- Do not stand on a chair or sit or stand on any other item.
- Do not let children play with this furniture.
- This furniture should be stored under cover during periods of adverse weather (wet or cold) and during winter. Clean and dry thoroughly before storage.
Tannin Exudation
Tannin is a naturally occurring substance which may exude from the surface of some wood species and may stain the surface of hard areas such as patios or decks. To clean tannin marks use a proprietary cleaning product or a water-based wood restorer containing oxalic acid. Stains must be removed within 1-2 days of them occurring. Care should be exercised to follow the manufacturer’s guidelines of the cleaner used and test a small area first to determine its effectiveness. This is especially important on wooden decking areas where the existing surface finish may be lifted due to the application of the cleaning agent. If decking has become discolored from the cleaning, it can be restored with a suitable wood finish.
Maintenance
In order to maintain the appearance of the wood, regular coatings of linseed oil must be applied.
The frequency will depend on the weather conditions experienced.
- Refer to the manufacturer’s guidelines of the linseed oil used.
- Apply the linseed oil with a clean cloth, wiping it directly onto the wood surface.
- Treat all surfaces of the furniture. Ensure that any hidden surfaces, such as those exposed when the furniture is turned upside down, are adequately treated. Care should be given to wipe the end grain, to all joints and to crevices that may have been caused by damage.
- Let the surface dry out. This can take 4-12 hours depending on weather conditions.
- Repeat the above steps with at least 2 more coats of oil. Extra coats may leave a semi gloss sheen once the oil has dried, but excess oil can be wiped off with a clean cloth.
- IMPORTANT: Cloths with linseed oil may be a fire hazard. Immediately after use, saturate all cloths used for applying linseed oil with water and dispose of safely outside the home.
If left untreated, this furniture will turn a grayish color. Light sanding can restore the original color after which linseed oil can be applied. Fine surface cracks may occur over time from weathering, but these won’t affect the structural integrity of the furniture.
home styles will provide replacements free of charge for missing or damaged parts within 1 year of purchase. Digital images of the defective parts may be required. If the product was not purchased from an authorized retailer, home styles is under no obligation to provide replacement parts. Parts are not available for fully assembled items nor are parts available for sale. Replacements for missing or damaged parts may be requested via contact info below.
5675-81
Arm Chair
IMPORTANT
Carefully remove all the parts from the carton and place them individually on a soft cloth to prevent scratches or other damage.
Carefully and strictly follow these assembly instructions to ensure a completed product as designed.
Do not use power tools above 8 volts to assemble.
Part List
|
|
Assembly Instructions

STEP 1
Use velcro on Seat Cushion (B) to attach to Chair (A).

STEP 2
Turn unit to its upright position.
CARE INSTRUCTIONS
Advisory Notes
- Do not use power tools above 8 volts to assemble.
- Periodic structural checks of this furniture should be undertaken. Do not use if there are any doubts about its fitness for purpose.
- Exercise care so as to not trap fingers in any of the hinged parts of this furniture.
- Always use on firm level ground, ensuring that all legs remain in contact with the ground.
- Do not stand on a chair or sit or stand on any other item.
- Do not let children play with this furniture.
- This furniture should be stored under cover during periods of adverse weather (wet or cold) and during winter. Clean and dry thoroughly before storage.
Tannin Exudation
Tannin is a naturally occurring substance which may exude from the surface of some wood species and may stain the surface of hard areas such as patios or decks. To clean tannin marks use a proprietary cleaning product or a water-based wood restorer containing oxalic acid. Stains must be removed within 1-2 days of them occurring. Care should be exercised to follow the manufacturer’s guidelines of the cleaner used and test a small area first to determine its effectiveness. This is especially important on wooden decking areas where the existing surface finish may be lifted due to the application of the cleaning agent. If decking has become discolored from the cleaning, it can be restored with a suitable wood finish.
Maintenance
In order to maintain the appearance of the wood, regular coatings of linseed oil must be applied.
The frequency will depend on the weather conditions experienced.
- Refer to the manufacturer’s guidelines of the linseed oil used.
- Apply the linseed oil with a clean cloth, wiping it directly onto the wood surface.
- Treat all surfaces of the furniture. Ensure that any hidden surfaces, such as those exposed when the furniture is turned upside down, are adequately treated. Care should be given to wipe the end grain, to all joints and to crevices that may have been caused by damage.
- Let the surface dry out. This can take 4-12 hours depending on weather conditions.
- Repeat the above steps with at least 2 more coats of oil. Extra coats may leave a semi gloss sheen once the oil has dried, but excess oil can be wiped off with a clean cloth.
- IMPORTANT: Cloths with linseed oil may be a fire hazard. Immediately after use, saturate all cloths used for applying linseed oil with water and dispose of safely outside the home.
If left untreated, this furniture will turn a grayish color. Light sanding can restore the original color after which linseed oil can be applied. Fine surface cracks may occur over time from weathering, but these won’t affect the structural integrity of the furniture.
home styles will provide replacements free of charge for missing or damaged parts within 1 year of purchase. Digital images of the defective parts may be required. If the product was not purchased from an authorized retailer, home styles is under no obligation to provide replacement parts. Parts are not available for fully assembled items nor are parts available for sale. Replacements for missing or damaged parts may be requested via contact info below.
home styles Customer Service: www.homestylesfurniture.com,
[email protected], 888-680-7460
B. Seat Cushion 1 pc.


















