HYTRONIK HC005S Super Compact On-Off HF Sensor

Technical Specifications
| Product Type: | ON/OFF Control Microwave Motion Sensor Against wireless signals interference |
| Operating Voltage: | 220-240VAC 50/60Hz |
| HF System: | 5.8GHz CW radar |
| Transmission Power: | < 0.2mW |
| Rated Load: | 800W (resistive load) 400VA (capacitive load) |
| Detection Angle: | 30~150° |
| Power Consumption: | < 0.5W |
| Detection Range : | Max. 10 meters in diameter, adjustable |
| Time Setting: | 5s ~ 30 min. |
| Mounting: | Indoors, Ceiling & walling mounted |
| Light Control: | 2~50 lux, disable |
| Working Temperature: | -20 ~ +70°C |
Dimensions (mm)

Functions
- Lux Off Function
The built-in daylight sensor can measure ambient natural light and switch off the fixture automatically whenever artificial light is not required (natural light lux level exceeds daylight threshold). - Zero-cross Relay Operation
Designed in the software, the sensor switches on/off the load right at the zero-cross point, to ensure the in-rush current is minimised, enabling the maximum life-time of the relay. - Loop-in and Loop-out Terminal
Double L N terminal makes it easy for wire loop-in and loop-out, and saves the cost of terminal block and assembly time.
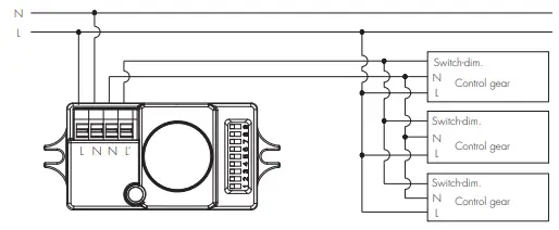
Wiring Diagram
To connect several standard control gear with 1 sensor (ON/OFF function), the wiring should be.

With Tridonic switchDIM ballast / driver ( Excel ballast/driver, corridor function) , this sensor can also achieve tri-level dimming control:

Settings
Detection Range
This determines the effective range of the motion detector and is set by DIP switches at the sensor itself, refer to figure. Note that reducing the sensitivity will also narrow the detection range. The following settings are available.

Hold Time
Select the dip switch configuration for the full brightness on-time after presense detection. Please note that this function is disabled when the natural daylight exceeds the daylight threshold setting more than 5 minutes.

Daylight Sensor
This setting holds off the 100% light output should there sufficient daylight and is set using DIP switches at the sensor, refer to figure. The following settings are available.

* In disable mode the fixture(s) will always be on with motion detection regardless of the ambient lux level.
Troubleshooting
| MALFUNCTION CAUSE REMEDY | CAUSE | REMEDY |
|
The fixture does not light up | Incorrect daylight threshold setting | Adjust daylight threshold setting |
| Faulty fixture | Replace fixture | |
| No power supply | Check power to sensor | |
| Detection zone not targeted | Check detection area setting | |
| The fixture is always on | Continous movement in the detection zone | Check detection area setting |
| The fixture is on when it should not | Sudden change in temperature due to weather (wind, rain, snow) or air expelled from fans, or open windows | Adjust zone, change installation site |


















