Marina Wash Unit 04688 / 04689 (E1 – 2023)
Instruction Manual
04688 Marina Wash Unit
Product Codes:
- 04688 – Marina Relax Wash Unit (with Leg Rest)
- 04689 – Marina Compact Wash Unit
Standard Equipment:
- Kiko basin including pre-plumbing (flexi waste)
- Monobloc mixing valve and hand spray
- Unique water saving shower head
- Laminated pod
- Steel shampoo bottle holder
- Static leg rest (04688 Model)
Optional Equipment:
- Basin neck cushion
- Bottle trap
- Hair trap
Main Construction:
- Interior plywood construction with foam toppers.
- Laminated pod
Finish:
- Any fabric & laminate from the REM range. All R E M fabrics are fire retardant to Crib5.
Features:
- Choice of any REM colour
- Steel shampoo bottle holder
Plumbing Details:
Included:
- Hot & cold flexi pipe – to fit 15mm copper pipe
- Flexi Waste – 1¼ (32mm)
Optional Extra:
- Bottle Trap A10A – 1¼ (32mm)
Fabric Finish Options:
Laminate Finish Options:
A= Fabric
B = Laminate
Wash Unit Options: 03955 Embroidery (embroidery to rear of chairs)
Optional extras must be clearly detailed at time of order.
Clear Protective Back Cover
Dimension



Instruction

NOTE: CERTAIN COMPONENTS ON THIS PRODUCT HAVE BEEN PRE-FITTED FOR YOUR CONVENIENCE. IT IS ESSENTIAL THAT A QUALIFIED PLUMBER ENSURES THESE COMPONENTS ARE WATERTIGHT BEFORE USE.
FLOOR FIXING AND WASTE PIPE HOLES
The front & rear panels must be carefully removed from the pod to gain access for installation.
The Marina Wash Unit is fixed to the floor via 8 fixing points in the base of the pod (fixings not supplied).
Plumbing can enter the pod via two 265mm x 300mm voids in base.
Please see Basin Installation Instructions and Monobloc Installation Instructions supplied separately.
FIXING MULTIPLE WASHPOINTS
When fitting more than one Marina Wash Unit it is recommended there is a 700mm gap between wash unit centres.
A package of component parts may be found to contain:
A. Mixer Valve
B. Black Rubber ‘O’ (sealing) Ring
C. Half-Moon Washer
D. Brass Rod (slotted one end for fitting purposes)
E. Brass Lock Nut
F. Hand-Spray Hose (female fittings)
G. Hand-Spray (male fittings)
H. Black Sleeve
I. Chrome Collar
J. White Rubber Washer
K. Black Lock Nut
IMPORTANT NOTICE
Salon owners should be advised to engage the services of a qualified plumber when installing wash points, not least, to ensure that there is adequate mains water pressure available, particularly where 2 or more units are in operation.
Occasionally, in low water pressure areas, a pump may be required. As a guide the water pressure should be between 1.75 -2.5 BAR equal pressure per outlet.
i) When fitting Mixer Valve, ensure Black Rubber ‘O’ Ring is correctly seated in groove in underside of Valve body. A small application of Silicone (or similar) may be required, as a supplement to the sealing ring, between the Valve body and the Basin.
ii) The Half-Moon Washer should be fitted with the ridged surface facing downward.
iii) Fit the Brass Rod and Lock-Nut but tighten only after making sure that the Valve Lever is parallel to the rear of the basin (in ‘ off position)
iv) Check both ends of the Hand-Spray Hose to ensure that there is a black rubber washer in place in each one.
v) Screw Hand-Spray into one end of Hose and feed other through Black Sleeve, Chrome Collar, and Basin. Position White Rubber Washer and Black Lock Nut on Hose before connecting other end to Valve outlet hose.
vi) Tighten the whole assembly only when Hand-Spray is seated correctly in the sleeve and points over the Basin towards the Waste outlet.
N.B. Care should be taken here to avoid scoring, or otherwise marking the Basin surface, due to the downward pressure of the Chrome Collar. (Holding the Hand-Spray in the correct position whilst tightening the assembly is the best was to carry out this operation)
OTHER NOTES
Ensure adequate Hot & Cold balanced supply to meet requirements of all units being fitted. Minimum 2.5 Bar per outlet Pump(s) may be required in Low Pressure Areas.
Please ensure that the hose and hands pray are tightened mechanically, by the use of plumbers grip or similar. REM recommend the use of a sealant tape (such as PTFE tape) between the two components Avoid use of detergents when cleaning leathercloths. (Soap and water should be adequate).
REM guarantee all Units against manufacturing fault only, for a period of twelve months.
The terms of this guarantee do not affect your Statutory Rights.
WARNINGS
- Whilst the assembly of these units is fairly straight forward, it is recommended that the fitting of the Waste (and any Monobloc Valve where ordered) is carried out by a qualified plumber
- An application of silicone or similar may be required between the basin and waste.
- REM recommend the fitting of the basin AFTER the Wash Point pods have been installed.
- REM recommend the use of a Basin Neck Cushion, available from REM (04923) to reduce the risk of VERTEBROBASILAR SYNDROME (Beauty Parlour Syndrome)
- It is crucial that any client is positioned in the Wash Units with the Basin correctly adjusted.
Plumbing Details
Included:
Hot & cold flexi pipe – to fit 15mm copper pipe
Flexi Waste – 1% (32mm)
Optional Extra:
Bottle Trap A10A – 1% (32mm) 
- Carefully unwrap components and ensure all pieces are in order.
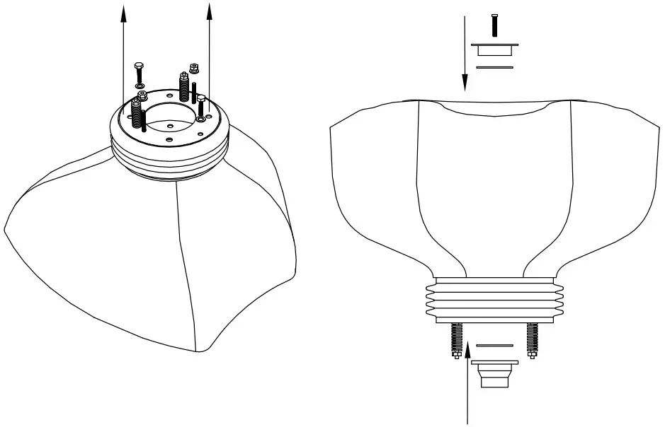
REM recommend the fitting of the basin AFTER the Wash Point pods have been installed. - Remove 2 bolts and 2 nuts along with washers from underside of tilt mechanism, these fixings are required later.
NOTE: DO NOT ADJUST OR MOVE SPRING TENSION BOLTS AT THIS POINT. - Fit basin waste as detailed in order above.

- Carefully lower basin through cutouts in top of wash point cabinet ensuring basin is pointing forwards. Fix into place using bolts, screws and washers previously removed in stage 2.
- The tension of the basin tilt mechanism can be adjusted by tightening or loosening the spring tension bolts (1).
WARNING: DO NOT ADJUST BY MORE THAN 2 FULL TURNS IN EITHER DIRECTION. Threaded bar labeled ‘A’ are fully adjustable and should be set to limit the range of the basin they can be used to set the basin from falling and hitting the front of the molded pod. - Attach the flexi-waste pipe to the underside of the basin. Attach bottle trap (04922 – if purchased) to the flexi-waste pipe (bottle trap not shown).
Fabrics:
DECLARATION OF CONFORMITY OF CERTAIN FIRE RETARDANCY STANDARDS.
BS 7176 is the British Standard which specifies the requirements for the resistance to ignition of upholstered funiture manufactured for seating or similar usage, but excluding use on domestic furniture or transport seating. Tests have been carried out on all REM products and fabrics in accordance to BS EN 1021-1: 2006 and BS EN 1021-2: 2006 which satisfy the performance requirements of Low Hazard Category of BS 7176 (resistance to ignition sources: Shouldering Cigarette and Match Flame Equivalent).
Typical examples o f humiture that are required to meet the Low Hazard Category are Schools, Colleges, Offices, and Day Centres.
All of the cloths the REM swatch are available on the majority of REM products and meet the Medium Hazard Category (Public Buildings, Restaurants, Hotel Bedrooms, Hospitals etc) of BS 7176 which is similar to the above but also includes the Ignition Source 5 testo f BS 5852: 2006.
It should be noted also, that whilst the test levels for the various hazard categories are set after careful consideration of the particular end-user environments involved, they are not intended to reflect the behaviour of the upholstery in a fully developed fire. A label is available for use on items produced in accordance with this standard, although there is no legal requirement to attach said label. These can be supplied on request at the time of ordering (printed to suit Low and Medium Hazard Only).
All products are subject to availability. REM reserves the right, without further notice, to alter the material specification of our products, if necessary to provide the highest levels of product quality.
Laminate:
Each laminate shown in the REM swatch has been carefully selected from the Polyare, Wilsonart & Egger Quality Collections o f high pressure laminates (HPL). They can all be postfire (with the exception of Alu
Brose), and are suitable for commercial use. Please note that Matt Black has a tendency to fine scratching and finger marks when applied to horizontal working surfaces.
REM has made every effort to ensure that the Laminates presented in our swatch book are as the original. All products are subject to availability. REM reserves the right, without further notice, to alter the material specification of our products, if necessary to provide the highest levels of product quality.
Please ensure that you discuss any queries with our technical staff. For more colour ideas visit www.rem.co.uk.
NOTE
REM declines all responsibility for any injury to persons or damage to property caused by installation or assembly that has not been carried out in compliance with the general warnings, and the installation instructions of the pole/base and/or wall arm. REM declines all responsibility for any injury to persons or damage to property caused by installation or assembly carried out by non-qualified persons. REM declines all responsibility for injury or damage resulting from the unsuitability of the wall for the wall hood processor and arm only.
Environmental Protection
The crossed-out wheeled bin symbol which you will find on the Rating Plate attached to your product, or appearing in the Assembly/ Operating Instructions, signifies an obligation by you as purchaser or owner, to dispose of the equipment in accordance with the European Directive 2002/96/EC. This is a statutory instrument commonly known as the ‘WEEE Regulations’, which effectively requires you to carry out disposals of all Electrical and Electronic Equipment separately from your usual waste facilities.
Specialist waste controls, designated by the Government (or Local Authorities) are to be made available to prevent potentially harmful substances affecting the environment and causing a possible human/animal health risk.
More detailed information is available from your local Environmental Health Office, Local Authority Waste Disposal Service, or the sales point from which the product was originally purchased.
REM’s Producer Registration Number is WEE/BJOO66TW
Manufacturer: REM (UK) Limited
EU Authorised Representative: Comply Express Unipessoal Limitada, Startup Madeira, EV141, Campus da Penteada, 9020 105 Funchal, Portugal
Guarantee
What this Warranty Covers
This warranty covers any product defects arising from faulty materials or workmanship; or defects arising from direct delivery transport damage. It is important to note that damages must be reported within 72 hours and are only covered for the address on the REM delivery note. Any issues relating to incorrect specification or missing components must be reported within 28 days from delivery.
What this Warranty Does Not Cover
Any problems arising from damage caused by misuse, failure to install correctly, damage caused during 3rd party transportation and storage, or fair wear and tear. (Goods delivered by the wholesaler or courier arranged by the wholesaler or end user will be classed as 3rd party transportation.)
What is the period of this Warranty?
This Warranty extends for a period of three years from date of purchase. Customers must retain their receipt from the supplying REM Distributor as proof of purchase. Any wholesaler stock items will be covered for three years, where applicable, from date of purchase from the wholesaler but exclude transport damage.
What we will do to correct problems
REM will, at its discretion, repair or replace defective products. During the first year of ownership for UK Mainland customers only, REM will supply and, at its discretions, fit replacement parts or products. In years 2 and 3 for UK Mainland customers and for years 1, 2 and 3 for all customers outside UK Mainland, REM will supply replacement parts or products at its cost.
What we will not do
REM will not be responsible for any associated costs of refitting or reinstalling any products which have been replaced nor will it be responsible for any costs incurred arising from the non-availability of its products awaiting repair or replacement.
How do you get service?
Should any problems arise with your REM product please use the REM Support Link which is found at http://www.remsupport.co.uk/.
How does this affect my statutory rights?
This three year warranty in no way affects your statutory rights and is intended as an additional safeguard and benefit for buying and using REM products.
Notable Exceptions to the warranty
- Miranda Dryer is covered by 12 month warranty only.
- Rio Mag Lamp is covered by 12 month warranty only.
- Apollo, Apollo Lux, Studio, Jupiter, Nero, Penta and Monet Trolleys are covered by 12 month warranty only.
- Airlie Couch is covered by 12 month warranty only.
- Any repairs carried out by REM personnel or accredited REM engineers have a 3 month guarantee.
Other Exceptions to the warranty
- Upholstered seats are covered by a 3 year warranty except for where cloth gathers or stretches under use.
- Dryer Pole Wing Nuts are considered a wearable part and not covered by warranty.
- Hoses for REM wash points are considered a wearable part and not covered by warranty.
- Handsets for REM electric couches are only covered by warranty for the first 12 months.
- Stained Upholstery due to hair dye and other products are not covered by warranty.
- Stained Upholstery due to denim or similar are not covered by warranty.
- Stained work surfaces due to nail varnish and similar products are not covered by warranty.
- Damaged glass components or mirrors are not covered under warranty unless the damage was occurred during delivery and reported within 72 hours.
- Visors on REM Hood Dryer are covered by warranty for transit damage only.
- Any items damaged in transit are only covered by warranty if delivered on REM vehicles or REM appointed subcontractors. Any items collected from REM by customers or where collection has been arranged by customers are not covered for any transit damage.
- Any items purchased from REM Reconditioned stock, invoiced on a code beginning with 3045 are not covered by warranty.
- Any items purchased from Ebay or similar are not covered by warranty.
REM Returns Policy
- All defects arising from faulty materials or poor workmanship; or defects arising from transport damage will be returned to REM at no cost to the customer.
- Where REM agree to replace a product, the replacement item will be charged to the customer’s account. The returned unit will be credited in full once it has been received back at REM. In cases where the reported fault cannot be found, no credit will be authorised.
- Unwanted goods, or items not meeting customer requirements; which are free from the defects listed above, un-used, and in its original packaging will be considered for credit by a duly appointed representative of REM. A minimum charge of £60 will apply and will be communicated before the returns order is processed.
- Items manufactured to the specific requirements of the customer (such as made-to-order furniture and upholstery; and bespoke furniture) are non-returnable. If the item is faulty it will be replaced or repaired at REM’s cost, as per our terms and conditions.
- REM will attempt collection of an arranged return a maximum of two times at which point the customer/wholesaler will have to arrange their own transportation for the goods to be sent back to REM or the returns note will be cancelled and any charges on the note will be applied to the account.
Please ensure that you discuss any queries with our technical staff:
REM (UK) Limited, Glenfield Mill, Glenfield Road, Nelson, Lancashire BB9 8AW
T: +44 (0)1282 619 977
F: +44 (0)1282 619 617
E: [email protected]
W: www.rem.co.uk
[email protected]
+44(0) 1282619917
OREM UK Limited
remuksalons
remuklimited
remuklimited
remuklimited
remuklimited

















