
WMC8944VB.T Washing Machine
Instruction Manual
WMC8944VB.T Washing Machine
- Sort the laundry
Close the zippers.
Empty the pockets and turn them inside out.
Check the laundry care symbols.
Sort the laundry based on how heavily soiled it is, by colour, and by material.
- Switch on the main ON/OFF switch (ON/OFF)
- Switch on the main ON/OFF and insert the laundry.
Before doing so, make sure the drum is empty. - Add the detergent and the conditioner.
Recommended detergent amount is usually indicated on the packaging.
For smaller wash loads, use a smaller amount of detergent.
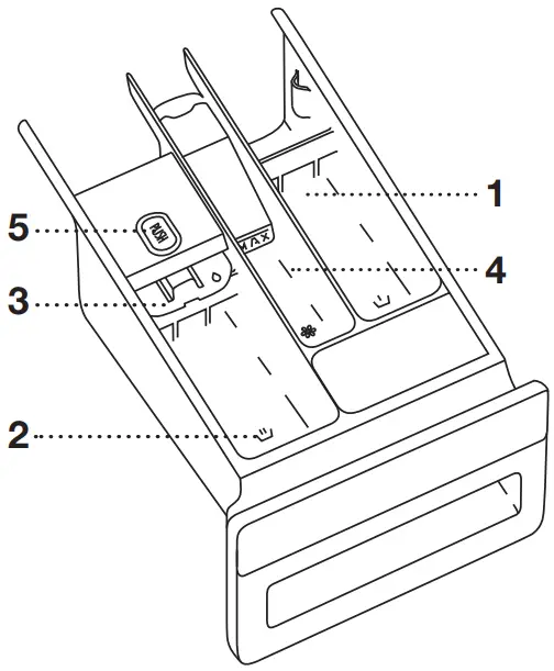
1. Prewash compartment
2. Compartment for main wash liquid detergent.
Use the foldable barrier (3).
2. Compartment for main wash powder detergent.
Do not use the foldable barrier (3).
4. Softener / conditioner compartment
5. Tab for detergent compartment removal
- Choose the washing program.
Turn the program selector knob to the desired washing program. Selected program will be indicated on the display unit. The maximum load is 9 kg (see the Program table in the instructions for use). - Choose the program setting.
Program settings can only be set for certain programs. See chapter. SETTINGS (only appliance owner/distributor may change the settings). - Close the washing machine door and press the “START” button.
Anticipated washing time, in hours and minutes, will be indicated on the display. - End of programa
Open the door and remove the laundry from the washing machine. See chapter ‘CLEANING AND MAINTENANCE”. Close the door. Switch off the main on/off switch. Close the water tap and remove the power plug from the power socket.
Error display
If an error appears on the display unit, see chapter ERRORS … WHAT TO DO …?
Safety precautions
Only use detergents intended solely for machine washing of laundry.
Keep an eye on children to make sure they do not play with the washing machine.
Do not clean the washing machine with water during operation.
ATTENTION: Be careful when taking the laundry out of the washing machine, as it could be hot.






















