![]()
DAEWOO WM710T0WU0ES Washing Machine User Manual

WM710T0WU0ES
Thank you for choosing this product.
This User Manual contains important safety information and instructions on the operation
and maintenance of your appliance.
Please take the time to read this User Manual before using your appliance and keep this
book for future reference.

1. SAFETY INSTRUCTIONS

- Do not install your machine on a carpet or such grounds that would prevent the ventilation of its base.
- The appliance is not intended for use by people (including children) with reduced physical, sensory or mental capabilities, or lack of experience and knowledge unless they have been given supervision or instruction concerning use of the appliance by a person responsible for their safety.
- Children of less than 3 years should be kept away unless continuously supervised.
- Call the nearest authorized service centre for a replacement if the power cord malfunctions.
- Use only the new water inlet hose coming with your machine when making water inlet connections to your machine. Never use old, used or damaged water inlet hoses.
- Children should not play with the appliance. Cleaning and user maintenance should not be made by children without supervision.
NOTE: For a softcopy of this user manual, please contact the following address: “washingmachine@standardtest. info”. In your e-mail, please provide the model name and serial number (20 digits) which you can find on the appliance door.
Read this user manual carefully.
Your machine is for domestic use only. Using it for commercial purposes will cause your warranty to be cancelled.
This manual has been prepared for more than one model therefore your appliance may not have some of the features described within. For this reason, it is important to pay particular attention to any figures whilst reading the operating manual.
1.1 General Safety Warnings
- The necessary ambient temperature for operation of your Washing Machine is 15-25 °C.
- Where the temperature is below 0 °C, hoses may split or the electronic card may not operate correctly.
- Please ensure that garments loaded into your Washing Machine are free from foreign objects such as nails, needles, lighters and coins.
- It is recommended that for your first wash, you select the 90˚ Cotton programme without laundry and half fill compartment II of the detergent drawer with a suitable detergent.
- Residue may build up on detergent and softeners exposed to air for a long period of time. Only put softener or detergent in the drawer at the beginning of each wash.
- Unplug your Washing Machine and switch off the water supply if the Washing Machine is left unused for a long time. We also recommend that you leave the door open to prevent build up of humidity inside the Washing Machine.
- Some water may be left in your Washing Machine as a result of quality checks during production. This will not affect the operation of your Washing Machine.
- The packaging of the machine could be hazardous to children. Do not allow children to play with the packaging or small parts from the Washing Machine.
- Keep the packaging materials in a place where children cannot reach them, or dispose of them appropriately.
- Use pre-wash programs only for very dirty laundry.
Never open the detergent drawer while the machine is running.
- In the event of a breakdown, unplug the machine from the mains supply and turn the water supply off. Do not attempt to carry out any repairs. Always contact an authorised service agent.
- Do not exceed the maximum load for the washing programme you have chosen.
Never force the door open when your Washing Machine is running.
- Washing laundry containing flour may damage your machine.
- Please follow the manufacturers’ instructions regarding the use of fabric conditioner or any similar products that you intend to use in your Washing Machine.
- Make sure that the door of your Washing Machine is not restricted and can be opened fully.
Install your machine in a location that can be fully ventilated and preferably has constant air circulation.
Read these warnings. Follow the advice given to protect yourself and others from risks and fatal injuries.
RISK OF BURNS
Do not touch the drain hose or any discharged water while your Washing Machine is running. The high temperatures involved pose a burn risk.

it must be replaced, this should only be done by qualified personnel.
Risk of flooding
- Check the speed of water flow before placing the drain hose in a sink.
- Take necessary measures to prevent the hose from slipping.
- Water flow may dislodge the hose if it is not properly secured. Make sure the plug in your sink does not block the plug hole.
Danger of Fire
- Do not store inflammable liquids near your machine.
- The sulphur content of paint removers may cause corrosion. Never use paint removing materials in your machine.
- Never use products that contain solvents in your machine.
- Please ensure that garments loaded into your Washing Machine are free from foreign objects such as nails, needles, lighters and coins.
Risk of fire and explosion
Risk of falling and injury
- Do not climb on your Washing Machine.
- Make sure hoses and cables do not cause a trip hazard.
- Do not turn your Washing Machine upside down or on its side.
- Do not lift your Washing Machine using the door or detergent drawer.

1.2 During Use
- Keep pets away from your machine.
- Please check the packaging of your machine before installation and the outer surface of the machine once the packaging has been removed. Do not operate the machine if it appears damaged or if the packaging has been opened.
- Your machine must only be installed by an authorised service agent. Installation by anyone other than an authorised agent may cause your warranty to be void.
- This appliance can be used by children aged 8 years and above and persons with reduced physical, sensory or mental capabilities or lack of experience and knowledge if they have been given supervision or instruction concerning use of the appliance in a safe way and understand the hazards involved. Children shall not play with the appliance. Cleaning and user maintenance shall not be done by children without supervision.
- Only use your machine for laundry that is labelled as suitable for washing by the manufacturer.
- Before operating the washing machine, remove the 4 transit bolts and rubber spacers from the rear of the machine. If the bolts are not removed they may cause heavy vibration, noise and malfunction of the machine and cause the guarantee to be void.
- Your warranty does not cover damage caused by external factors such as fire, flooding and other sources of damage.
- Please do not throw away this user manual; keep it for future reference and pass it onto the next owner.
NOTE: Specifications for the machine may vary depending on the product purchased.
1.3 Packaging and Environment
Removal of packaging materials
Packaging materials protect your machine from any damage that might occur during transportation. The packaging materials are environmentally friendly as they are recyclable. Use of recycled material reduces raw material consumption and decreases waste production.
1.4 Savings Information
Some important information to get the most efficient use out of your machine:
- Do not exceed the maximum load for the washing programme you have chosen. This will allow your machine to run in energy saving mode.
- Do not use the pre-wash feature for lightly soiled laundry. This will help you save on the amount of electricity and water consumed.
CE Declaration of conformity
We declare that our products meet the applicable European Directives, Decisions and Regulations and the requirements listed in the standards referenced.
Disposal of your old machine
The symbol on the product or on its packaging indicates that this product may not be treated as household waste. Instead it shall be handed over to the applicable collection point for the recycling of electrical and electronic equipment. By ensuring this product is disposed of correctly, you will help prevent potential negative consequences for the environment and human health, which could otherwise be caused by inappropriate waste handling of this product. For more detailed information about recycling of this product, please contact your local city office, your household waste disposal service or the shop where you purchased the product.
2. TECHNICAL SPECIFICATIONS


3. INSTALLATION
3.1 Removing the Transit Bolts

- Before operating the washing machine, remove the 4 transit bolts and rubber spacers from the rear of the machine.
If the bolts are not removed, they may cause heavy vibration, noise and malfunction of the machine and void the warranty. - Loosen the transit bolts by turning them anticlockwise with an appropriate spanner.
- Remove the transit bolts with a straight pull.
- Fit the plastic blanking caps supplied in the accessories bag into the gaps left by the removal of the transit bolts. The transit bolts should be stored for future use.
NOTE: Remove the transit bolts before using the machine for the first time. Faults occurring due to the machine being operated with transit bolts fitted are out of the scope of the warranty.
3.2 Adjusting the Feet /
Adjusting Adjustable Stays

- Do not install your machine on a surface (such as carpet) that would prevent ventilation at the base.
• To ensure silent and vibration-free operation of your machine, install it on a firm surface.
• You can level your machine using the adjustable feet.
• Loosen the plastic locking nut.

2. To increase the height of the machine, turn the feet clockwise. To decrease the height of the machine, turn the feet anticlockwise.
• Once the machine is level, tighten the locking nuts by turning them clockwise.
3. Never insert cardboard, wood or other similar materials under the machine to level it.
• When cleaning the ground on which the machine is located, take care not to disturb the level of the machine.
3.3 Electrical Connection

- Your Washing Machine requires a 220- 240V, 50 mains supply.
- The mains cord of your washing machine is equipped with an earthed plug. This plug should always be inserted to an earthed socket of 10 amps.
- If you do not have a suitable socket and fuse conforming with this, please ensure the work is carried out by a qualified electrician.
- We do not take responsibility for damage that occurs due to the use of ungrounded equipment.
NOTE: Operating your machine with low voltage will cause the life cycle of your machine to be reduced and its performance to be restricted.
3.4 Water Inlet Hose Connection

- Your machine may have either a single water inlet connection (cold) or double water inlet connection (hot and cold) depending on the machine specifications. The white capped hose should be connected to cold water inlet and red capped hose to the hot water inlet (if applicable).
• To prevent water leaks at the joints, either 1 or 2 nuts (depending on your machine’s specifications) are supplied in the packaging with the hose. Fit these nuts to the end(s) of the water inlet hose that connect to the water supply. - Connect new water inlet hoses to a ¾ ˝, threaded tap.
• Connect the white capped end of the water inlet hose to the white water inlet valve on the rear side of the machine and the red capped end of the hose to the red water inlet valve (if applicable).
• Hand tighten the connections. If in any doubt, consult a qualified plumber.
• Water flow with pressure of 0. 1-1 Mpa will allow your machine to operate at optimum efficiency (pressure of 0. 1 Mpa means that more than 8 litres of water per minute will flow through a fully opened tap). - Once you have made all of the connections, carefully turn the water supply on and check for leaks.
- Ensure that the new water inlet hoses are not trapped, kinked, twisted, folded or crushed.
• If your machine has a hot water inlet connection, the temperature of the hot water supply should not be higher than 70°C.
NOTE: Your Washing Machine must only be connected to your water supply using the supplied new fill hose. Old hoses must not be reused.

3.5 Water Discharge Connection

- Connect the water drain hose to a standpipe or to the outlet elbow of a household sink, using additional equipment.
- Never attempt to extend the water drain hose.
- Do not put the water drain hose from your machine into a container, bucket or bathtub.
- Make sure that the water drain hose is not bent, buckled, crushed or extended.
- The water drain hose must be installed at a maximum height of 100 cm from the ground.
4. CONTROL PANEL OVERVIEW

- Detergent Drawer
- Programme Dial
- Electronic Display
4.1 Detergent Drawer


1. Liquid Detergent Attachments
2. Main Wash Detergent Compartment
3. Softener Compartment
4. Pre-Wash Detergent Compartment
5. Powder Detergent Levels
6. Powder Detergent Scoop (*)
(*) Specifications may vary depending on the machine purchased.
4.2 Sections
Main wash detergent compartment:

This compartment is for liquid or powder detergents or limescale remover. The fluid detergent level plate will be supplied inside your machine. (*)
Fabric conditioner, starch, detergent compartment:

This compartment is for softeners, conditioners or starch. Follow the instructions on the packaging. If softeners leave residue after use, try diluting them or using a liquid softener.
Pre-wash detergent compartment:

This compartment should be used only when the pre-wash feature is selected. We recommend that the pre-wash feature is used only for very dirty laundry.
(*) Specifications may vary depending on the machine purchased.
4.3 Program Dial

- To select the desired programme, turn the programme dial either clockwise or anti-clockwise until the marker on the programme dial points to the chosen programme.
- Make sure that the programme dial is set exactly to the programme you want.
4.4 Electronic Display

- Electronic Display
- Digital Display
- Water Temperature Adjustment Button
- RPM Speed Adjustment Button
- Delayed Start Additional Function
- Start/Pause Button
- Start/Pause Button Lamp
The display panel shows the washing delay timer (if set), temperature selection, spin speed. The display panel shows “–” when the selected programme is complete. The display panel also indicates if a fault has occurred with your machine.
5. USING YOUR WASHING MACHINE
5.1 Preparing Your Laundry

- Follow the instructions given in the care labels on the clothing.
• Separate your laundry according to type (cotton, synthetic, sensitive, wool etc. ), washing temperature (cold, 30°, 40°, 60°, 90°) and the degree of dirtiness (slightly stained, stained, highly stained). - Never wash coloured and white laundry together.
• Dark textiles may contain excess dye and should be washed separately several times. - Ensure that there are no metallic materials on your laundry or in the pockets; if so, remove them.
CAUTION: Any malfunctions which occur due to foreign materials damaging your machine are not covered by the warranty. - Close zips and fasten any hooks and eyes.
- Remove the metallic or plastic hooks of curtains or place them in a washing net or bag.
- Reverse textiles such as pants, knitwear, t-shirts and sweat shirts.
- Wash socks, handkerchiefs and other small items in a washing net.

5.2 Putting Laundry in the Machine

- Open the door of your machine.
- Spread your laundry evenly in the machine.
NOTE: Take care not to exceed the maximum load of the drum as this will give poor wash results and cause creasing. Refer to the washing programme tables for information on load capacities.
The following table shows approximate weights of typical laundry items:

- Load each item of laundry separately.
- Check that no items of laundry are trapped between the rubber seal and the door.
- Gently push the door until it clicks shut.

- Make sure the door is fully closed, otherwise the programme will not start.
5.3 Adding Detergent to the Machine
The amount of detergent you will need to put in your machine will depend on the following criteria:
- If your clothes are only slightly soiled, do not pre-wash. Put a small amount of detergent (as specified by the manufacturer) into compartment II of the detergent drawer.
- If your clothes are excessively soiled, select a programme with pre-wash and put ¼ of the detergent to be used into compartment I of the detergent drawer and the rest in compartment II.
- Use detergents produced for automatic washing machines. Follow the manufacturer’s instructions on the amount of detergent to use.
- In areas of hard water, more detergent will be required.
- The amount of the detergent required will increase with higher washing loads.
- Put softener in the middle compartment of the detergent drawer. Do not exceed the MAX level.
- Thick softeners may cause clogging of the drawer and should be diluted.
- It is possible to use fluid detergents in all programmes without a pre-wash. To do this, slide the fluid detergent level plate (*) into the guides in compartment II of the detergent drawer. Use the lines on the plate as a guide to fill the drawer to the required level.
(*) Specifications may vary depending on the machine purchased.
5.4 Operating Your Machine

- Plug your machine in to the mains supply.
- Turn on the water supply.
• Open the machine door.
• Evenly spread your laundry in the machine.
• Gently push the door until it clicks shut.
5.5 Selecting a Programme
Use the programme tables to select the most appropriate programme for your laundry.
5.6 Half-Load Detection System
Your machine features a half-load detection system.
If you put less than half the maximum load of laundry into your machine it will automatically set the half-load function, regardless of the programme you selected.
This means that the selected programme will take less time to complete and will use less water and energy.
5.7 Additional Functions
1. Temperature Selection
Use the washing water temperature adjustment button to alter the automatically programmed washing water temperature.

When you select a programme the maximum temperature for that programme is automatically selected. To adjust the temperature, press the water temperature adjustment button until the desired temperature is displayed on the digital display.
You can gradually decrease the washing water temperature between the maximum washing water temperature of the selected programme and cold washing (- C) selections by pressing the temperature adjustment button.
2. Spin Speed Selection

When you select a programme, the maximum spin speed is automatically selected.
To adjust the spin speed between the maximum spin speed and the cancel spinning option (- -), press the Spin speed button until the desired speed is displayed.
If you have skipped the spin speed you want to set, keep pressing the spin speed adjustment button until the desired spin speed is displayed again.
3. Delay Timer

You can use this auxiliary function to delay the start time of the washing cycle for 1 to 23 hours .
To use the delay function:

NOTE: In the case that you want to select the auxiliary function feature, if the auxiliary function LED is not on, this means that this feature is not being used in the washing programme you have selected.
Start/Pause button

By pressing on the Start/Pause button, you may start the programme you have selected or suspend a running programme.
If you switch your machine to the standby mode, the Start/Pause led on the electronic display will blink.
5.8 Child Lock
The Child Lock function allows you to lock the buttons so that the wash cycle you have chosen cannot be changed unintentionally.
To activate child lock, press and hold button 2 and 3 simultaneously for at least 3 seconds. ‘’CL’’ will flash on the electronic display for 2 seconds when the child lock is activated.

If any button is pressed or selected programme is changed by the programme dial while the child lock is active, the “CL” symbol will flash on the electronic display for 2 seconds.
If the child lock function is active and a programme is running, when the programme dial is turned to the CANCEL position and another programme is selected the previously selected programme continues from where it was left.
To deactivate the child lock, press and hold button 2 and 3 simultaneously for at least 3 seconds until the “CL” symbol on the electronic display disappears.
5.9 Cancelling the Programme
To cancel a running programme at any time:
- Turn the programme dial to the “STOP” position.
- Your machine will stop the washing operation and the programme will be cancelled.
- Turn the programme dial to any other programme to drain the machine.
- Your machine will perform the necessary draining operation and cancel the programme.
- You can now select and run a new programme.
5.10 Programme End

Your machine will stop by itself as soon as the programme you have selected finishes.
- “- -” will flash on the electronic display.
- You can open the machine’s door and remove the laundry.
- Leave the door of your machine open to allow the inner part of your machine to dry.
- Switch the programme dial to STOP position.
- Unplug your machine.
- Turn the water tap off.
6. PROGRAMME TABLE


NOTE: PROGRAMME DURATION MAY CHANGE ACCORDING TO THE AMOUNT OF LAUNDRY, TAP WATER, AMBIENT TEMPERATURE AND SELECTED ADDITIONAL FUNCTIONS.
(*) Washing water temperature of the programme is the factory default.
(**) Due to the short washing time of this programme, we recommend that less detergent is used. The programme may last longer than 15 minutes if your machine detects an uneven load. You can open the door of your machine 2 minutes after the completion of a washing operation. (The 2 minute period is not included in the programme duration). According to regulation 1015/2010 and 1061/2010, the programme 1 and the programme 2 are respectively the ‘Standard 60°C cotton programme’ and the ‘Standard 40°C cotton programme’.
The Eco 40-60 programme is able to clean normally soiled cotton laundry declared to be washable at 40°C or 60°C, together in the same cycle, and that this programme is used to assess the compiance with the EU ecodesign legislation.
- The most efficient programmes in terms of energy consumption are generally those that perform at lower temperatures and longer duration.
- Loading the household washing machine up to the capacity indicated by the manufacturer for the respective programmes will contribute to energy and water savings.
- Program duration, energy consumption and water consumption values may vary according to wash load weight and type, selected extra functions, tap water and ambient temperature.
- It’s recommended to use liquid detergent for the washing programmes at low temperature. The amount of detergent to be used may vary depending on the amount of laundry and the level of dirtiness of the laundry. Please follow the detergent manufacturers’ recommendations for the amount of the detergent to be used.
- The noise and remaining moisture content are influenced by the spinning speed. The higher spinning speed in the spinning phase, the higher noise and the lower remaining moisture content.
- You can access the product database where the model information is stored by reading the QR code on the energy label.

6.1 Important Informations
- Use detergents, softeners and other additives suitable for automatic washing machines only. Excessive foam has occurred and automatic foam absorption system has been activated due to too much detergent usage.
- We recommend that periodic cleaning for washing machine every 2 months. For periodic cleaning please use Drum Clean programme. If your machine do not have Drum Clean programme, use Cottons-90 programme. When required, use limescale removers manufactured specifically for washing machines only.
- Never force the door open when your Washing Machine is running. You can open the door of your machine 2 minutes after the completion of a washing operation. *
- Never force the door open when your Washing Machine is running. The door will open immediately after the washing cycle has ended. *
- The installation and repairing procedures should always carried out by the Authorised Service Agent in order to avoid possible risks. The manufacturer shall not be held liable for damages that may arise from procedures carried out by unauthorised persons.
(*) Specifications may vary depending on the machine purchased.
7. CLEANING AND MAINTENANCE
7.1 Warning

Turn your mains power supply off and remove the plug from the socket before carrying out maintenance and cleaning of your machine.
Turn off the water supply before starting maintenance and cleaning of your machine.
CAUTION: Do not use solvents, abrasive cleaners, glass cleaners or all-purpose cleaning agents to clean your Washing Machine. They may damage the plastic surfaces and other components with the chemicals they contain.
7.2 Water Inlet Filters
Water inlet filters prevent dirt and foreign materials from entering your machine. We recommend that these filters are cleaned when your machine is unable to receive sufficient water, although your water supply is on and the tap is open. We recommend that you clean your water inlet filters every 2 months.

- Unscrew the water inlet hose(s) from the Washing Machine.
- To remove the water inlet filter from the water inlet valve, use a pair of longnosed pliers to gently pull on the plastic bar in the filter.
- A second water inlet filter is located in the tap end of the water inlet hose. To remove the second water inlet filter, use a pair of long-nosed pliers to gently pull on the plastic bar in the filter.
- Clean the filter thoroughly with a soft brush and wash with soapy water and rinse thoroughly. Re-insert the filter by gently pushing it back into place.
CAUTION: The filters at the water inlet valve may become clogged due to water quality or lack of required maintenance and may break down. This may cause a water leak. Any such breakdowns are out of the scope of the warranty.
7.3 Pump Filter

The pump filter system in your Washing Machine prolongs the life of the pump by preventing lint from entering your machine.
We recommend that you clean the pump filter every 2 months.
The pump filter is located behind the cover on the front-lower right corner.
To clean the pump filter:
- You may use the washing powder spade (*) supplied with your machine or liquid detergent level plate to open the pump cover.
- Lodge the end of the powder spade or liquid detergent level plate in the opening of the cover and gently press backwards. The cover will open.
• Before opening the filter cover, place a container under the filter cover to collect any water left in the machine.
• Loosen the filter by turning anticlockwise and remove by pulling. Wait for the water to drain.
NOTE: Depending on the amount of water inside the machine, you may have to empty the water collection container a few times.
3. Remove any foreign materials from the filter with a soft brush.
4. After cleaning, re-fit the filter by inserting it and turning clockwise.
5. When closing the pump cover, ensure that the mountings inside the cover meet the holes on the front panel side.
6. Close the filter cover.
WARNING: The water in the pump may be hot, wait until it has cooled down before carrying out any cleaning or maintenance.
(*) Specifications may vary depending on the machine purchased.
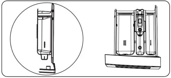
7.4 Detergent Drawer
The use of detergent may cause residual build up in the detergent drawer over time. We recommend that you remove the drawer every 2 months to clean the accumulated residue.
To remove the detergent drawer:
• Pull the drawer forwards until it is fully extended.

- Press the region shown below inside the detergent drawer you have pulled all the way back, and continue pulling and remove the detergent drawer from its place

- Remove the detergent drawer and disassemble the flush stopper. Clean thoroughly to completely remove any softener residue. Refit the flush stopper after cleaning and check that it is seated properly.

- Rinse with a brush and lots of water.
- Collect the residues inside the detergent drawer slot so that they don’t fall inside your machine.
- Dry the detergent drawer with a towel or dry cloth and place it back
Do not wash your detergent drawer in a dishwasher.
Liquid detergent apparatus(*)
For the cleaning and maintenance of the liquid level detergent apparatus, remove the apparatus from its location as shown in the picture below, and thoroughly clean the remaining detergent residues. Replace the apparatus. Make sure that no residual material remains inside the siphon.
(*) Specifications may vary depending on the machine purchased.
8. Body / Drum

1. Body
Use a mild, non-abrasive cleaning agent, or soap and water, to clean the external casing. Wipe dry with a soft cloth.
2. Drum
Do not leave metallic objects such as needles, paper clips, coins etc. in your machine. These objects lead to the formation of rust stains in the drum. To clean such rust stains, use a non-chlorine cleaning agent and follow the instructions of manufacturer of the cleaning agent. Never use wire wool or similar hard objects for cleaning rust stains.
9. TROUBLESHOOTING
Repair of your machine should be carried out by an authorised service company. If your machine requires repair or if you cannot solve an issue with the information provided below, then you should:
- Unplug your machine from the mains power supply.
- Turn off the water supply.




(*) See the chapter regarding maintenance and cleaning of your machine.
(**) See the chapter regarding installation of your machine.
10. AUTOMATIC FAULT WARNINGS AND WHAT TO DO
Your Washing Machine is equipped with a built-in fault detection system, indicated by a combination of flashing wash operation lights. The most common failure codes are shown below.

(*) See the chapter regarding maintenance and cleaning of your machine.
www: https://daewooelectronics.com/
Address: https://daewooelectronics.com/service

Read More About This Manual & Download PDF:


















