WMC6743PB.T Washing Machine

Product Information
The washing machine is a household appliance designed for washing laundry such as clothes, sheets, and towels. It has a drum where laundry is loaded, and it functions by agitating the laundry in water and detergent to remove dirt and stains. The machine features different washing programs that cater to different needs and fabrics. It also has compartments for detergent, softener, and pre-wash agents.
Product Usage Instructions
- Sort the laundry according to how heavily soiled it is, by color, and by material. Close zippers, empty pockets, and turn clothes inside out.
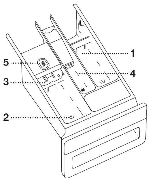
- Turn on the main ON/OFF switch.
- Open the washing machine door and load the laundry. Make sure the drum is empty before doing so.
- Add the recommended amount of detergent and softener to their respective compartments. For smaller wash loads, use a smaller amount of detergent.
- Choose the desired washing program by turning the program selector knob. The selected program will be displayed on the unit’s display.
- If applicable, set the desired program settings. Only some programs have programmable settings.
- Close the washing machine door and press the START button. The estimated time for the wash cycle will be displayed on the unit’s display.
- After the wash cycle is complete, open the machine door and remove the laundry. Refer to the cleaning and maintenance section for instructions on cleaning the washing machine.
- Turn off the main ON/OFF switch, close the water tap, and unplug the machine from its socket.
Note that using laundry detergents that are intended for machine use only is recommended. It is also important to keep children away from the machine during operation and to not clean the machine with water while in use. Be careful when handling hot laundry after the cycle has completed.
WASHING GUIDE
Sort the laundry.
Close the zippers.
Empty the pockets and turn them inside out. Check the laundry care symbols.
Sort the laundry based on how heavily soiled it is, by color, and by material.

Switch on the main ON/OFF switch (ON/OFF)
Open the washing machine door and insert the laundry.
Before doing so, make sure the drum is empty.
Add the detergent and the conditioner.
Recommended detergent amount is usually indicated on the packaging.
For smaller wash loads, use a smaller amount of detergent.
- Prewash compartment
- Compartment for main wash liquid detergent. Use the foldable barrier (3).
- Compartment for main wash powder detergent. Do not use the foldable barrier (3).
- Softener / conditioner compartment
- Tab for detergent compartment removal


Choose the washing program.
Turn the program selector knob to the desired washing program.
Selected program will be indicated on the display unit.
The maximum load is 9 kg (see the Program table in the instructions for use).
Choose the program setting.
Program settings can only be set for certain programs.
See chapter: SETTINGS (only appliance owner/distributor may change the settings).
Close the washing machine door and press the ”START” button.
Anticipated washing time, in hours and minutes, will be indicated on the display.
End of programa
Open the door and remove the laundry from the washing machine.
See chapter “CLEANING AND MAINTENANCE”.
Close the door.
Switch off the main on/off switch.
Close the water tap and remove the power plug from the power socket.
Error display
If an error appears on the display unit, see chapter ERRORS … WHAT TO DO …?
Safety precautions
- Only use detergents intended solely for machine washing of laundry.
- Keep an eye on children to make sure they do not play with the washing machine.
- Do not clean the washing machine with water during operation.
- ATTENTION: Be careful when taking the laundry out of the washing machine, as it could be hot.





















