VIDALITE CE1008827 Ma’or Modern LED Linear Black Flush Mount Rotatable Installation Guide
INSTALLATION
- Unpack and take out the fixture / accessory bag.

- Remove the mounting plate from the fixture, then turn off the power.

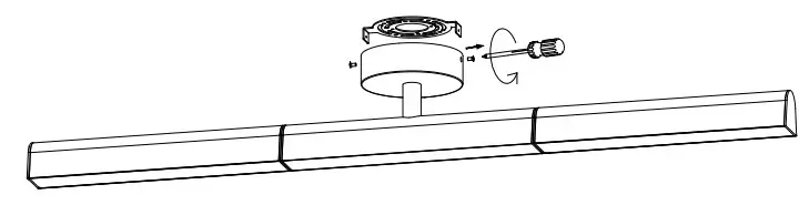
- Secure the mounting plate to the ceiling.

- Connect the wires according to the schematic diagram above

- Secure the canopy with screws on the mounting plate.

- Turn on the power
























