OVE 15LSF-SUMA11-LBS Sumaya 1-Light 11.02-Inch Brass LED Semi-Flush Mount Light

DIMENSION

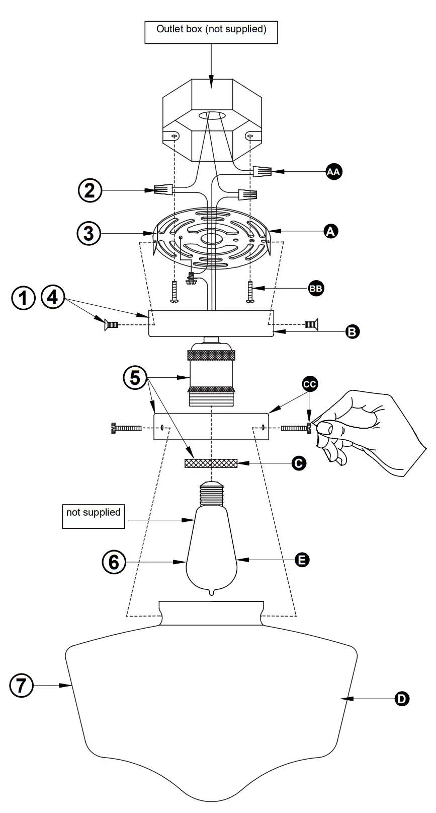
PART LIST
| PART# | DESCRIPTION | QUANTITY |
| A | Mounting plate | 1 |
| B | Canopy | 1 |
| C | Nut | 1 |
| D | Diffuser | 1 |
| E | Bulb (not supplied) | 1 |
SUPPLIED HARDWARE LIST

TOOLS REQUIRED (not supplied)
- Ladder

- Screwdriver

- Wire cutter

- Wire stripper

- Safety goggles

SAFETY INFORMATION
CAUTION
Read carefully the following before starting the installation:
- Before starting the installation of this fixture or the removal of a previous fixture, disconnect the power by turning off the circuit breaker or by removing the fuse at the fuse box.
- If you have any doubts or questions about the installation of this fixture, consult a qualified electrician.
- Carefully unpack this fixture, handle with care and place on a soft surface to prevent scratching.
- Before beginning assembly of product, make sure all parts are present. Compare parts with package contents list and hardware contents list. If any part is missing or damaged, do not attempt to assemble the product.
INSTALLATION
Caution: The bolt should be installed only finger tight. Do not over tighten as this can lead to potential breakage of the diffuser.

- Uninstall the canopy (B) from the mounting plate (A).
- Pass the electrical wires of the lamp through the mounting plate (A). Connect the lamp’s white wire to white wire (neutral wire) from the outlet box using the twist-cap connectors (AA). Connect the lamp’s black wire to black wire (live wire) from the outlet box using the twistcap connectors (AA). Fix the lamp’s grounding wire to the mounting plate (A) by wrapping it around the bolt, and then tightening the bolt. Connect the lamp’s grounding wire to grounding wire from the outlet box with a twist-cap connector (AA). Safely stuff the wires inside your outlet box.
- Install the mounting plate (A) to your outlet box with bolts (BB).
- Re-install the canopy (B) onto the mounting plate (A). Strongly tighten the bolts.
- Uninstall the nut (C) from the lamp, install the cover (CC) onto the lamp with the nut (C).
- Carefully install the bulb (E) onto the lamp.
Caution: The bolt should be installed only finger tight. Do not over tighten as this can lead to potential breakage of the diffuser. - Install the diffuser (D) onto the cover (CC) with the provided bolts, just lock the diffuser in place, do not overtighten.
CONSUMER RESPONSIBILITIES
The DISTRIBUTOR’s products will remain beautiful for many years if you properly care for them.
The DISTRIBUTOR does not recommend the use of harsh abrasive cleansers on any of its products. Harsh cleansers will damage the finish of your product. This warranty applies only to the original purchaser and
MAINTENANCE
- For daily maintenance, use a dry cloth.
- Never use abrasive cleaners or strong bleach, scrapers, metallic brushes, or other objects or any products which can graze or tarnish surfaces.
LIMITED 1 YEAR WARRANTY
This warranty extends only to the original owner user for personal household use only. For commercial uses, additional limitations may apply.
- The DISTRIBUTOR warrants your satisfaction with each product. Should any product not meet your satisfaction due to a visual defect, simply return it to your retailer with the original packaging, PRIOR TO INSTALLATION, for a replacement.
- The DISTRIBUTOR warrants, products to be free from defects in workmanship and materials under normal use and service for a period of one (1) year.
- The DISTRIBUTOR will, at its election, repair, replace, or make appropriate adjustment where the DISTRIBUTOR optional inspection discloses any such defects occurring in normal usage within the warranty periods.
- Please note that the DISTRIBUTOR is not responsible for installation or removal costs.
- Modification of any product’s components may void the warranty. This warranty does not cover any claim arising from abuse, misuse, negligence, accident, improper installation or operation on the part of the purchaser. This warranty is void if the DISTRIBUTOR’s product is subject to alterations, or if repairs were done to the product.
- This warranty does not extend to any components installed by dealers, installers or by any party other than the DISTRIBUTOR.
- Implied warranties, including that of merchantability or fitness for a particular purpose, are expressly limited in duration to the duration of this warranty.
- The DISTRIBUTOR disclaims any liability for special, incidental or consequential damages.
Questions, problems, need help?
Call our customer service department at
1-866-839-2888, 8 a.m. – 5 p.m., EST, Monday – Friday






SAFETY INFORMATION
















