Antari MB-55 Pumpless Off-Mains Capable Fog Machine

Safety Information
Please read the following safety information carefully before operating the machine. This information includes important safeguards about installation, usage, and maintenance. Pay attention to all warning labels and instructions in this manual and printed on the machine.
If you have questions about how to operate the machine safely, please contact your local Antari dealer for help.
- Keep this device dry.
- Always connect to a grounded circuit to avoid risk of electrocution.
- Before connecting machine to power, always check the voltage indicated on machine matches to your local AC voltage. Do not use the machine if the AC power voltage does not match.
- Disconnect the machine from AC power before servicing and when not in use.
- This product is for indoor use only! Do not expose to rain or moisture. If fluid is spilled, disconnect AC power and clean with a damp cloth. If fluid is spilled onto electronic parts, immediately unplug the machine and contact your local Antari dealer for advice.
- No user serviceable and modifiable parts inside. Never try to repair this product, an unauthorized technician may cause damage or malfunction to the machine.
- For adult use only. Never leave the machine running unattended.
- Install the machine in a well-ventilated area. Provide at least 50 cm of space around the machine.
- Never add flammable liquid of any kind to the machine.
- Make sure there are no flammable materials close to the machine while operating.
- Only use Antari aerosols. Other aerosols may lead to heater clog and malfunction.
- Remove aerosols after use.
- If the machine fails to work, unplug the machine and stop operation immediately.
- Contact your local Antari dealer for advice.
- Before transporting the machine, make sure the aerosols is removed
- Fog fluid may present health risks if swallowed. Do not drink fog fluid. Store it securely.
- In case of eye contact or if fluid is swallowed, immediately look for medical advice.
Unpacking and Inspection
Immediately upon receiving the machine, carefully unpack the carton, check the content to ensure that all parts are present and have been received in good condition. If any parts appear damaged or mishandled from shipping, notify the shipper immediately and retain the packing material for inspection.
What is included:
- 1 x MB-55 Fog Machine
- 1 x Power Cord
- 1 x FC-1 Remote Control
- 1 x User Manual
Product Dimensions

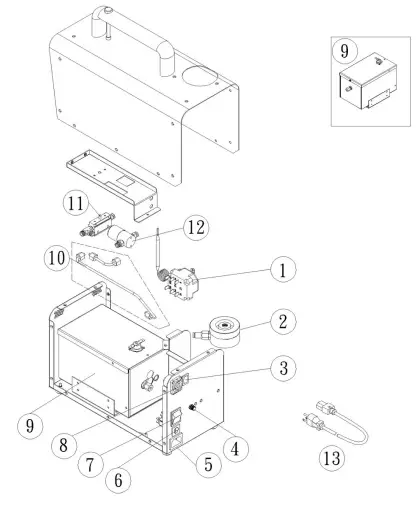
Product Overview

Operation
- Step 1: Place the machine on a flat surface and in a suitably large area with at least 50 cm open space around the machine.
- Step 2: Ensure that there are not any foreign objects in the threaded aerosol insert. Align aerosol valve with threaded insert and carefully turn clockwise to fix into position. Aerosol should be screwed in tightly to create an effective seal.

- Step 3: Connect the machine to a suitably rated power supply. To determine the power requirement for the machine refer to the label on the back of the machine.
Always connect the machine to a protected circuit and ensure it is properly grounded to avoid risk of electrocution. - Step 4: Turn on the machine and allow it to heat up. Heat up takes approximatly 7.5 mintues. Once the machine has reached operating temperature, the LED inidcator located in the back panel will turn solid green. Now the machine is ready for operation.
- Step 5: To start making fog, press and hold the push button on handle bar, release to stop.
- Step 6: To adjust output volume, rotate the knob located in back panel. Turn counter-clockwise to increase, clockwise to decrease.
- Step 7: To turn off the machine, flip the power switch to OFF position. Remove aerosol and power cord.
MC-1 Remote Control Operation
To operate the machine by remote control, connect the remote to the rear of machine. Press and hold the button to activate, release button to stop.

Note: Remote control operation only available when the machine is connected to a main power source.
FCR-1 Wireless Operation (Optional)
To operate the machine by wirless remote control, first connect the receiver to the rear of machine. Press and hold the button on the transmiiter to activate smoke, release to stop.

Note: Wireless operation only available when machine connected to a power source.
Off Power Operation
- MB-55 can operate plugged in once it has reached working temperature. The amount of smoke produced depends on its temperature cycle when it is disconnected. With a complete heating cycle the machine can generate smoke up to 45 minutes after disconnection.
- The quality of fog must be carefully observed while operating disconnected to a main power source. When smoke has become thin and blue indicates the temperature is getting low. Reconnect machine to a main power source for heating process, once it has reached working temperature it can be operated off disconnected again.
MB-55 might eject fluid when working temperature is not reached.
Aerosols
Only use Antari FLP-700 aerosol for the MB-55 Fog Machine. The machine is tested and calibrated with this aerosol to get the best output performance. Warranty will be voided if any other type of aerosol is used, improper use of aerosol may lead to machine failure or malfunction.
Service and Maintenance
- Do not allow the machine to become contaminated.
- Remove dust from air vents with air compressor, vacuum or a soft brush.
- Only use a damp cloth to clean the casing.
- Before storing run distilled water through the system to help avoid condensing the pump or heater.
- It is recommended to run the machine on a monthly basis in order to achieve best performance and output condition.
- Excessive dust, liquid and dirt built up will degrade performance and cause overheating.
Breaker Reset
Disconnect AC power before resetting the breaker. Only replace fuse with same type and rating.
- Step 1: Disconnect AC power.
- Step 2: Flip breaker to ON position.
- Step 3: Turn on machine for testing.
Breaker
- 120V = 15A 250V
- 230V = 8A 250V
Technical Specifications
- Input voltage
- US model : AC 100-120V, 50 / 60Hz 15A
EU model : AC 220-240V, 50 / 60Hz 8A
- US model : AC 100-120V, 50 / 60Hz 15A
- Rated power: 1450W
- Warm-up time: 7.5 minutes (approx.)
- Fluid consumption: 110 ml/min
- Compatible fluid: Antari FLP-700 aerosol
- Ambient temp. range: 0 °C – 40 °C (32 °F – 104 °F)
- Control
- Manual
- Wireless (Optional)
- Connection: IEC (Power)
- Optional accessories: FCR-1 Wireless Remote
- Dimension
- L346 W152 H251 mm
- (L13.62 W5.98 H9.88 inch)
- Weight: 10.2 kg (22.49 lbs)
PRODUCT DESCRIPTION





















