30 and 36 Inch Electric Cook top
Installation Guide
BEFORE YOU BEGIN
Read these instructions carefully and completely.
- IMPORTANT — Save these instructions for local inspector’s use.
- IMPORTANT — Observe all governing codes and ordinances.
- Note to Installer – Be sure to leave these instructions with the consumer.
- Note to Consumer – Keep these instructions for future reference.
- Product failure due to improper installation is not covered under the Warranty.
WARNING This appliance must be properly grounded.- ATTENTION INSTALLER
ALL COOKTOPS MUST BE HARD WIRED (DIRECT WIRED) INTO AN APPROVED JUNCTION BOX. A “PLUG AND RECEPTACLE” IS NOT PERMITTED ON THESE PRODUCTS. - Proper installation is the responsibility of the installer and product failure due to improper installation is NOT covered under warranty.
- Consider recycling options for your appliance packaging material.
PARTS INCLUDED

MATERIALS YOU WILL NEED

TOOLS NEEDED

CUTTING THE COUNTER TOP
If you are installing the cooktop in a solid surface material such as granite, quartz or any other natural or synthetic solid surface, we recommend that the cutout be prepared by a professional cabinet or counter top installer.
Cook top cutouts in wood or wood-laminate counter tops may be able to be prepared using a saber saw and electric drill.
IMPORTANT SAFETY INSTRUCTIONS
FOR YOUR SAFETY
- For Personal Safety, remove house fuse or open circuit breaker before beginning installation. Failure to do so could result in serious injury or death.
- Be sure your cooktop is installed properly by a qualified installer or service technician.
- To eliminate the risk of burns or fire due to reaching over heated surface elements, cabinet storage located above the surface units should be avoided. If cabinet storage space is to be provided, the risk can be reduced by installing a range hood that projects horizontally a minimum of 5″ beyond the bottom of the cabinets. Cabinet installation above the cooktop may be no deeper than 13″.
- Make sure the cabinets and wall coverings around the cooktop can withstand the temperatures (up to 200°F) generated by the cooktop.
- The cooktop should be easy to reach and lighted with natural light during the day.
- Always disconnect the electrical service to the cooktop before repairing or servicing the cooktop. This can be done by disconnecting the fuse or circuit breaker. Failure to do this could result in a dangerous or fatal shock. Know where your main disconnect switch is located. If you do not know, have your electrician show you.
NOTE TO ELECTRICIAN: The power leads supplied with this appliance are UL recognized for connections to larger gauge household wiring. The insulation of these leads is rated at temperatures much higher than the temperature rating of household wiring. The current carrying capacity of a conductor is governed by the wire gauge and also the temperature rating of the insulation around the wire.
NOTE: ALUMINIUM WIRING
WARNING INSTALLATIONS WITH ALUMINIUM HOUSE WIRING REQUIRE ATTENTION:
A. Improper connection of Aluminium house wiring to appliance copper leads can result in an electrical hazard or fire. Use only connectors designed for joining copper to aluminium and follow the manufacturer’s recommend procedure closely.
B. Aluminium to Copper wiring connections must conform with the National Electrical code, local codes and industry-accepted wiring practices.
C. If an anti-oxidant compound is added to the wiring connectors, the compound should be UL-Listed and suitable for the application materials, voltage and temperature.
D. Connectors for joining Aluminium and Copper wiring may be larger in size than standard connectors. It is recommended to use a double gang, or larger, electrical box to enclose the connectors joining Aluminium and Copper wiring.
ELECTRICAL REQUIREMENTS
This appliance must be supplied with the proper voltage and frequency, and connected to an individual, properly grounded branch circuit, protected by a circuit breaker or a time delay fuse as noted on name plate and the chart below.
| KW Rating 240 v | KW Rating 208 V | Recommended Circuit Size (Dedicated) |
| ≤ 4.8 KW | ≤ 4.1 KW | 20 Amp |
| 4.9 KW – 7.2 KW | 4.2 KW – 6.2 KW | 30 Amp |
| 7.3 KW – 9.6 KW | 6.3 KW – 8.3 KW | 40 Amp |
| 9.7 KW – 12.0 KW | 8.4 KW – 10.4 KW | 50 Amp |
We recommend you have the electrical wiring and hookup of your cooktop connected by a qualified electrician. After installation, have the electrician show you where your main cooktop disconnect is located.
Wiring must conform to National Electrical Code. You can get a copy of the National Electrical Code, ANSI/NFPA No. 70-Latest Edition, by writing to:
National Fire Protection Association
Battery march Park
Quincy, MA 02269
In Canada, wiring must conform to Canadian Electrical Code (CEC).
The cooktop conduit wiring is approved for copper wire connection only, and if you have aluminium house wiring, you must use special UL approved connectors for joining copper to aluminium. In Canada, you must use special CSA approved connectors for joining copper to aluminium. Installations with Aluminium House Wiring require attention. See Warning under NOTES: ALUMINIUM WIRING, above.
You must use a two-wire, three conductor 208/240 VAC, 60 Hertz electrical system. A white (neutral) wire is not needed for this unit. The cooktop must be installed in a circuit that does not exceed 125 VAC nominal to ground.
Refer to the name plate on your cooktop for the KW rating for your cooktop.
PRE-INSTALLATION CHECKLIST
WARNING The electrical power to the cooktop supply line must be shut off while connections are being made. Failure to do so could result in serious injury or death.
A. When preparing cooktop opening, make sure the inside of the cabinet and the cooktop do not interfere with each other. (See section on preparing the opening.)
B. Remove packaging materials and literature package from the cooktop before beginning installation.

C. Be sure to place all literature, Owner’s Manual, Installations, etc. in a safe place for future reference.
D. Make sure you have all the tools and materials you need before starting the installation of the cooktop.
E. Your home must provide the adequate electrical service needed to safely and properly use your cooktop. (Refer to section on electrical requirements.)
F. When installing your cooktop in your home, make sure all local codes and ordinances are followed exactly as stated.
G. Make sure the wall coverings, counter top and cabinets around the cooktop can withstand heat (up to 200°F) generated by the cooktop.
H. Installing cooktop in combination with other products.
Both products must be installed according to their specific product installation instructions. Consideration must be given the separate electrical requirements and locations:
Over one or two wall ovens:
- Only certain models may be installed over wall ovens. The wall oven and cooktop will both have a label stating which models are approved in combination.
Over a Microwave:
- See microwave installation instructions for how to install a microwave under a cooktop. For vertical dimension of cooktop, see Approximate Cook top Dimensions section.
In combination with telescopic downdraft vent:
- See telescopic downdraft vent instructions for how to install a vent behind a cooktop.
- The counter top must have a deep flat surface to accommodate the combined installation of the cooktop and vent.
Over a warming drawer:
- See warming drawer instructions for how to install a warming drawer under a cooktop. For vertical dimension of cooktop, see Approximate Cook top Dimensions section.
PREPARING THE OPENING
- APPROXIMATE COOKTOP DIMENSIONS

Size Models X Y Z Front Z Rear* 30” JP3030DJBB
JP3030DJWW29 3/4” 20 7/8” 3 1/4 ” 4” JEP5030DTBB 29 3/4” 20 7/8” 3 9/16” 4” PEP7030DTBB
PEP9030DTBB
CEP90301TBB29 3/4” 20 7/8” 3 9/16” 5 9/16” JP3030SJSS 29 7/8” 21” 3 1/4” 4” JEP5030STSS 29 7/8” 21” 3 9/16” 4” PEP9030STSS
CEP90302TSS29 7/8” 21” 3 9/16” 5 9/16” 36” JP3036DJBB
JP3036DJWW36” 20 3/8” 3 1/4” 4” JEP5036DTBB 36 20 3/8” 3 9/16” 4” PEP7036DTBB
PEP9036DTBB
CEP90361TBB36” 20 3/8” 3 9/16” 5 9/16” JP3036SJSS 36 1/8” 20 7/16” 3 1/4” 4” JEP5036STSS 36 1/8” 20 7/16” 3 9/16” 4” PEP9036STSS
CEP90362TSS36 1/8” 20 7/16” 3 9/16” 5 9/16” * Depth at rear of cooktop at conduit location.
- CUTOUT DIMENSIONS OF THE COUNTER TOP
To ensure accuracy, it may be best to create a template when cutting the opening in the counter.
JXTR32 CUTOUT FILLER TRIM KIT (for use with 30” models):
A filler trim kit is available for use if your counter top cutout is larger than the dimensions shown, up to 29-13/16” x 20-7/16”. Order JXTR32B (black) or JXTR32W (white) to reduce the cutout opening for installation of this cooktop. This kit may be ordered from your dealer or directly from GE Appliances at www.geappliances.com. - MINIMUM CLEARANCES TO ADJACENT WALLS & CABINETS
If a 30” clearance between the cooktop and overhead combustible materials or metal cabinet cannot be maintained, then a minimum clearance of 24” is required and the underside of the cabinets above the cooktop must be protected with not less than 1/4” insulating mill board covered with sheet metal not less than 30 gage (0.0125”) thick.
A ventilation hood may be installed above the cook top. See the ventilation hood installation instructions for the appropriate dimensions and clearances. - Make sure the wall coverings, counter top and cabinets around the cooktop can withstand heat (up to 200°F) generated by cooktop.

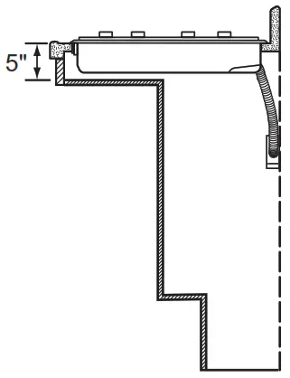
- VERTICAL CLEARANCE
Allow 5” minimum vertical clearance from the cooktop bottom (or 8-1/4” minimum depth from the counter top) to any combustible surfaces, such as a cabinet drawer.
- For Americans with Disabilities Act (ADA) Forward Approach Installation Only:
For models with no drop box, allow 5” minimum depth between the counter top and an enclosure. (JP3030, JP3530, JP3036, and JP3536)
For electronic touch and back lit knob models, allow 6-1/2” minimum depth between the counter top and an enclosure.
(All other models)
NOTE: The enclosure must be made of wood material. Also, an access panel is required for the junction box, hold-down brackets, and service.
INSTALLING THE COOKTOP
- VERTICAL CLEARANCE
Install an approved junction box where it will be easily reached through the front of the cabinet where the cooktop will be located. The cooktop conduit is 4 feet long.
- PROTECT SURFACE OF COOKTOP
Place a towel or tablecloth onto the counter top. Lay the cooktop upside down onto the protected surface.
- ATTACH FOAM TAPE
Apply the foam tape around the outer edge of the glass. Do not overlap the foam tape.
NOTE: On ZEU30 and ZEU36 models, apply the foam tape around the outer edge of the glass on the sides and rear of the unit only. - MOUNTING PARTS
Remove the hold down brackets and screws from the literature package.
Screw the hold down bracket to the side of the cooktop unit. Repeat for opposite side of cooktop.
Alternate Installation:
You can order an alternate installation kit WB01X24570 with wing nuts and brackets by calling 800.GE.CARES. See diagram for instructions.
Open the cabinet door. Install the second screw through the bracket and tighten. Then tighten the first screw. Install thumbscrew until it touches the bottom of the counter top.
IMPORTANT: Turn the thumbscrew until it touches the bottom of the counter top. Do not over tighten. - INSERT COOKTOP INTO CUTOUT
Insert the cooktop centered into the cutout opening. Make sure the front edge of the counter top is parallel to the cooktop. Make final check that all required clearances are met.
Attach Hold Down Brackets to cabinet. - ELECTRICAL CONNECTIONS
WARNING Installations with Aluminium House Wiring require attention. See Warning under NOTES: ALUMINIUM WIRING on page 2.
A. When making the wire connections, use the entire length of conduit provided. The conduit must not be shortened.
B. With the cooktop in place, open the front of the cabinet door.
C. Insert the wires from the conduit through the opening of the junction box.
D. Connect the red and black leads from the cooktop conduit to the corresponding leads in the junction box. Connect the ground wire.
E. Once the connections are made, secure wires together using wire nuts.
INSTALLATION—ELECTRICAL CONNECTIONS
GROUNDING INSTRUCTIONS:
The ground wire in the conduit is connected to the cooktop frame. Effective January 1, 1996, the National Electrical Code will not permit grounding through neutral. If used in new construction after January 1, 1996 or in a mobile home, recreational vehicle or if local codes do not permit grounding through the neutral white lead, attach the appliance grounding lead (green or copper) to the residence grounding conductor (green or bare copper) in accordance with local codes. When connecting to a 3 conductor branch circuit, if local codes permit, connect the ground connector lead of the cooktop to the branch circuit neutral (gray or white in color).
WARNING If the cooktop is being installed into a blind counter (one with no cabinet opening below), wire connections must be made before putting the cooktop into the cutout opening.
CHECKLISTS
- PRE-TEST CHECKLIST
A. Remove all protective film, if present, and any stickers.
B. Check to be sure that all wiring is secure and not pinched or in contact with moving parts.
C. Check level of appliance.
D. Check that the cooktop is properly grounded. - OPERATION CHECKLIST
A. Remove all items from the top of the cooktop surface.
B. Turn on the power to the cooktop (refer to your Owner’s Manual). Verify that all surface burners operate properly.
C. Check that the circuit breaker is not tripped nor the house fuse blown.
D. Check that conduit is securely connected to the junction box.
Questions?
Call us at 1.800.432.2737 or visit GEAppliances.com.
In Canada, call 1.800.561.3344 or visit GEAppliances.ca.
31-2001161 Rev. 1

JXTR32 CUTOUT FILLER TRIM KIT (for use with 30” models):
If a 30” clearance between the cooktop and overhead combustible materials or metal cabinet cannot be maintained, then a minimum clearance of 24” is required and the underside of the cabinets above the cooktop must be protected with not less than 1/4” insulating mill board covered with sheet metal not less than 30 gage (0.0125”) thick.

For electronic touch and back lit knob models, allow 6-1/2” minimum depth between the counter top and an enclosure.


NOTE: On ZEU30 and ZEU36 models, apply the foam tape around the outer edge of the glass on the sides and rear of the unit only.
Screw the hold down bracket to the side of the cooktop unit. Repeat for opposite side of cooktop.
Alternate Installation:
IMPORTANT: Turn the thumbscrew until it touches the bottom of the counter top. Do not over tighten.
Attach Hold Down Brackets to cabinet.
D. Connect the red and black leads from the cooktop conduit to the corresponding leads in the junction box. Connect the ground wire.
E. Once the connections are made, secure wires together using wire nuts.



















