ELECTRIC COOKTOP INSTALLATION INSTRUCTIONS
COOKTOP SAFETY
Your safety and the safety of others are very important.
We have provided many important safety messages in this manual and on your appliance. Always read and obey all safety messages.
This is the safety alert symbol.
This symbol alerts you to potential hazards that can kill or hurt you and others.
All safety messages will follow the safety alert symbol and either the word “DANGER” or “WARNING.” These words mean:
DANGER You can be killed or seriously injured if you don’t immediately follow instructions.
warning you can be killed or seriously injured if you don’t follow instructions.
All safety messages will tell you what the potential hazard is, tell you how to reduce the chance of injury, and tell you what can happen if the instructions are not followed.
IMPORTANT:
Save for local electrical inspector’s use.
INSTALLATION REQUIREMENTS
Tools and Parts
Gather the required tools and parts before starting installation. Read and follow the instructions provided with any tools listed here.
Tools needed
- Tape measure
- Marker or pencil
- ¼” (6.35 mm) nut driver
- Pliers
- Flat-blade screwdriver
Parts supplied
- Foam strip roll
- 2½” (6.4 cm) clamping screws (2)
- Clamping brackets (2)
Parts needed
- A UL listed or CSA approved connector for ½” (1.3 cm) diameter conduit
- UL listed wire connectors
Check local codes. Check existing electrical supply. See the “Electrical Requirements” section.
It is recommended that all electrical connections be made by a licensed, qualified electrical installer.
Location Requirements
IMPORTANT: Observe all governing codes and ordinances. When installing the cooktop, use the minimum dimensions given.
- To eliminate the risk of burns or fire by reaching over the heated surface units, cabinet storage space located above the surface units should be avoided. If cabinet storage is to
be provided, the risk can be reduced by installing a range hood that projects horizontally a minimum of 5″ (12.7 cm) beyond the bottom of the cabinets. - The cooktop must be a specified cooktop that is approved to be installed either alone or over an under-counter built-in oven. Check the cooktop base for an approved installation label. If you do not find this label, contact your dealer to confirm that your cooktop is approved.
- The cooktop must be installed on a level countertop.
- Ovens approved for this type of installation will have an approval label located on the top of the oven. If you do not find this label, contact your dealer to confirm that your oven is approved. Refer to oven manufacturer’s Installation Instructions for approval for built-in undercounter use and proper cutout dimensions.
- The cooktop should be installed away from strong draft areas, such as windows, doors, fans, or strong heating vents. The cooktop should be located for convenient use in the kitchen.
- Use the countertop opening dimensions that are given with these Installation Instructions. Given dimensions are minimum clearances and provide 0″ (0 cm) clearance.
- A grounded electrical supply is required. See “Electrical Requirements” section.
IMPORTANT: To avoid damage, check with your builder or cabinet supplier to make sure that the materials used will not
discolor, delaminate or sustain other damage.
Product Dimensions

| A. Glass depth – black and white models – 21³⁄₄” (55.2 cm) Glass depth – stainless steel models – 22¹⁄₈” (56.4 cm) B. Glass width – 30″ (76.2 cm) models – 30¹³⁄₁₆” (78.4 cm) Glass width – 36″ (91.4 cm) models – 36⁵⁄₁₆” (92.3 cm) C. Frame depth – 20¹ ⁄₄” (51.5 cm) | D. Frame width – 30″ (76.2 cm) models – 28¹ ⁵⁄₁₆” (73.5 cm) Frame width – 36″ (91.4 cm) models – 34⁷⁄₁₆” (87.5 cm) E. Cooktop height – 3³⁄₄” (9.6 cm) F. Cooktop height including conduit (located at rear of cooktop, right side) – 5¹⁄₄” (13.5 cm) |
Cabinet Dimensions
IMPORTANT: If installing a range hood or microwave hood combination above the cooktop, follow the range hood or microwave hood combination installation instructions for dimensional clearances above the cooktop surface.

A. 30″ (76.2 cm) on 30″ models; 36″ (91.4 cm) on 36″ models
B. Combustible area above countertop (shown by dashed box above)
C. 30″ (76.2 cm) minimum clearance between the top of cooktop platform and bottom of an uncovered wood or metal cabinet (24″ [61 cm] minimum clearance if the bottom of wood or metal cabinet is covered by not less than ¹⁄₄”[0.6 cm] flame retardant millboard covered with not less than No. 28 MSG sheet steel, 0.015″ [0.04 cm] stainless steel, or 0.024″ [0.06 cm] aluminum or 0.020″ [0.05 cm] copper)
D. 15″ (38.1 cm) maximum upper cabinet depth
E. 2″ (5.1 cm)
F. 20¹ ⁄₂” (52.0 cm) recommended cutout. Will fit in a cutout from 20³ ⁄₈”-20⁹⁄₁₆” (51.8-52.2 cm).
G. 18″ (45.7 cm) minimum clearance from upper cabinet to countertop within minimum horizontal clearances to the cooktop
H. Junction box or outlet: 7″ (17.8 cm) minimum from top of the countertop
I. Junction box or outlet: 9″ (23.0 cm) maximum from the right side of the cabinet
J. 29¹ ⁄₂” (74.9 cm) recommended cutout on 30″ (76.2 cm) models. ill fit in cutout from 29¹ ⁄₁₆”-29⁹⁄₁₆” (73.8-75.1 cm) on 30″ (76.2 cm) models. 35¹ ⁄₂” (90.2 cm) recommended cutout on 36″ (91.4 cm) models. Will fit in cutout from 34⁹⁄₁₆”-35⁹⁄₁₆” (87.8-90.3 cm) on 36″ (91.4 cm) models.
K. 1″ (2.5 cm) minimum distance to the nearest left and right side combustible surface above the cooktop
L. 1″ (2.5 cm) minimum clearance between back wall and countertop
NOTES: After making the countertop cutout, some installations may require notching down the base cabinet side walls to clear the cooktop base. To avoid this modification, use a base cabinet with sidewalls wider than the cutout. If the cabinet has a drawer, a 5¹⁄₂” (14.0 cm) depth clearance from the top of the countertop to the top of the drawer (or other obstruction) in the base cabinet is required.
Electrical Requirements
|
![]() |
Electrical Shock Hazard |
If codes permit and a separate ground wire is used, it is recommended that a qualified electrical installer determine that the ground path and wire gauge are in accordance with local codes.
Check with a qualified electrical installer if you are not sure the cooktop is properly grounded.
Make sure that the electrical connection and wire size are adequate and in conformance with the National Electrical Code, ANSI/NFPA 70-latest edition or CSA Standards C22.1-94, Canadian Electrical Code, Part 1 and C22.2 No. O-M91-latest edition, and all local codes and ordinances.
A copy of the above code standards can be obtained from:
National Fire Protection Association
1 Batterymarch Park
Quincy, MA 02169-7471
CSA International
8501 East Pleasant Valley Road
Cleveland, OH 44131-5575
Before You Make the Electrical Connection:
To properly install your cooktop, you must determine the type of electrical connection you will be using and follow the instructions provided for it here.
- A 3-wire or 4-wire, single-phase, 120/240 volt, 60-Hz., AC-only electrical supply is required on a separate, 40-amp circuit fused on both sides of the line. The model/serial number rating plate is located on the metal cabinet underneath the cooktop. See the following illustration.

- The cooktop is rated 120/240 volt. Some models have a neutral (white) wire.
- The cooktop should be connected directly to the junction box through flexible, armored or nonmetallic sheathed, copper cable. The flexible, armored cable extending from the fuse box or circuit breaker box should be connected directly to the junction box.
- Locate the junction box to allow as much slack as possible between the junction box and the cooktop so that the cooktop can be moved if servicing becomes necessary in the future.
- Do not cut the conduit. Use the length of a conduit provided.
- A UL-listed or CSA-approved conduit connector must be provided at each end of the power supply cable (at the cooktop and at the junction box). A listed conduit connector is already provided at the cooktop.
- If the house has aluminum wiring, follow the procedure below:
1.Connect a section of solid copper wire to the pigtail leads.
2.Connect the aluminum wiring to the added section of the copper wire using special connectors and/or tools designed and UL listed for joining copper to aluminum. Follow the electrical connector manufacturer’s recommended procedure. Aluminum/copper connection must conform with local codes and industry accepted wiring practices.
INSTALLATION INSTRUCTIONS
Prepare Cooktop for Installation
Excessive Weight Hazard Use two or more people to move and install the cooktop. Failure to do so can result in back or another injury. |
Decide on the final location for the cooktop. Avoid drilling into or severing existing wiring during installation.
- Using 2 or more people, place the cooktop upside down on a covered surface using the foam end posts from the packaging. Make sure that the knobs are not resting on the foam.
- Remove foam strip roll from the package containing literature. The roll contains four ¼” (0.64 cm) strips of foam. Remove one strip at a time and apply foam strip adhesive-side down around the bottom of the cooktop glass.
NOTE: The foam strip helps avoid damage to the underside of the cooktop glass from debris and helps the cooktop sit flat on uneven counters.

Install Cooktop
Style 1: Cooktop over undercounter built-in oven
IMPORTANT: Clamping brackets should not be used.
- Using 2 or more people, place the cooktop right side up into the cutout.
NOTE: Make sure that the front edge of the cooktop is parallel to the front edge of the countertop. If repositioning is needed, lift the entire cooktop up from the cutout to avoid scratching the countertop.
Style 2: Cooktop over cabinets
1.Determine whether your cabinet construction provides clearance for installing clamping brackets at cooktop base ends.
30″ (76.2 cm) and 36″ (91.4 cm) traditional knob models

2.The clamping brackets can be installed before or after the cooktop is placed into the cutout. Complete the following steps for the option you choose.
Installing Brackets Before Placing Cooktop in Cutout
1.Using 2 or more people, place the cooktop upside down on a covered surface using the foam end posts from the packaging. Make sure that the knobs are not resting on the foam.
2.Remove the attachment screws for the bracket locations from the bottom of the cooktop base.
3.Select bracket mounting holes that will allow the bracket to extend far enough out from the cooktop for the installation of 2¹⁄₂” (6.4 cm) clamping screws. See the “Attach Cooktop to Countertop” section for an illustration of clamping screw installation.

| A. Edge of cooktop base bottom B. Clamping bracket C. Bracket mounting holes | D. Bracket clamping hole E. Attachment screw |
4.Attach brackets to cooktop base bottom with bracket attachment screws using the bracket mounting holes selected in Step 3.
5.Rotate brackets so they do not extend beyond the edge of the cooktop base.
6.Tighten attachment screws enough to hold brackets in place when the cooktop is placed in the cutout.
7.Using 2 or more people, turn the cooktop right side up and place it in the cutout.
NOTE: Make sure that the front edge of the cooktop is parallel to the front edge of the countertop. If repositioning is needed, lift the entire cooktop up from the cutout to avoid scratching the countertop.
8.Loosen the screws and rotate the brackets so that they are perpendicular to the edge of the cooktop base and extend beyond its edge. Securely tighten screws.
Installing Brackets After Placing Cooktop in Cutout
1.Using 2 or more people, place the cooktop right side up into the cutout.
NOTE: Make sure that the front edge of the cooktop is parallel to the front edge of the countertop. If repositioning is needed, lift the entire cooktop up from the cutout to avoid scratching the countertop.
2.Remove the attachment screws for the selected bracket locations from the bottom of the cooktop base.
3.Select bracket mounting holes that will allow the bracket to extend far enough out from the cooktop for the installation of 2¹⁄₂” (6.4 cm) clamping screws.

| A. Cooktop B. Cooktop base C. Attachment screw | D. Clamping bracket (extends far enough beyond cooktop base to allow installation of clamping screws) E. 2¹⁄₂” (6.4 cm) clamping screw (to be installed in “Attach Cooktop to Countertop”) F. Countertop |
4.Attach brackets to cooktop base bottom with the bracket attachment screws using the bracket mounting holes selected in Step 3. Securely tighten screws.
Make Electrical Connection
![]() |
Electrical Shock Hazard Disconnect power before servicing. Use 8 gauge copper wire. Electrically ground cooktop. Failure to follow these instructions can result in death, fire, or electrical shock. |
This cooktop is manufactured with a frame connected, green or bare ground wire. Connect the cooktop cable to the junction box through the UL listed or CSA-approved conduit connector.
Electrical Connection Options | ||
| For cooktops with a 4-wire cable: | ||
| If your home has: | And you will be connecting to: | Go to Section: |
4-wire direct![]() | A fused disconnect or circuit breaker box | 4-Wire Cable from Power Supply to 4-Wire Cable from Cooktop |
3-wire direct![]() | A fused disconnect or circuit breaker box | 3-Wire Cable from Power Supply to 4-Wire Cable from Cooktop |
For cooktops with a 3-wire cable: | ||
| If your home has: | And you will be connecting to | Go to Section: |
| 4-wire direct
| A fused disconnect or circuit breaker box | 4-Wire Cable from Power Supply to 3-Wire Cable from Cooktop |
| 3-wire direct
| A fused disconnect or circuit breaker box | 3-Wire Cable from Power Supply to 3-Wire Cable from Cooktop |
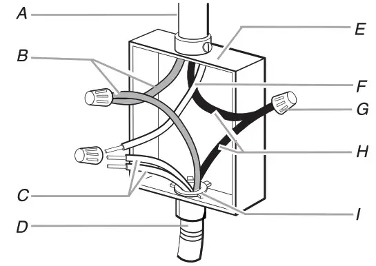
4-Wire Cable from Power Supply to 4-Wire Cable from Cooktop
IMPORTANT: Use the 4-wire cable from the power supply where local codes do not permit connecting the frame-ground conductor to the neutral (white) junction box wire.

| A. 4-wire cable from the power supply B. Black wires C. Bare or green wires D. 4-wire cable from the cooktop E. Junction box | F. White wires G. UL listed wire connector H. Red wires I. UL listed or CSA approved conduit connector |
- Disconnect power.
- Remove junction box cover if present.
- Connect the flexible cable conduit from the cooktop to the junction box using a UL listed or CSA-approved connector for ½” (1.3 cm) conduit.
- Tighten screws on conduit connector if present.
- Connect the two black wires together using the UL-listed wire connectors.
- Connect the two red wires together using the UL-listed wire connectors.
- Connect the two white wires together using the UL-listed wire connectors.
- Connect the green or bare ground wire from the cooktop cable to the green or bare ground wire (in the junction box) using the UL-listed wire connectors.
- Install junction box cover.
- Reconnect power.
3-Wire Cable from Power Supply to 4-Wire Cable from Cooktop
IMPORTANT: Use the 3-wire cable from the power supply where local codes permit connecting the frame-ground conductor to the neutral (white) junction box wire:

| A. 3-wire cable from the power supply B. Red wires C. White and green or bare D. 4-wire cable from the cooktop E. Junction box | F. White wire (from the power supply) G. UL listed wire connector H. Black wires I. UL listed or CSA approved conduit connector |
- Disconnect power.
- Remove junction box cover if present.
- Connect the flexible, cable conduit from the cooktop to the junction box using UL listed or CSA approved conduit connector.
- Tighten screws on conduit connector if present.
- Connect the two black wires together using the UL-listed wire connectors.
- Connect the two red wires together using the UL-listed wire connectors.
- Connect the green or bare and white cooktop cable wires to the white (neutral) wire in the junction box using the UL listed wire connectors.
- Install junction box cover.
- Reconnect power.
4-Wire Cable from Power Supply to 3-Wire Cable from Cooktop
IMPORTANT: Use the 4-wire cable from the power supply where local codes do not permit connecting the frame-ground conductor to the neutral (white) junction box wire:
| A. 4-wire cable from the power supply B. Red wires C. green or bare ground wire (from cooktop) D. 3-wire cable from the cooktop E. Junction box | F. White wire (from the power supply) G. UL listed wire connector H. Black wires I. UL listed or CSA approved conduit connector |
- Disconnect power.
- Remove junction box cover if present.
- Connect the flexible cable conduit from the cooktop to the junction box using a UL listed or CSA-approved conduit connector.
- Tighten screws on conduit connector if present.
- Connect the two black wires together using the UL-listed wire connectors.
- Connect the two red wires together using the UL-listed wire connectors.
- Connect the green or bare ground wire from the cooktop cable to the green or bare ground wire (in the junction box) using the UL-listed wire connectors.
- Put a UL-listed wire connector on the end of the white wire.
NOTE: Do not connect the bare ground wire to the neutral (white) wire in the junction box. - Install junction box cover.
- Reconnect power.
3-Wire Cable from Power Supply to 3-Wire Cable from Cooktop
IMPORTANT: Use the 3-wire cable from the power supply where local codes permit connecting the frame-ground conductor to the neutral (white) junction box wire:

| A. 3-wire cable from the power supply B. Red wires C. green or bare ground wire (from cooktop) D. 3-wire cable from the cooktop E. Junction box F. White wire (from the power supply) | G. UL listed wire connector H. Black wires I. UL listed or CSA approved conduit connector |
- Disconnect power.
- Remove junction box cover if present.
- Connect the flexible cable conduit from the cooktop to the junction box using a UL listed or CSA-approved conduit connector.
- Tighten screws on conduit connector if present.
- Connect the two black wires together using the UL-listed wire connectors.
- Connect the two red wires together using the UL-listed wire connectors.
- Connect the green or bare cooktop cable wires to the white (neutral) wire in the junction box using the UL listed wire connectors.
- Install junction box cover.
- Reconnect power.
Attach Cooktop to Countertop
NOTE: This section applies only if you are using clamping brackets.

| A. Glass cooktop B. Cooktop base C. Attachment screw D. Clamping bracket (extends far enough beyond cooktop base to allow installation of clamping screws) | E. 2¹ ⁄₂” (6.4 cm) clamping screw F. Countertop G. Foam seal |
- Place the 2¹⁄₂” (6.4 cm) clamping screws into the outermost hole in the clamping bracket.
- Use a screwdriver to tighten the screws against the countertop. Do not overtighten.
Complete Installation
- Check that all parts are now installed. If there is an extra part, go back through the steps to see which step was skipped.
- Check that you have all your tools.
- Dispose of/recycle all packaging materials.
- Use a mild solution of liquid household cleaner and warm water to clean the cooktop before use. Dry thoroughly with a soft cloth. For more information, see the “Cooktop Care” section of the Use and Care Guide.
- Read the “Cooktop Use” section in the cooktop Use and Care Guide.
- Reconnect power.
NOTE: If the cooktop does not work after turning on the power, check that a circuit breaker has not tripped or a household fuse has not blown. See the “Troubleshooting” section in the Use and Care Guide for further information.
If You Need Assistance or Service:
Please reference the “Assistance or Service” section of the Use and Care Guide or contact the dealer from whom you purchased your cooktop.
W10722846A
© 2014.
All rights reserved. Used under license in Canada






















