
ELECTRIC COOKTOP
COS-244ECC
COS-304ECC
COS-365ECC

Installation Manual
IMPORTANT SAFETY INSTRUCTIONS: Carefully read the following important information regarding installation safety and maintenance.
Keep these instructions for future reference.
THANK YOU FOR YOUR PURCHASE
Thank you for your purchase! We know that you have many brands and products to choose from and we are honored to know that you have decided to take one of our products into your home and hope that you enjoy it.
COSMO appliances are designed according to the strictest safety and performance standards for the North American market. We follow the most advanced manufacturing philosophy. Each appliance leaves the factory after thorough quality inspection and testing. Our distributors and our service partners are ready to answer any questions you may have regarding how to install, use and care for your products. We hope that this manual will help you learn to use the product in the safest and most effective manner.
If you have any questions or concerns, please contact the dealer from whom you purchased it, or contact our Customer Support Team at 1-888-784-3108, or visit cosmoappliances.com.
Please read the important safety instructions before using the appliance for your own safety, and to reduce the risk of hazards such as injury, fire, and electrical shock.
Please keep this manual for future use.
Once again, thank you!

APPLIANCES
SAFETY & WARNINGS
SAVE THESE INSTRUCTIONS FOR FUTURE REFERENCE AND FOR LOCAL ELECTRICAL INSPECTOR’S USE.
This is the safety alert symbol.
This symbol alerts you to potential hazards that can kill or hurt you and others.
All safety messages follow the safety alert symbol and one of the following words:
DANGER!: You can be killed or seriously injured if you do not immediately follow instructions.
WARNING!: You can be killed or seriously injured if you don’t follow instructions.
CAUTION!: Hazards or unsafe practices COULD result in minor personal injury if you don’t follow instructions.
All safety messages will tell you what the potential hazard is, tell you how to reduce the chance of injury, and tell you what can happen if the instructions are not followed.
Always read and obey all safety messages.
INSTALLATION REQUIREMENTS
TOOLS & PARTS
Gather the required tools and parts before starting installation. Read and follow the instructions provided with any tools listed here.
Tools Required
- 1/4 inch (6.35 mm) Nut Driver
- Pliers
- Flat-head Screwdriver
- Tape Measure
- Marker or Pencil
Parts Included
- Foam strip roll
- Clamping brackets (x2)
- 2 1/2 inch (6.4 cm) clamping screws (x2)
Parts Required
- A UL-listed -OR- CSA-approved connector for 1/2 inch (1.3 cm) diameter conduit
- UL-listed wire connectors
Check local codes. Check existing electrical supply. See the “Electrical Requirements” section.
It is highly recommended that all electrical connections be made by a licensed, qualified electrical installer.
LOCATION REQUIREMENTS
IMPORTANT!: Observe all governing codes and ordinances. When installing the cooktop, use the minimum dimensions given.
- To eliminate the risk of burns or fire by reaching over the heated surface units, cabinet storage space located above the surface units should be avoided. If cabinet storage is
to be provided, the risk can be reduced by installing a range hood that projects horizontally a minimum of 5″ (12.7 cm) beyond the bottom of the cabinets. - The cooktop must be a specified cooktop that is approved to be installed either alone or over an under-counter built-in oven. Check the cooktop base for an approved installation label. If you do not find this label, contact your dealer to confirm that your cooktop is approved.
- The cooktop must be installed on a level countertop.
- The cooktop should be installed away from strong draft areas, such as windows, doors, fans, or strong heating vents.
- The cooktop should be located for convenient use in the kitchen.
- Use the countertop opening dimensions that are given with these Installation Instructions. Given dimensions are minimum clearances.
- A grounded electrical supply is required. See “Electrical Requirements”, Pages 10-11.
IMPORTANT!: To avoid damage, check with your builder or cabinet supplier to make sure that the materials used will not discolor, delaminate or sustain other damage.

PRODUCT SPECIFICATIONS
| SKU | COS-244ECC |
| Rated Voltage | 240V |
| Rated Frequency | 60Hz |
| Rated Output Power | 5500W |
| Net Weight | 20 lbs. |
| Glass Depth | 21.5 in. / 54.6 cm |
| Glass Width | 24 in. / 61 cm |
| Frame Depth | 19.12 in. / 48.6 cm |
| Frame Width | 21.87 in. / 55.6 cm |
| Cooktop Height | 2 in. / 5.2 cm |
| Cooktop Height including conduit* | 3.14 in. / 8 cm |
*Located at rear of cooktop, right side
| BURNER | SPECS |
| Right Front | Single Zone, 5.9 in., 1200W |
| Right Rear | Single Zone, 7.5 in., 1800W |
| Left Front | Dual Zone, 9.3 / 5.5 in., 2500W / 1200W |
| Left Rear | Single Zone, 5.9 in., 1200W |

PRODUCT SPECIFICATIONS
| SKU | COS-304ECC |
| Rated Voltage | 240V |
| Rated Frequency | 60Hz |
| Rated Output Power | 6700W |
| Net Weight | 23.59 lbs. |
| Glass Depth | 21.5 in. / 54.6 cm |
| Glass Width | 30 in. / 76.2 cm |
| Frame Depth | 19.12 in. / 48.6 cm |
| Frame Width | 27.81 in. / 70.6 cm |
| Cooktop Height | 2.81 in. / 5.6 cm |
| Cooktop Height including conduit* | 3.75 in. / 9.5 cm |
*Located at the rear of cooktop, right side
| BURNER | SPECS |
| Right Front | Single Zone, 5.9 in., 1200W |
| Right Rear | Dual Zone, 7.5 / 4.7 in., 1800W / 750W |
| Left Front | Dual Zone, 9.3 / 5.5 in., 2500W / 1200W |
| Left Rear | Single Zone, 5.9 in., 1200W |

PRODUCT SPECIFICATIONS
| SKU | COS-365ECC |
| Rated Voltage | 240V |
| Rated Frequency | 60Hz |
| Rated Output Power | 8500W |
| Net Weight: | 28.22 lbs. |
| Glass Depth | 21.5 in. / 54.6 cm |
| Glass Width | 36 in. / 91.4 cm |
| Frame Depth | 19.12 in. / 48.6 cm |
| Frame Width | 33.68 in. / 85.6 cm |
| Cooktop Height | 2.81 in. / 5.6 cm |
| Cooktop Height including conduit* | 3.75 in. / 9.5 cm |
*Located at the rear of cooktop, right side
| BURNER | SPECS |
| Right Front | Single Zone, 5.9 in., 1200W |
| Right Rear | Single Zone, 7.5 in., 1800W |
| Middle | Dual Zone, 9.3 / 5.5 in., 2500W / 1200W |
| Left Front | Dual Zone, 7.5 / 4.7 in., 1800W / 750W |
| Left Rear | Single Zone, 5.9 in., 1200W |
CABINET DIMENSIONS

IMPORTANT!: If installing a range hood or microwave hood combination above the cooktop, follow the range hood or microwave hood combination installation
instructions for dimensional clearances above the cooktop surface.
A.) 24″ (61.0 cm) on 24″ models; 30″ (76.2 cm) on 30″ models; 36″ (91.4 cm) on 36″ models
B.) Combustible area above countertop (shown by the dashed box above)
C.) 30″ (76.2 cm) minimum clearance between the top of cooktop platform and bottom of an uncovered wood or metal cabinet (24″ [61 cm] minimum clearance if the bottom of wood or metal cabinet is covered by not less than ¹⁄ ₄” [0.6 cm] flame retardant millboard covered with not less than No. 28 MSG sheet steel, 0.015″ [0.04 cm] stainless steel, or 0.024″ [0.06 cm] aluminum or 0.020″ [0.05 cm] copper)
D.) 13″ (33 cm) recommended upper cabinet depth
E.) 2″ (5.1 cm)
F.) 19 1/4″ (49.0 cm) recommended cutout. Will fit in cutout from 19 1/8″-19 5/16 (48.6- 49.0 cm)
G.) 18″ (45.7 cm) minimum clearance from upper cabinet to countertop within minimum horizontal clearances to the cooktop
H.) Junction box or outlet: 7″ (17.8 cm) minimum from top of the countertop
I.) Junction box or outlet: 9″ (23.0 cm) maximum from right side of cabinet
J.) 22″ (56.0 cm) recommended cutout on 24″ (61.0 cm) models.
Will fit in cutout from 21 7/8″-22 1/8″ (55.6-56.2 cm) on 24″ (61.0 cm) models.
27 15/16″ (71.0 cm) recommended cutout on 30″ (76.2 cm) models. Will fit in cutout from 27 13/ 16″-28″ (70.6-71.2 cm) on 30″ (76.2 cm) models.
33 7⁄8″ (86.0 cm) recommended cutout on 36″ (91.4 cm) models. Will fit in cutout from 33 11/16″-33 15/ 16″ (85.6-86.2 cm) on 36″ (91.4 cm) models.
K.) 2″ (5.1 cm) minimum distance to the nearest left and right side combustible surface above the cooktop
L.) 2″ (5.1 cm) minimum clearance between the back wall and countertop
ELECTRICAL REQUIREMENTS
![]() |
|
If codes permit and a separate ground wire is used, it is recommended that a qualified electrical installer determine that the ground path and wire gauge are in accordance with local codes.
Check with a qualified electrical installer if you are not sure the cooktop is properly grounded.
Make sure that the electrical connection and wire size are adequate and in conformance with the National Electrical Code, ANSI/NFPA 70-latest edition or CSA Standards C22.1-94, Canadian Electrical Code, Part 1 and C22.2 No. O-M91-latest edition, and all local codes and ordinances.
A copy of the above code standards can be obtained from the following:
| National Fire Protection Association 1 Batterymarch Park Quincy, MA 02169-7471 | CSA International 8501 East Pleasant Valley Road Cleveland, OH 44131-5575 |
Before You Make the Electrical Connection
To properly install your cooktop, you must determine the type of electrical connection you will be using and follow the instructions provided for it here.
- A 3-wire or 4-wire, single-phase, 120/240 volt, 60-Hz., AC-only electrical supply is required on a separate, 40-amp circuit fused on both sides of the line. The model/serial
number rating plate is located on the metal cabinet underneath the cooktop. See the following illustration.
- The cooktop should be connected directly to the junction box through flexible, armored or nonmetallic sheathed, copper cable. The flexible, armored cable extending from the fuse box or circuit breaker box should be connected directly to the junction box.
- Locate the junction box to allow as much slack as possible between the junction box and the cooktop so that the cooktop can be moved if servicing becomes necessary in
the future. - Do not cut the conduit. Use the length of the conduit provided.
- A UL-listed or CSA-approved conduit connector must be provided at each end of the power supply cable (at the cooktop and at the junction box). A listed conduit connector is already provided at the cooktop.
- If the house has aluminum wiring, follow the procedure below:
a. Connect a section of solid copper wire to the pigtail leads.
b. Connect the aluminum wiring to the added section of the copper wire using special connectors and/or tools designed and UL listed for joining copper to aluminum.
Follow the electrical connector manufacturer’s recommended procedure. Aluminum/copper connection must conform with local codes and industry-accepted wiring practices.
PREPARE COOKTOP FOR INSTALLATION
WARNING! EXCESSIVE WEIGHT HAZARD: Use two or more people to move and install the cooktop. Failure to do so can result in back or another injury.

A.) Cooktop base
B.) 1/16″ x 3/16″ (0.2 x 0.5 cm) Foam strip
C.) Cooktop
NOTE: The foam strip helps avoid damage to the underside of the cooktop glass from debris and helps the cooktop sit flat on uneven counters.
Decide on the final location for the cooktop. Avoid drilling into or severing existing wiring during installation.
- Using 2 or more people, place the cooktop upside down on a covered surface using the foam end posts from the packaging. Make sure that the knobs are not resting on the
foam. - Remove foam strip roll from the package containing literature. Remove the strip at a time and apply foam strip adhesive-side down around the bottom of the cooktop glass.
INSTALL COOKTOP
Style 1: Cooktop over an under-counter built-in oven
IMPORTANT!: Clamping brackets should not be used.
- Using 2 or more people, place the cooktop right side up into the cutout.
NOTE: Make sure that the front edge of the cooktop is parallel to the front edge of the countertop. If repositioning is needed, lift the entire cooktop up from the cutout to avoid scratching the countertop.
TRADITIONAL KNOB MODELS

A.) Cooktop base bottom /
B.) Clamping screw /
C.) Clamping bracket
Style 2: Cooktop over cabinets
- Determine whether your cabinet construction provides clearance for installing clamping brackets at cooktop base ends.
- The clamping brackets must be installed after the cooktop is placed into the cutout. Complete the following steps for the option.
Installing Brackets After Placing Cooktop in Cutout
- Using 2 or more people, place the cooktop right side up into the cutout.
a. NOTE: Make sure that the front edge of the cooktop is parallel to the front edge of the countertop. If repositioning is needed, lift the entire cooktop up from the cutout to avoid scratching the countertop. - Remove the selected bracket locations from the bottom of the cooktop base.
- Select bracket mounting location that will allow the bracket to extend far enough out from the cooktop for the installation of clamping screws.
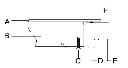
- Attach brackets to cooktop base bottom with bracket clamping screws using the bracket mounting holes. Securely tighten screws.

A) Cooktop
B) Cooktop base
C) Clamping screw
D) Clamping bracket (extends far enough beyond cooktop base to allow installation of clamping screws)
E) Countertop
F) Foam seal

MAKE ELECTRICAL CONNECTION
![]() |
|
This cooktop is manufactured with a frame-connected, green, or bare-ground wire.
Connect the cooktop cable to the junction box through the UL-listed or CSA-approved conduit connector.
ELECTRICAL CONNECTION OPTIONS
For cooktops with a 3-wire cable:
| If your home has: | And you will be connecting to: | Go to Section: |
![]() | A fused disconnect or circuit breaker box | 4-Wire Cable from Power Supply to 3-Wire Cable from Cooktop |
![]() | A fused disconnect or circuit breaker box | 3-Wire Cable from Power Supply to 3-Wire Cable from Cooktop |
4-Wire Cable from Power Supply to 3-Wire Cable from Cooktop
IMPORTANT!: Use the 4-wire cable from the power supply where local codes do not permit connecting the frame-ground conductor to the neutral (white) junction box wire.

| A.) 4-wire cable from the power supply B.) Red wires C.) Green or bare ground wire (from cooktop) D.) 3-wire cable from the cooktop E.) Junction box | F.) White wire (from the power supply) G.) UL listed wire connector H.) Black wires I.) UL-listed or CSA-approved conduit connector |
- Disconnect the power.
- Remove junction box cover if present.
- Connect the flexible cable conduit from the cooktop to the junction box using a listed or CSA-approved conduit connector.
- Tighten screws on the conduit connector, if present.
- Connect the two black wires together using the UL-listed wire connectors.
- Connect the two red wires together using the UL-listed wire connectors.
- Connect the green or bare ground wire from the cooktop cable to the green or bare ground wire (in the junction box) using the UL-listed wire connectors.
- Put a UL-listed wire connector on the end of the white wire.
a. NOTE: Do not connect the bare ground wire to the neutral (white) wire in the junction box. - Install junction box cover.
- Reconnect power.
3-Wire Cable from Power Supply to 3-Wire Cable from Cooktop
IMPORTANT!: Use the 3-wire cable from the power supply where local codes permit connecting the frame-ground conductor to the neutral (white) junction box wire.

| A.) 3-wire cable from the power supply B.) Red wires C.) Green or bare ground wire (from cooktop) D.) 3-wire cable from the cooktop | E.) Junction box F.) White wire (from the power supply) G.) UL-listed wire connector H.) Black wires I.) UL-listed or CSA approved conduit connector |
- Disconnect the power.
- Remove junction box cover, if present.
- Connect the flexible cable conduit from the cooktop to the junction box using a UL-listed or CSA-approved conduit connector.
- Tighten screws on the conduit connector if present.
- Connect the two black wires together using the UL-listed wire connectors.
- Connect the two red wires together using the UL-listed wire connectors.
- Connect the green or bare cooktop cable wires to the white (neutral) wire in the junction box using the UL-listed wire connectors.
- Install junction box cover.
- Reconnect power.
COMPLETE INSTALLATION
- Check that all parts are now installed. If there is an extra part leftover, go back through the installation, steps to determine what may have been missed or skipped.
- Check that you have all your tools.
- Dispose of / recycle all packaging materials.
- Use a mild solution of liquid household cleaner and warm water to clean the cooktop
- before use. Dry thoroughly with a soft cloth. For more information, see the “Care & Maintenance” section in the User Manual.
- Read the entire “Operating Instructions” section in the User Manual.
- Reconnect power.
NOTE: If the cooktop does not work after turning on the power, check that a circuit breaker has not tripped or a household fuse has not blown. See “Troubleshooting” in the User Manual for further information.
If you need assistance or service, please refer to sections “Warranty & Service” on Pages 18-19 of this manual.
WARRANTY AND SERVICE
For full warranty details on this product please visit:
http://www.cosmoappliances.com/warranty
TO RECEIVE WARRANTY SERVICE, YOUR
PRODUCT MUST BE REGISTERED. TO REGISTER, VISIT:
WWW.COSMOAPPLIANCES.COM/WARRANTY
SCAN TO REGISTER


IMPORTANT
Do Not Return This Product To The Store If
you have a problem with this product, please contact
Cosmo Customer Support at
+1(888)784-3108
DATED PROOF OF PURCHASE, MODEL #, AND SERIAL #
REQUIRED FOR WARRANTY SERVICE
Correct Disposal of this product:
This marking indicates that this appliance should not be disposed of with other household wastes. To prevent possible harm to the environment or human health from uncontrolled waste disposal, recycle it responsibly to promote the sustainable reuse of material resources.

APPLIANCES
Cosmo is constantly making efforts to improve the quality and performance of our products, so we may make changes to our appliances without updating this manual.
The electronic version of this manual is available at: www.cosmoappliances.com























