SUMMIT CR2B228T 18 Inch Electric Radiant Cooktop

APPLIANCE SAFETY
Your safety and the safety of others are very important.
We have provided many important safety messages in this manual and on your appliance. Always read and obey all safety messages.
This is the Safety Alert Symbol. The symbol alerts you to potential hazards that can kill or injure you and others. All safety messages will follow the Safety Alert Symbol and either the words DANGER or WARNING.
- DANGER means that failure to heed this safety statement may result in severe personal injury or death.
- WARNING means that failure to heed this safety statement may result in extensive product damage, serious personal injury, or death.
All safety messages will alert you about the potential hazard, tell you how to reduce the chance of injury, and let you know what can happen if the instructions are not followed.
IMPORTANT SAFEGUARDS
Before the appliance is used, it must be properly positioned and installed as described in this manual, so read the manual carefully. To reduce the risk of fire, electrical shock or injury when using the appliance, follow basic precautions, including the following:
DANGERS
- It is recommended that a separate circuit serving only your appliance be provided. Use receptacles that cannot be turned off by a switch or pull chain.
- Never clean appliance parts with flammable fluids. These fumes can create a fire hazard or explosion. And do not store or use gasoline or other flammable vapors and liquids in the vicinity of this or any other appliance. The fumes can create a fire hazard or explosion.
- Before proceeding with cleaning and maintenance operations, make sure the power line of the unit is disconnected.
- Unplug the appliance or disconnect power before cleaning or servicing. Failure to do so can result in electrical shock or death.
- User Servicing – Do not attempt to repair or replace any part of your appliance unless it is specifically recommended in this manual. All other servicing should be referred to a qualified technician.
WARNING
FOLLOW WARNING CALLOUTS BELOW ONLY WHEN APPLICABLE TO YOUR MODEL
- This appliance is only intended for residential cooking. The manufacturer cannot be held responsible for damage or injury caused by improper use or for uses other than those for which this appliance is intended.
- Do not touch hot surfaces. Use handles or knobs.
- To protect against electrical shock, do not immerse cord or body of unit in water or other liquid.
- Close supervision is necessary when any appliance is used by or near children.
- Do not operate any appliance with a damaged cord or after the appliance malfunctions or has been damaged in any manner. Return appliance to the nearest authorized service facility for examination, repair, or adjustment.
- The use of accessory attachments not recommended by the appliance manufacturer may cause injuries.
- Do not use outdoors.
- Do not let cord hang over edge of table or counter or touch hot surfaces.
- Extreme caution must be used when moving an appliance containing hot oil or other hot liquids.
- To disconnect power, turn any control to “OFF”.
- CAUTION – Do not store items of interest to children in cabinets above a range or on the back guard of a range – children climbing on the range to reach items could be seriously injured.
- Do Not Cook on a Broken Cooktop – If cooktop should break, cleaning solutions and spillovers may penetrate the broken cooktop and create a risk of electric shock.
- Clean Cooktop with Caution – If a wet sponge or cloth is used to wipe spills on a hot cooking area, be careful to avoid steam burns. Some cleaners can produce noxious fumes if applied to a hot surface.
- The appliance must be installed with all electrical, water and drain connections in accordance with state and local codes. A standard electrical supply (240 V AC only, 60 Hz), properly grounded in accordance with the National Electrical Code and local codes and ordinances, is required.
- Electrical Grounding Instructions – The appliance must be installed and grounded by a qualified technician in accordance with the National Electrical Code ANSI/NFPA No. 70 (Latest Edition) and local electrical code requirements.
- Do not kink or pinch the power supply cord of the appliance.
- The size of the fuse (or circuit breaker) should be 20 amperes.
- Proper Installation – Be sure your appliance is properly installed, per the manufacturer instructions.
- Never use your appliance for warming or heating the room.
- Do Not Leave Children Alone – Children should not be left alone or unattended in area where the appliance is in use. They should never be allowed to sit or stand on any part of the appliance.
- Use Proper Pan Size – This appliance is equipped with one or more surface units of different size. Select utensils having flat bottoms large enough to cover the surface unit heating element. The use of undersized utensils will expose a portion of the heating element to direct contact and may result in ignition of clothing. Proper relationship of utensil to burner will also improve efficiency.
- Never Leave Surface Units Unattended at High Heat Settings – Boil-over causes smoking and greasy spillovers that may ignite and can create a Fire Hazard.
- Do Not Touch Heating Elements or Areas Near Heating Elements – Heating elements may be hot even though they are dark in color. Areas near heating elements may become hot enough to cause burns. During and after use, do not touch or let clothing or other flammable materials contact heating elements or areas near heating elements until they have had sufficient time to cool. Among these areas are the cooktop and surfaces facing the cooktop.
- Wear Proper Apparel – Loose-fitting or hanging garments should never be worn while using the appliance.
- Storage in or on Appliance – Flammable materials should not be stored in an oven or near surface units.
- Do Not Use Water on Grease Fires – Smother fire or flame or use dry chemical or foam-type extinguisher.
- Use Only Dry Potholders – Moist or damp potholders on hot surfaces may result in burns from steam. Do not let potholder touch hot heating elements. Do not use a towel or other bulky cloth.
- Make Sure Reflector Pans or Drip Bowls Are in Place – Absence of these pans or bowls during cooking may subject wiring or components underneath to damage.
- Protective Liners – Do not use aluminum foil to line surface unit drip bowls or oven bottoms, except as suggested in the manual. Improper installation of these liners may result in a risk of electric shock, or fire.
- Glazed Cooking Utensils – Only certain types of glass, glass/ceramic, ceramic, earthenware, or other glazed utensils are suitable for range-top service without breaking due to the sudden change in temperature.
- Utensil Handles Should Be Turned Inward and Not Extend Over Adjacent Surface Units – To reduce the risk of burns, ignition of flammable materials, and spillage due to unintentional contact with the utensil, the handle of a utensil should be positioned so that it is turned inward and does not extend over adjacent surface units.
- Do Not Soak Removable Heating Elements – Heating elements should never be immersed in water.
- Use this appliance only for its intended purpose as described in this User Manual.
SAVE THESE INSTRUCTIONS
LOCATION OF PARTS 
TECHNICAL INFORMATION
| Cooktop Material | Ceramic |
| Cooking Zones | 2 Zones |
| Supply Voltage | 240V~ |
| Installed Electric Power | 3000W (240~) |
| Cooktop Size L x W x H (mm. and in.) | 460 x 540 x 75 18.1” x 21.6” x 2.95” |
| Building-in Dimensions A x B (mm and in.) | 415 x 515 16.34” x 20.27” |
NOTE: Weight and dimensions are approximate. Because we continually strive to improve our products, we may change specifications and designs without prior notice.
INSTALLATION OF YOUR APPLIANCE
Before Using your New Cooktop
- Carefully review this User Manual, taking special note of the ‘Safety Warnings’ section.
- Remove any protective film that may still be on your cooktop.
CAUTION: Please read this section prior to making the cut out for your cooktop. It is important to plan ahead for the installation of your cooktop, keeping the listed dimensions in mind.
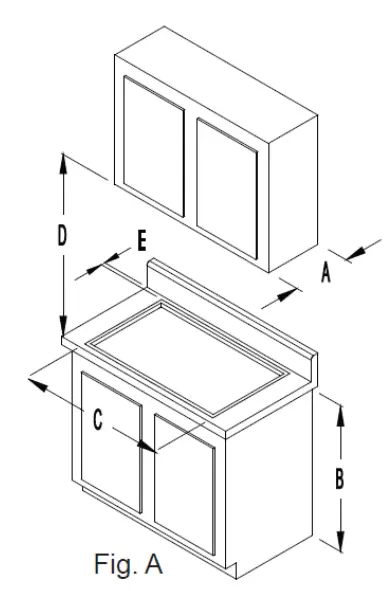
Installation
- A: 13” maximum depth of overhead cabinets
- B: 36” minimum height of the countertop above the floor
- C: The minimum flat countertop surface that the cooktop will rest on must be equal to or greater than the overall cooktop dimensions (refer to the next page for overall cooktop dimensions).
- D: 30” minimum clearance between the top of the cooking surface and the bottom of an unprotected wood or metal cabinet OR 24” minimum clearance when the bottom of the wood or metal cabinet is protected by not less than ¼” thick flame retardant millboard covered with not less than No. 28 MSG sheet steel, or 0.015” thick stainless steel, 0.024” thick aluminum, or 0.020” thick copper.
- E: 1” minimum from the backsplash of the countertop to the edge of the cooktop glass.
CAUTION: To eliminate the risk of burns by reaching over heated surface units, cabinet storage space located above surface units should be avoided. If cabinet storage is to be provided, the risk can be reduced by installing a range hood that projects horizontally a minimum of 5” beyond the bottom of the cabinets.
Before making the countertop cutout, check for clearance. Check to see if the cooktop will clear the front and side walls of the base cabinet. It is also important to provide adequate ventilation.
Adequate ventilation of the space below the countertop must be provided to ensure proper operation of the cooktop. Heat transferred from the cooktop bottom pan during operation will overheat an improperly ventilated area. 
- Allow a 2” minimum clearance between the bottom of the metal pan of the cooktop and any combustible surface located below, i.e.: the upper edge of a drawer installed below the cooktop (see Fig. B). Failure to provide proper ventilation may result in a fire hazard.
- Since the appliance requires a sufficient supply of fresh air to operate at maximum performance, the cabinet must be designed accordingly. The following is required for this:
- The cabinet must have a minimum of two openings, one to allow fresh air to enter and the other for hot air to escape the cabinet.
- Opening sizes must be equal to 8 square inches each. This is for ambient temperatures of 85ºF/30ºC and below. If the ambient temperature around the appliance is above 85ºF/30ºC, then larger ventilation opening sizes may be required.

Placing your Cooktop into the Cut Out
- Stretch out the supplied seal along the underside edge of the cooktop, ensuring the ends overlap at the corners.

- Do not use an adhesive to fix the cooktop into the worktop. Once the seal is fitted, position the cooktop into the cutout in the worktop. Apply gentle downward pressure onto the cooktop to push it into the worktop, ensuring a good seal around the outer edge.

- The cooktop must be installed by qualified personnel or technicians. Please never attempt installation by yourself.
- The cooktop should not be installed above a dishwasher, fridge, freezer, washing machine, or clothes dryer, as the humidity may damage the cooktop’s electronics.
- The ceramic cooktop should be installed such that better heat radiation can be ensured to enhance its reliability.
- The wall and induced heating zone above the table surface shall withstand heat.
- To avoid any damage, the sandwich layer and adhesive must be resistant to heat.
Connecting the Cooktop to the Power Supply
- Improper connection of the equipment-grounding can result in the risk of electrical shock. If the power cord of the unit is damaged, have it replaced by an authorized service center.
- This appliance may be connected by mean of permanent “Hard Wiring” or “Power Supply Cord Kit”. A power supply cord is not supplied but is available through your local electrical supply house.
- Use only 3-conductor UL listed cord rated at 20 amps with 240V minimum voltage range. These cords may be provided with strain relief or conduit connector.
- This unit must be connected to the proper electrical voltage and frequency at specified on the rating label.
- The unit should be connected directly to the junction box through fixable, armored, or nonmetallic sheathed, copper cable. The flexible, armored cable extended from the fuse box or circuit breaker box should be connected directly to the junction box. Locate the junction box to allow as much slack as possible between the junction box and the unit so that the unit can be moved if servicing becomes necessary in the future.
- DO NOT cut the conduit. Use the length of conduit provided.
- For personal safety, this appliance must be properly grounded.
- Remove house fuse or open circuit breaker before beginning installation.
- DO NOT attempt to repair or replace any part of the appliance unless it is specifically recommended in this manual. All other servicing should be referred to a qualified technician.
- To minimize the possibility of electric shock, disconnect this appliance from the A/C power supply before attempting any maintenance.

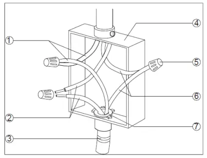
NOTE: Use the 3-wire cable from the power supply, where local codes permit, connecting the frame-ground conductor to the neutral (blue) junction box wire.
- Disconnect the power supply.
- Remove the junction box cover if present
- Connect the flexible cable conduit (3) from the cooktop to the junction box (4) using a UL listed or CSA approved conduit connector (7).
- Tighten screws on conduit connector if present.
- Connect the two brown wires (1) together using the UL listed wire nut (5).
- Connect the two blue wires (2) together using the UL listed wire nut.
- Connect the two green wires (6) together using the UL listed wire nut (5).
- Install the junction box cover.
- Reconnect the power.
OPERATING YOUR COOKTOP
Control Panel 
- The controls respond to touch, so you don’t need to apply any pressure.
- Use the ball of your finger, not its tip, as show below:

- You will hear a beep each time a touch is registered.
- Make sure the controls are always clean, dry, and that there is no object (e.g., a utensil or a cloth) covering them. Even a thin film of water may make the controls difficult to operate.
Choosing the Proper Cookware
- Do not use cookware with jagged edges or a curved base.

- Make sure that the base of your pan is smooth, sits flat against the glass, and is the same size as the cooking zone. Use pans whose diameter is as large as the graphic of the zone selected. Using a slightly wider pot means energy will be used at its maximum efficiency. If you use smaller pot, the efficiency could be less than expected.
- Always center your pan on the cooking zone.

- Always lift pans off the ceramic hob – do not slide, or they may scratch the glass.

Using your Cooktop
- Place a pan on the cooking zone you wish to use. Make sure the cooking surface and the bottom of the pan are clean and dry.
- Press and hold the ON/OFF key for two seconds. The cooktop will alert you with a single beep once it has powered on. The display will show “0” indicating the selected cooking zone has entered standby mode.
- Press the appropriate cooking zone key, based on the location of your pan. The “0” displayed will flash.
- Adjust the power to accommodate your desired heat setting. The heat setting can be adjusted at any time during cooking.

NOTE: If you do not choose a power/heat setting within 20 seconds, the cooking zone will power off and you will need to start again at step 2.
Using the Timer
The timer function will automatically power off the selected cooking zone after the set time has elapsed. The timer can be set for up to 99 minutes (1 hr. 39 mins.).
- Press the zone select key to activate the appropriate cooking zone.

- Use the + and – keys of the Power/Timer Setting to set the desired time.

- To check the remaining time, press the appropriate zone key, then the timer key.
- If you do not select a cooking zone before setting the time, the timer will operate as a minute minder, producing a beep once the time has elapsed.
Using the Child Lock
The cooktop can be locked to prevent unintended use, such as children accidentally powering the cooktop on. When the child lock is enabled, all of the controls except the OFF key.
To Lock the Controls![]()
To Unlock the Controls ![]()
Special Functions
Over-heating Protection
A sensor monitors the temperature in the cooking zones. When the temperature exceeds a safe level, the cooking zone is automatically switched off.
Residual Heat Indicator
The cooktop will remain hot after use, especially if you have been using the cooktop for a prolonged period of time. A letter H appears on the cooktop to alert you when the residual heat of the cooktop makes it too hot to touch.
Auto-Shut Off Protection
This function shuts the cooktop off automatically if ever you forget to turn the cooktop off after cooking. The default working times for various power levels are shown in the below table:
| Power Level | 1-2 | 3-4 | 5 | 9 |
| Default Working Timer (min.) | 360 | 300 | 240 | 90 |
Unintended Operation Protection
If the electronic control detects a key being held down for approx. 10 seconds, it will switch off automatically. The control sends out an audible error signal to warn the sensors have detected the presence of an object. The display will indicate an error code ER03 if the cooktop is still hot. An H and ER03 will flash alternatively.
CARE AND MAINTENANCE
- Do not use a steam cleaner to clean this appliance. Steam could penetrate electrical components and cause a short circuit.
- Pressurized steam could cause permanent damage to the surface and to components for which the manufacturer cannot accept responsibility.
- Do not use any sharp pointed objects which could damage
- the seal between the ceramic surface, the surrounding frame and the countertop.
- Never use abrasive or caustic (oven) cleaners, dishwasher detergent, scouring pads, steel wool or hard brushes. They will damage the surface.
- The ceramic surface can be cleaned using a cleaner for ceramic surfaces.
- Make sure that no cleaner residue remains on the ceramic surface by carefully wiping the cooktop with a damp cloth. The residue could damage the cooktop or produce toxic fumes when heated.
- Be sure that pot and pan bases are clean and dry. After cleaning, dry the ceramic surface with a soft cloth to prevent a buildup of lime scale deposits.
- Clean any spills immediately before they become difficult to remove.
- Clean the appliance regularly, preferably after each use. Allow the appliance to cool before cleaning.
- Wipe off any soiling using a damp cloth. Stubborn soiling is best removed with a shielded scraper blade.
- Apply a ceramic cleaner using a soft cloth or paper towel. To remove any lime scale deposits or metallic residue apply a ceramic cleaner using a soft cloth and a shielded scraper blade if necessary. After cleaning, wipe the ceramic surface with a damp cloth and dry.
- A cleaner with a special additive to prevent water marks and smears on the ceramic may be used.
- Any melted solids like sugar, plastic or aluminum foil should be removed as soon as possible, while the burner is still warm.
- If they are allowed to harden the cooktop may become pitted.
TROUBLESHOOTING
If an abnormality comes up, the cooktop will automatically enter the protective mode and display corresponding protective codes:
| Error Message | Possible Cause | Possible Solution |
| ER03 | There is water or a cooking pot on the glass over the control. | Clean the control panel. |
| E | The thermocouple is loose or broken. | Please contact the supplier to reconnect the thermocouple. |
| ER21 | The temperature inside the produce is too high. | The product must be stopped and allowed to cool. |
LIMITED WARRANTY
ONE-YEAR LIMITED WARRANTY
Within the 48 contiguous United States, for one year from the date of purchase, when this appliance is operated and maintained according to instructions attached to or furnished with the product, warrantor will pay for factory-specified parts and repair labor to correct defects in materials or workmanship. Service must be provided by a designated service company. Outside the 48 states, all parts are warranted for one year from manufacturing defects. Plastic parts, shelves and cabinets are warranted to be manufactured to commercially acceptable standards and are not covered from damage during handling or breakage.
ITEMS WARRANTOR WILL NOT PAY FOR:
- Service calls to correct the installation of your appliance, to instruct you how to use your appliance, to replace or repair fuses or to correct wiring or plumbing.
- Service calls to repair or replace appliance light bulbs or broken shelves. Consumable parts (such as filters) are excluded from warranty coverage.
- Damage resulting from accident, alteration, misuse, abuse, fire, flood, acts of God, improper installation, installation not in accordance with electrical or plumbing codes, or use of products not approved by warrantor.
- Replacement parts or repair labor costs for units operated outside the United States.
- Repairs to parts or systems resulting from unauthorized modifications made to the appliance.
- The removal and reinstallation of your appliance if it is installed in an inaccessible location or is not installed in accordance with published installation instructions.
DISCLAIMER OF IMPLIED WARRANTIES; LIMITATION OF REMEDIES
CUSTOMER’S SOLE AND EXCLUSIVE REMEDY UNDER THIS LIMITED WARRANTY SHALL BE PRODUCT REPAIRAS PROVIDED HEREIN. IMPLIED WARRANTIES, INCLUDING WARRANTIES OF MERCHANTABILITY OR FITNESS FOR A PARTICULAR PURPOSE, ARE LIMITED TO ONE YEAR. WARRANTOR SHALL NOT BE LIABLE FOR INCIDENTAL OR CONSEQUENTIAL DAMAGES. SOME STATES DO NOT ALLOW THE EXCLUSION OR LIMITATION OF INCIDENTAL OR CONSEQUENTIAL DAMAGES, OR LIMITATIONS ON THE DURATION OF IMPLIED WARRANTIES OF MERCHANTABILITY OR FITNESS, SO THESE EXCLUSIONS OR LIMITATIONS MAY NOT APPLY TO YOU. THIS WARRANTY GIVES YOU SPECIFIC LEGAL RIGHTS AND YOU MAY ALSO HAVE OTHER RIGHTS, WHICH VARY FROM STATE TO STATE.
WARNING: This product can expose you to chemicals including Nickel (Metallic) which is known to the State of California to cause cancer.
For more information go to www.P65Warnings.ca.gov
Note: Nickel is a component in all stainless steel and some other metallic compositions.
Summit Division of Felix Storch, Inc. An ISO 9001:2015 registered company 770 Garrison Avenue
Bronx, NY 10474
www.summitappliance.com
For parts and accessory ordering, troubleshooting and helpful hints, visit: www.summitappliance.com/support































