THOR KITCHEN TEC36 36-Inch Professional Electric Cooktop User Manual
GENERAL SAFETY REGULATIONS
IMPORTANT SAFETY INFORMATION.
READ ALL INSTRUCTIONS BEFORE USING.
Read all safety instructions before using the product. Failure to follow these instructions may result in fire, electrical shock, serious injury or death.
GENERAL SAFETY INSTRUCTIONS
- Use this cooktop only for its intended purpose as described in this Owner’s Manual.
- Be sure your cooktop is properly installed and grounded by a qualified installer in accordance with the provided installation instructions.
- Do not attempt to repair or replace any part of your cooktop unless it is specifically recommended in this manual. All other servicing should be performed by a qualified technician.
- Before performing any service, unplug the cooktop or disconnect the power supply at the\ household distribution panel by removing the fuse or switching off the circuit breaker.
- Do not leave children alone-children should not be left alone or unattended in an area where the cooktop is in use. They should never be allowed to climb, sit or stand on any part of the cooktop.
- CAUTION: Do not store items of interest to children above the cooktop children climbing on the cooktop to reach items could be seriously injured
- Use only dry pot holders-moist or damp potholders on hot surfaces may result in burns from steam. Do not let pot holders touch hot surface units or heating elements. Do not use a towel or other bulky cloth in place of pot holders.
- Never use your cooktop for warming or heating the room.
- Do not touch surface elements. These surfaces may be hot enough to burn even though they are dark in color. During and after use, do not touch, or let clothing or other flammable materials contact the surface elements or areas nearby the surface elements; allow sufficient time for cooling first.
- Potentially hot surfaces include the cooktop and areas facing the cooktop.
- Do not heat unopened food containers. Pressure could build up and the container could burst, causing an injury.
WARNING
KEEP FLAMMABLE MATERIALS AWAY FROM THE COOKTOP
Failure to do so may result in fire or personal injury
- Do not store or use flammable materials near the cooktop, including paper, plastic, pot holder’s linens, wall coverings, curtains, drapes and gasoline or other flammable vapors and liquids.
- Never wear loose-fitting or hanging garments while using the cooktop. These garments may ignite if they contact hot surfaces causing severe burns.
- Do not let cooking grease or other flammable materials accumulate in or near the cooktop Grease on the cooktop may ignite.
COOK TOP SAFETY INSTRUCTIONS
- In the event of a fire, do not use water or grease on fires. Never pick up a flaming pan. Turn the controls off. Smother a flaming pan on a surface unit by covering the pan completely with a well-fitted lid, cookie sheet or flat tray. Use a multi-purpose dry chemical or a foam-type fire extinguisher.
- Never leave the surface units unattended at medium or high heat settings. Boilover cause smoking and greasy spillovers that may catch on fire.
- Never leave oil unattended while frying. If allowed to heat beyond its smoking point, oil may ignite resulting in fire that may spread to surrounding cabinets. Use a deep fat thermometer whenever possible to monitor oil temperature.
- To avoid spillover and fire, use a minimum amount of oil when shallow pan-frying and avoid cooking frozen foods with excessive amounts of ice.
- Use the proper pan size-select cookware having flat bottoms large enough to cover the surface heating element. The use of undersized cookware will expose a portion of the surface unit to direct contact and may result in ignition of clothing. Proper relationship of cookware to surface unit will also improve efficiency.
- To minimize the possibility of burns, ignition of flammable materials and spillage, the handle of a container should be turned toward the center of the range without extending over nearby surface units.
WARNING
COOK TOP SAFETY INSTRUCTIONS
- Only certain types of glass, glass/ceramic, earthenware or other glazed containers are suitable for cooktop service; others may break because of the sudden change in temperature.
- Use care when touching the cooktop. The glass surface of the cooktop will retain heat after the controls have been turned off.
- Do not cook on a broken cooktop. If the glass cooktop should break, cleaning solutions and spillovers may penetrate the broken cooktop and create a risk of electric shock. Contact a qualified technician immediately.
- Avoid scratching the glass cooktop. The cooktop can be scratched with items such as knives, sharp instruments, rings or other jewelry, and rivets on clothing.
- Do not place or store items that can melt or catch fire on the glass cooktop, even when it is not being used. lf the cooktop is inadvertently turned on, they may ignite. Heat from the cooktop or oven vent after it is turned off may cause them to ignite also.
- To eliminate the risk of burns or fire by reaching over heated surface units, cabinet storage space located above the surface units should be avoided. If cabinet storage is to be provided, the risk can be reduced by installing a range hood that projects horizontally a minimum of 5 inches beyond the bottom of the cabinets.
- Storage in or on Appliance – Flammable materials should not be stored in an oven or near surface units.
- Use proper pan size – this appliance is equipped with one or more surface units of different size. Select utensils having flat bottoms large enough to cover the surface unit heating element. The use of undersized utensils will expose a portion of the heating element to direct contact and may result in ignition of clothing. Proper relationship of utensil to burner will also improve efficiency.
- Make sure reflector pans or drip bowls are in place – absence of these pans or make sure reflector pans or drip bowls are in place – absence of these pans or bowls during cooking may subject wiring or components underneath to damage.
- Protective liners – do not use aluminum foil to line surface unit drip bowls or oven bottoms, except as suggested in the manual. Improper installation of these liners may result in a risk of electric shock, or fire.
- Glazed cooking utensils – only certain types of glass, glass/ceramic, ceramic, earthenware, or other glazed utensils are suitable for range-top service without breaking due to the sudden change in temperature.
- Utensil handles should be turned inward and not extend over adjacent surface units
- to reduce the risk of burns, ignition of flammable materials, and spillage due to unintentional contact with the utensil, the handle of a utensil should be positioned so that it is turned inward, and does not extend over adjacent surface units.
- Do not cook on broken cooktop – If cooktop should break, cleaning solutions and spillovers may penetrate the broken cook-top and create a risk of electric shock.
Contact a qualified technician immediately. - Clean cooktop with caution – If a wet sponge or cloth is used to wipe spills on a hot cooking area, be careful to avoid steam burn. Some cleaners can produce noxious fumes if applied to a hot surface.
- If the malfunction light goes on, or if the audible signal (for example, a bell or buzzer) sounds, appliance is malfunctioning. Turn off or disconnect appliance from power supply and have serviced by a qualified technician.
INSTRUCTIONS FOR BUILT-IN
Cut out the work surface according to the sizes shown in the following drawing.
- Note: Before carving, check that the dimensions indicated correspond to the dimensions of the product.
- Be sure the thickness of the work surface is at least 1.18inch.Choose a heat-resistant work surface material.
- The safety distance between the sides of the cooktop and the inner surfaces of the worktop must be at least 0.12inch.
- For the purposes of installation and use, at least 0.2inch space must be kept around the cut-out.

| Model | W(inch) | D(inch) | A(inch) | B(inch) | X(inch) | F(inch) |
| TEC30 | 30 | 21 | 28.85 | 19.8 | Min2 | Mon0.12 |
| TEC36 | 36 | 21 | 34.85 | 19.8 | Min2 | Mon0.12 |
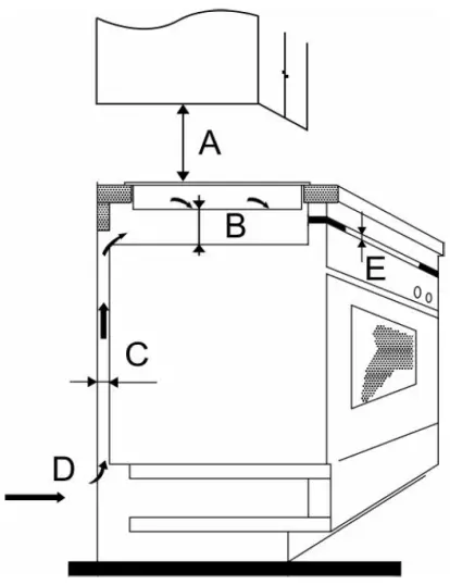
VENTILATION AND SAFETY DISTANCES
Make absolutely sure that the following conditions are met for adequate ventilation of the cooktop and that the supply and exhaust air is not blocked:
- Note: The safety distance between the cooktop and the cabinet or the cooker hood should be at least 29.93inch
- If the cooktop is installed above an oven, the oven must have its own fan.
- The safety distance between the bottom of cooktop and the oven must be at least 1.97inch
- The installation must comply with all distance regulations and other regulations.

| A(inch) | B(inch) | C(inch) | D(inch) | E(inch) |
| 29.93 | 1.97 | 0.8 | Air gapintake | Exhaust air min 0.5 |
INSTALLING THE COOK TOP
The cook top must connect to a separate, grounded wire, single phase, AC Only electrical supply with their own circuit breaker. These appliances must be installed in accordance with National Electrical Codes, as well as all state, municipal and local codes. This appliance must be supplied with the proper voltage and frequency and amperage, which is protected by a properly sized circuit breaker or time delay fuse.
The cable from appliance is equipped with 3-wires:
If 3-Wire Cable from Home Power Supply
IMPORTANT: Use the 3-wire cable from Home Power Supply where local codes permit a 3-wire connection.
If 4-Wire Cable from Home Power Supply
IMPORTANT: Use the 4-wire cable from Home Power Supply where local codes do not allow grounding through neutral.
4-Wire Cable from Home Power Supply
COMMISSIONING THE COOK TOP
- The electric cooktop must be installed by qualified installer.
- Do not place cooktop next to open fires, heaters or other sources of heat.
- Make sure that the mains connection cable is not damaged or squashed beneath the cooktop
- Make sure that the mains connection cable does not come into contact with sharp edges and/or hot surfaces.
- The cooktop should be connecting to the power source which is sufficient secured.
- Do not install the cooktop above a dishwasher or washing-machine, because the electronic circuits do not come into contact with steam or moisture which could damage them.
- Before connecting the cook top, check whether the voltage indicated on the type plate corresponds to the voltage supply in your home. A wrong connection may lead to grave damage on the cook top and injured.
- The cooktop surface is made of temperature-resistant ceramics. If it is damaged, even if this concerns only a small tear, disconnect the cooktop from the power supply immediately and contact the customer service.
- We recommend not placing any metal Kitchenware, cookware or pan lids, knives or other metal objects on the cooktop. These may heat up when the cooktop is turned on.
- Do not place any magnetically objects like credit cards, cassettes etc. on the glass surface while the cooktop is in operation.
- In order to avoid overheating, do not place any aluminium foil or metal plates on the cooktop.
- Do not insert any objects like wires or tools into the ventilation slots.
ATTENTION: THIS MAY CAUSE ELECTRIC SHOCKS
- Do not touch the hot surface of the cooktop.
- Do not heat up any unopened tins on the cooktop, or a heated tin could be exploded; therefore you must remove the tin lid under all circumstances beforehand.
COOK TOP FEATURE
Throughout this manual, features and appearance may vary from your model.
TEC30
TEC36
Operating the cook top
Place suitable cookware onto the cooktop, and connect the plug to suitable socket. The operation of both zones is the same.
Caution! Make no hot pots or pans on the control board!
Power
Press the On / Off button for three seconds.
You will hear a beep and see flashing lines — on the display next to every cooking zone
Burner
Press the button for the required elements.
You can change the power levels by sliding the slider or by pressing the “0” to switch off the relevant cooking zone.
Middle Element
Press the middle elements button, you will see flashing lines on the display. You can change the power levels by sliding the slider or pressing the number.
When the display is flashing, press the Middle Zone button once/twice, you can choose the inner heating circle for a smaller pot or for lower power or the whole bigger heating circle.
Sync elements
Press the button, the left up burner, the right left down burner and the middle zone of the right left burner will be on. To turn off the middle Sync elements, press the button for 2 seconds.
Caution! When using Sync elements, pots or pans (approximately17.32inch*7.87inch) should be large enough to fit for the elements. If you use small pots or pans, do not use the Sync element, or it will easily heat your hand.
Power of each burner
TEC30TOTAL: 8600W
- Left up zone up to max.1600W
- Left down zone up to max.1600W
- Free zone up to max.3800W
- Middle zone up to max.3600W (1200W+1200W+1200W)
- Right down zone up to max.1200W
TEC36TOTAL: 9200W
- Left up zone up to max.1600W
- Left down zone up to max.1600W
- Free zone up to max.3800W
- Middle zone up to max.3600W (1200W+1200W+1200W)
- Right up zone up to max.1200W
- Right down zone up to max.1800W
Residual heat indicator
When the cooktop has been operating for some time, there will be some residual heat.
The residual heat indicator warns for each cooking zone separately with “H” symbol.
Timer
After you have selected the power press the timer key .
Timer confirmation
With repeated pressing onto timer key choose the zones you want to set as the LED light showing. The display shows “00”. With the keys “0-9” set the time in 1-minute steps (max. 99 min.) After 5 seconds no number level key be pressed, the time will start timing and the display will indicate the countdown time until to “00”. If the two zones has been set different time, the display will indicate the less time setting zone.
Timer cancellation
By pressing onto timer key choose the zone you want to cancel the timer. Then press number level key”0” two times and the timer function will be cancelled.
Or press the button for three seconds; timer function for all zones will be cancelled.
Safety systems
In order to protect the electronics from overheating if the control unit detects excessive heat it will switch off the cooktop closest to the sensors and the letter H will appear on the display. This cooktop can be activated when the temperature of the electronic unit returns to normal. Each cooktop is equipped with an interior temperature limiter that switches off the cooktop if the radiant surface is heated excessively. If any cracks appear in the radiant surface, immediately disconnect it from the power. Do not use any part of the cooktop until a new radiant surface has been fitted.
Automatic
If a cooktop is left on accidentally, it will automatically be switched off after a period of time has elapsed, depending on the power level that has been selected.
| Setting | Time(hour) |
| 1-9 | 2 |
Key Lock (Child lock)
To ensure the safety of children, the ceramic cooktop is fitted with an interlock cooktop.
To lock: hold the button for 3 seconds; the timer shows “L0” and the rest of the keys are disabled except the on/off button. To unlock hold down the lock key for 3 seconds and the cooktop will return to normal working.
CLEANING AND MAINTENANCE
- Disconnect plug and wait until the unit is cooled down completely.
- If the pots/pans are used without being cleaned, discoloration or cooked on stains may occur.
- Do not use benzene, thinner, scrubbing brush or polishing powder to clean the cooker.
- Do not use any flammable, acid alkaline materials or substances near the cook top, as this may reduce the service life of the cook top and lead to conflagration when the cook top is turned on.
- Clean the radiant glass surface frequently, when it is cool. Please use dish washing soapy water and wet cloth to wipe the surface of cook top.
- Please Use vacuum cleaner to suck up dust from intake and exhaust vent.
- Never run water over the unit because it may cause a malfunction.
Clean the radiant glass surface frequently when it is cool.
Never use abrasive products or pads.
Clean with a wet cloth.
Once a week, clean thoroughly with specific products that preserve and protect radiant cooktops. Scrape off stuck on stuck dirt with a scraper.
If sugar (or sugary matter) or plastic is accidentally burnt on the cooktop, remove at once with the scraper while still hot. Otherwise it may leave a permanent mark.
Do not use the cooktop as a work surface.
Be particularly careful with dirt or dust from vegetables, cleaning powders, etc.
which may scratch the surface when pans are slid over it.
COOKWARE FOR RADIANT GLASS COOKTOP
The following information will help you choose cookware which will give good performance on glass cooktops.
Stainless Steel: recommended Aluminium: heavy weight recommended Good conductivity. Aluminium residues sometimes appear as scratches on the cooktop but can be removed if cleaned immediately. Because of its low melting point thin weight aluminium should not be used.
Copper Bottom: recommended Copper may leave residues which can Appear as scratches. The residues can be removed, as long as the cooktop is cleaned immediately. However, do not let these pots boil dry. Overheated metal can bond to glass cook tops. An overheated copper bottom pot will leave a residue that will permanently Stain the cooktop if not removed immediately.
Porcelain Enamel on Cast Iron: recommended if bottom of pan is coated Porcelain Enamel on Steel: not recommended Heating empty pans can cause permanent damage to cooktop glass. The enamel can melt and bond to the ceramic cooktop.
Glass-ceramic: not recommended Poor performance will scratch the surface.
Stoneware: not recommended Poor performance may scratch the surface.
Cast Iron: not recommended-unless designed specifically for glass cooktops Poor conductivity and slow to absorb heat will scratch the cook top surface.
Note: Follow all cookware manufacture recommendations when using any type of cookware on the ceramic cook top.
For Best Results
Place only dry pans on the surface elements. Do not place lids on the surface elements, particularly wet lids. Wet pans and lids may stick to the surface when cool. Do not use woks that have support rings. This type of wok will not heat on glass surface elements. We recommend that you use only a flat-bottomed wok. They are available at your local retail store. The bottom of the wok should have the same diameter as the surface element to ensure proper contact. Some special cooking procedures require specific cookware such as pressure cookers or deep-fat fryers. All cookware must have flat bottoms and be the correct size.
TROUBLE SHOOTING
If you encounter a problem, it often will merely be something minor. Before you call customer service, review the charts on the following pages first and you may not to call for service. If an error occurs in the control operation, a fault code will flash in the display .Record the error code and call for service.
CAUTION! Repairs should only be done by an authorized servicer. Improper repair of your appliance may result in risk of serious physical injury or death.
| Problem | Possible Cause | What To Do |
| Surface elements will not maintain a rolling boil or cooking is slow | Improper cookware being used. | Use pans that are absolutely flat and match the diameter of the surface unit selected. |
| Surface elements do not work properly | Cook top controls improperly set. | Check to be sure the correct control is set for the surface element you are using. |
| Scratches on cooktop glass surface | Incorrect cleaning methods being used. | Use recommended cleaning procedures. See the Cleaning and maintenance section. |
| Cookware with rough bottoms being used or coarse particles (salt or sand) were between the cookware and the surface of the cooktop. Cookware has been slid across the cooktop surface. | To avoid scratches, use the recommended cleaning procedures. Make sure bottoms of cookware are clean before use, and use cookware with smooth bottoms. | |
| Areas of discoloration on the cooktop | Food spillovers not cleaned before next use | See the Cleaning and maintenance section. |
| Hot surface on a model with a light-colored glass cooktop. | This is normal. The surface may appear discolored when it is hot. This is temporary and will disappear as the glass cools. | |
| Plastic melted to the surface | Hot cook top came into contact with plastic placed on the hot cook top. | See the Glass surface-potential for permanent damage section in the Cleaning and maintenance section. |
| Pitting (or indentation) of the cook top | Hot sugar mixture spilled on the cook top. | Call a qualified technician for replacement. |
| Unresponsive control panel | Control panel is dirty. | Clean the control panel. |
| A fuse in your home may be blown or the circuit breaker tripped. | Replace the fuse or reset the circuit breaker. |
WARRANTY
This product has been manufactured by Thor Group, 4651 E Airport Drive, California 91761.
For Customer Service, please call (877) 288 – 8099
For the most up to date warranty and service policy, please refer to our website:
WWW.THORKITCHEN.COM/WARRANTY-REGISTRATION
For in-warranty service requests, please visit our website at:
WWW.THORKITCHEN.COM/SERVICE
Please Note: You must provide proof of purchase or installation date for any in warranty service requests
Model Number:
Date of Purchase:
Dealer:
Town:
Serial No:
Purchaser:
Counter:
Counter:
Note: You must provide proof of purchase and installation date for in-warranty service.
WELCOME TO THE CLUB
You chose THOR Kitchen to enhance your culinary journey and we’re stoked to have you in the club. Think of it as a secret society of really savvy people, such as yourself, choosing professional power and performance at an affordable price.
Register your product by following the steps below.
WARRANTY REGISTRATION
- Scan theQR code or visit
thorkitchen.com/warranty
- Inputy our product info and elect register

- You’re done. Let’s get cooking’.


For additional information and product support, visit
thorkitchen.com/service

























