Thermador Cet305yb 30 Inch Electric Cooktop Owner's Manual

Thermador Cet305yb 30 Inch Electric Cooktop Owner's Manual

Thermador CET305YB 30 Inch Electric Cooktop 

CET305YB 30 Inch Electric CooktopFeatures

FEATURES & BENEFITS

  • CookSmart® — with 4 preset frying levels, a sensor controls the temperature of the pan, taking the guesswork out of temperature selection
  • Dual zone bridge element accommodates oblong cookware and multiple diameter sizes
  • Residual heat indicator shows what elements are still hot
  • Triple zone center element allows you to match element size to various sized cookware
  • Illuminated touch control panel offers intuitively simple selection of power levels and allows for easy cleaning
  • Full stainless steel frame surrounds the cooktop surface

ACCESSORIES (OPTIONAL)

CHEFSPAN08 10″ Stainless Steel Pan
Accessories (Optional)

GENERAL PROPERTIES
ControlsTouch Controls
ELEMENT PERFORMANCE
Power of Front Left Heating Element1,700 W
Power of Back Left Heating Element1,700 / 700 W
Power of Bridge Element4,000 W
Power of Center Heating Element3,080 / 2,200 / 1,050 W
Power of Back Right Heating ElementN/A
Power of Front Right Heating Element1,200 W
ELEMENT SIZE
Dimension of Front Left Heating Element7″
Dimension of Back Left Heating Element7″, 5″
Dimension of Center Heating Element11″, 8″, 6″
Dimension of Back Right Heating ElementN/A
Dimension of Front Right Heating Element6″
TECHNICAL DETAILS
Watts (W)7,800 W
Circuit Breaker (A)40 / 30 A
Volts (V)240 / 208 V
Frequency (Hz)60 Hz
Plug TypeNo Plug
Conduit38″ Flexible 3-Wire
Energy SourceElectric
DIMENSIONS & WEIGHT
Overall Appliance Dimensions (HxWxD) (in)7/16″+3 15/16″ x 31″ x 21 1/4″
Required Cutout Size (HxWxD) (in)3 15/16″ x 28 3/4″ x 19 7/8″
Minimum Distance From Counter Front (in)2 1/4″
Minimum Distance From Rear Wall (in)2 3/4″
Net Weight (lbs)27 lbs
WARRANTY
Limited Warranty, Entire Appliance, Parts and Labor2 Year
30-INCH ELECTRIC COOKTOP AND CUTOUT DIMENSIONS

30-INCH ELECTRIC COOKTOP AND CUTOUT DIMENSIONS
A: Min. distance from the cooktop cut-out to the wall
B: Max. recessed depth
C: Min. distance between the surface of the cooktop and the underside of the ventilation hood
This distance can be smaller, check installation instructions of ventilation hood
D: Min. distance from the cooktop cut-out to the side wall
30-INCH ELECTRIC COOKTOP AND CUTOUT DIMENSIONS

INSTALLATION ABOVE A THERMADOR WALL OVEN

Installation Above A Thermador Wall Oven

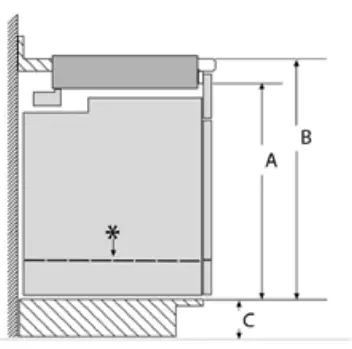
Product TypeA Inches (mm)B min. Inches (mm)C max. Inches (mm)
Conventional Oven28 1/4 (718)31 1/4 (794) min.4 3/4 (121)
Steam Oven25 1/16 (636)28 1/16 (713)7 15/16 (202)
Steam Oven with 4” Storage Drawer*28 1/4 (718)31 1/4 (794) min.4 3/4 (121)
Microwave / Speed Oven19 1/4 (488)24 (609) min.12” (306)
Microwave / Speed Oven with Warming drawer*28 1/4 (718)31 1/4 (794) min.4 3/4 (121)

When installing an oven or oven with a drawer in combination with a cooktop, a minimum distance between the cabinet floor and countertop (B) is required. Reference the table for dimensions. Refer to the oven installation guide for all other measurements.

COUNTERTOP REQUIREMENTS

Countertop Requirements

These warranties give you specific legal rights and you may have other rights that vary from state to state. Limited warranty from date of purchase. For complete warranty details, refer to your Use & Care manual, or ask your dealer.

Specifications are for planning purposes only. Refer to installation instructions and consult your countertop supplier prior to making counter opening. Consult with a heating and ventilation engineer for your specific ventilation requirements. For the most detailed information, refer to installation instructions accompanying product or write to Thermador indicating the model number. Specifications are correct at time of printing. Thermador reserves the right to change product specifications or design without notice. Some models are certified for use in Canada. Thermador is not responsible for products that are transported from the U.S. for use in Canada.

CUSTOMER SUPPORT

1 800 735 4328 | USA THERMADOR.COM | CANADA THERMADOR.CA | ©2022 BSH HOME APPLIANCES CORPORATION. ALL RIGHTS RESERVED.

Thermador-Logo

References

Documents / Resouces

Download manual
Here you can download full pdf version of manual, it may contain additional safety instructions, warranty information, FCC rules, etc.


Related Manuals