GE APPLIANCES PP9830SR Series 30 Inch Downdraft Electric Cooktop

FEATURES AND BENEFITS
Downdraft Exhaust – Powerful exhaust system effectively pulls smoke and steam out of the kitchen
Ceramic Glass Cooktop – A smooth cooktop surface makes cleaning quick and easy
Ribbon Heating Elements – Provide powerful heat beneath a smooth glass surface to ensure even heat and fast warm-up times
Bridge Element – Combines three cooktop elements into one large cooking area, ideal for oversized cooking pans 9″/6″ Power Boil Element – Accommodates various-size pots or pans and 3,000 watts of power speeds the boiling process
Three Speed Downdraft Fan – Powerful three speed exhaust system effectively pulls smoke and vapors out of the kitchen
Stainless steel trim – complement other stainless steel appliances in the kitchen with this touch of elegance
Model PP9830SRSS – Stainless steel
GUARANTEED FIT
Replacing a similar cooktop from GE Appliances or another brand? GE cooktops are guaranteed for an exact fit or GE Appliances will pay up to $100 toward modifications Visitgeappliances.com for more info
DIMENSIONS AND INSTALLATION INFORMATION (IN INCHES)
WALL INSTALLATION: Wall installations require 25″ countertop depth. When cabinet is flush against the wall, the fan housing can be rotated to the horizontal position for direct venting through rear wall. Make a countertop cutout in the range cabinet according to unit dimensions and installation type. Duct hole is positioned in back of cabinet for through-the-wall ducting.
PENINSULA OR ISLAND INSTALLATION: For peninsula/islands a minimum 26″ countertop depth is suggested. Blower should be in vertical position. Island or peninsula cabinets may require adjustment in cutout depth and/or location within the width dimensions. Duct hole is positioned in bottom of cabinet for island or peninsula installation.
SLAB INSTALLATION: For peninsula or island installation and rear wall ducting, 6″ PVC duct or locally approved piping should be used if installing under a poured concrete slab.
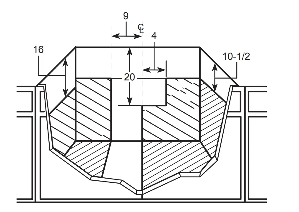
RECEPTACLE LOCATION: Install an approved junction box within shaded area shown in diagram. Junction box must be at least 10-1/2″ below top of cabinet.
INSTALLATION INFORMATION: Before installing, consult installation instructions, packed with product, for current dimensional data. Order part number JXCK89 from your GE Appliances Dealer. These cooktops are approved for indoor use only
APPROXIMATE COOKING DIMENSIONS



*U.L. Requirement
Note: A 5″ minimum spacing to adjacent side wall is required
| KW RATING | |
| 240V | 9.1 |
| 208V | 6.9 |

INSTALLING THE DUCTWORK
Use galvanized or aluminum duct in 6″ round or 3-1/4″ x 10″ size, or combination of both.
PVC duct or locally approved piping should be used if installing under a poured concrete slab. Local building code must be followed in specifying type and schedule of all duct used.

NOTE: Ductwork must be vented to outside. Do not vent into a wall, ceiling, crawlspace, attic or any concealed space. Always use an appropriate roof or wall cap with damper.
Laundry-type wall caps should never be used.
For maximum efficiency use the shortest and straightest duct run possible, with as few fittings as possible.
For satisfactory performance the duct run should not exceed 100 feet equivalent length. Refer to the table of equivalent lengths (shown in installation instructions) for various duct configurations.
DOWNWARD VENTING

REAR WALL VENTIN

CUSTOMER SUPPORT

Listed by Underwriters Laboratories

For answers to your Monogram, GE Café™ Series, GE Profile™ Series or
GE Appliances product questions, visit our website at geappliances.com
or call GE Answer Center®
Service, 800.626.2000.



















