21.5” FULL HD FRAMELESS
MONITOR 1920 x 1080, 75Hz
KAMN21F7VA
User Guide
SAFETY & WARNINGS
Ensure to read all instructions and warnings in this user guide prior to first use. Retain this user guide for future reference.
- This monitor is designed with ventilation holes on the back of the casing. Do not cover or block them.
- Avoid placing the monitor near heaters, stoves, fireplaces, or other heat sources.
- Do not place this monitor in rooms lacking adequate ventilation.
- Do not insert any objects or spray any liquids into the vents.
- Do not position the monitor in unsafe locations. If the monitor falls, it may be damaged and cause injury to people within its vicinity.
- Do not place heavy objects on the monitor, its power cord, or any connected cables.
- Do not open the back panel of the monitor as it contains a high-voltage current even when not plugged in.
- Unplug the monitor if it will not be used for an extended period.
- Ensure the monitor is unplugged before cleaning.
The terms HDMI and HDMI High-Definition Multimedia Interface, and the HDMI Logo are trademarks or registered trademarks of HDMI Licensing Administrator, Inc. in the United States, and other countries.
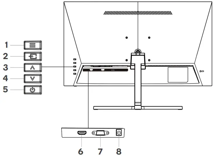
COMPONENTS

OVERVIEW

- Menu/select button
- Exit/input menu button
- Up button
- Down button
- Power button
- HDMI port
- VGA port
- Power port
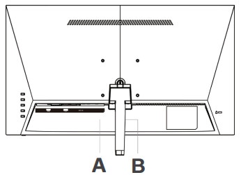
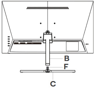
STAND ASSEMBLY
- With the display side facing down, lay the monitor (A) on a soft cloth to prevent damage.
- Clip the stand stem plate (D) into the stand stem (B). Using a screwdriver (not supplied), secure the M4 8mm screws (E) through the holes on the stand stem plate (D) to the stand stem (B).

- Clip the stand stem (B) into the monitor(A).

- Align the stand base (C) with the stand stem (B). Using a screwdriver, secure the stand base (C) to the stand stem (B) with the M5 12mm screw (F).

VESA MOUNT
If mounting to a wall, ensure the stand base and stand stem are disconnected from the monitor.
Consult a professional before mounting the monitor.
- With the display side facing down, lay the monitor on a soft cloth to prevent damage.
- Identify the four wall mounting screws on the back of the monitor.
- Mount the monitor as desired with the steps provided with your VESA mount.
Notes:
- Ensure there is at least a 10cm clearance away from all sides of the monitor.
- The mounting hole distance for this monitor is 75mm x 75mm.
- M4 8mm screws are required.
- VESA mount and mounting accessories are not included.
- Images are for reference only.
CONNECTIVITY
Before connecting, ensure the display is switched off.
Power cable
Plug one end of the power cable into the power port on the monitor. Plug the other end into an outlet.
HDMI
In order for the monitor to receive HDMI signals to your computer, plug one end of the included HDMI cable into the HDMI port on the monitor. Plug the other end into the HDMI port on your computers
VGA
In order for the monitor to receive VGA signals to your computer, plug one end of a VGA cable (not included) into the VGA port on the monitor. Plug the other end into the VGA port on your computer.
OPERATION
- Connect the monitor to your computer via HDMI/VGA.
- Connect one end of the power cable into the power port of the monitor. Connect the other end into an outlet, then turn the outlet on.
Note:
It is recommended that a surge protector with adequate voltage is used if the monitor cannot be directly connected to an outlet. - Press the power button to turn the monitor on.
On-Screen display (OSD) menu
The OSD menu allows adjustments to various settings for the monitor. 
- Press the menu/select button to access the OSD menu.
- Press the up and down buttons to browse through the categories of settings. Press the menu/select button to enter the sub-menu.
- Press the up and down buttons to browse through the sub-menu. Press the menu/select button to enter the adjustment settings of the desired setting.
- Press the up and down buttons to adjust the desired setting. Press the menu/select button to confirm the adjustment.
- Press the exit/input menu button to exit the OSD menu.
OSD menu settings
Below is a list of the settings available that can be adjusted through the OSD menu.
| Category | Sub-Menu | Options | Description |
| BRIGHTNESS | Brightness | 0-100 | Adjusts the display brightness |
| Contrast | 0-100 | Adjusts the display contrast | |
| ECO modes | Standard, Movie, Game, Text | Sets the display’s color balance to pre-set levels to suit different uses | |
| DCR | On, Off | Turns the DCR function on/off | |
| IMAGE | H. position | 0-100 | Adjusts the horizontal position of the display |
| V. position | 0-100 | Adjusts the vertical position of the display | |
| Clock | 0-100 | Adjusts the clock setting | |
| Phase | 0-100 | Adjusts the phase setting | |
| Aspect | Wide, Auto, 4:3 | Sets the aspect ratio | |
| COLOUR TEMP. | Cooler temp. | Warm, User, Cool, Normal | Includes pre-set (Warm, Cool, Normal) and custom (User) cooler temperatures |
| Red | 0-100 | Allows for manual adjustment of the RGB cooler balance | |
| Green | 0-100 | ||
| Blue | 0-100 | ||
| Low blue light | Off, Weak, Middle, Max | Adjusts the intensity of the low blue light effect | |
| OSD SETTINGS | Language | English | Sets the OSD language |
| OSD H. POS. | 0-100 | Adjusts the horizontal position of the OSD menu | |
| OSD V.POS. | 0-100 | Adjusts the vertical position of the OSD menu | |
| OSD timer | 0-60 | Sets how long the OSD menu will remain on-screen without input (in seconds) | |
| Transparency | 0-100 | Sets the level of transparency of the OSD menu | |
| RESET | Image auto adjust | Using this feature automatically adjusts the horizontal/vertical position, focus, and clock of the display | |
| Color auto adjust | N/A | Using this feature will reset the color settings to default | |
| Reset | N/A | Resets the monitor to factory default settings | |
| MISC. | Signal source | VGA, HDMI | Selects the input signal source |
Adjusting the angle of the monitor
The screen can be tilted forwards up to 5° or backwards up to 15°.
To adjust the angle, hold the edges of the screen with both hands and tilt.
Note:
Do not directly touch the screen when tilting.
Input menu shortcut
To quickly change the input source between HDMI and VGA:
- Press the exit/input menu button to access the input menu.
- Press the up and down buttons to highlight the desired input source, then press the menu/select button to confirm.
Brightness shortcut
When outside the OSD menu, press the up and down buttons to adjust the brightness.
ECO modes
There are various pre-set color modes suited for various use cases available on this monitor.
These can be accessed using the ECO modes menu. The modes include the following:
- Standard (suitable for most activities)
- Movie (best suited when watching movies)
- Game (best suited for general gaming)
- Text (best suited when reading text)
CLEANING & CARE
Ensure the monitor is turned off and unplugged before cleaning.
- Wipe the body with a slightly damp, clean cloth.
- Wipe the screen with a dry microfiber cloth.
Note:
Do not use cleaning alcohol, ammonia-based liquids, or other harsh cleaners.
SPECIFICATIONS
| Model | KAMN21F7VA |
| Screen size | 21.5″ |
| Aspect ratio | 16:09 |
| Backlight | E–LED |
| Brightness | 250cd/m² |
| Panel | VA |
| Resolution | 1920 x 1080 |
| Refresh rate | 75Hz |
| Response time | 6.5ms |
| Viewing angle | 178° (H) 178° (V) (typical) |
| Contrast ratio | 3000:1 |
| VESA mounting | 75 x 75mm |
| Colours | 16.7M |
| FreeSync | No |
| Signal input | x1 VGA, x1 HDMI 1.4 |
| Power | DC 12V, 3A |
Audio
| Audio out | No |
| Speakers | No |
Accessories
| Power adapter | Yes |
| HDMI cable | Yes |
Additional functions
| Low blue light | Yes |
| Flicker-free | Yes |
Physical dimensions
| Dimensions (with stand) | 492.5 x 172.7 x 359.1mm |
| Dimensions (without stand) | 492.5 x 47.6 x 280.4mm |
| Net weight | 2.1kg |
| Gross weight | 3.1kg |
Need more information?
We hope that this user guide has given you
the assistance needed for a simple set-up.
For the most up-to-date guide for your product,
as well as any additional assistance you may require,
head online to help.kogan.com
Kogan.com



















