ULTRALUX Lighting WNBG2750 Helix LED Pendant CLEANLIFE Instruction Manual
Thank you for purchasing ULTRALux• LIGHTING Fixtures!
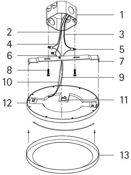
Overview

- JUNCTION BOX (NOT INCLUDED)
- WHITE SUPPLY WIRE
- BLACK SUPPLY WIRE
- SUPPLY GROUND WIRE
- WIRE NUT (x3)
- FIXTURE GROUND WIRE
- MOUNTING BRACKET
- MOUNTING SCREW (x2)
- WHITE FIXTURE WIRE
- BLACK FIXTURE WIRE
- CCT SWITCH
- FIXTURE PAN
- DECORATIVE TRIM
SAFETY INSTRUCTIONS
Turn power off before installation, inspection, or removal.
Use all necessary precautions while performing this procedure.
Consult a qualified electrician to ensure correct branch circuit conductor. Min 90°C supply conductors.
Properly ground electrical enclosure. IT IS IMPERATIVE THAT THE JUNCTION BOX BE PROPERLY GROUNDED.
DO NOT REVERSE THE HOT AND NEUTRAL CONNECTIONS, OTHERWISE SAFETY WILL BE COMPROMISED.
This Integrated LEO Fixture has no lamp/bulb to replace.
Do not remove or touch the inside of plastic lens covering the LED board.
GENERAL: All electrical connections must be in accordance with local and National Electrical Code (N.E.C.) standards. If you are unfamiliar with proper electrical wiring connections, contact and obtain the services of a qualified electrician. Use UL or IEC approved wire only for input/output connections.
Remove fixture and mounting components from the box, and make sure that no parts are missing by referencing the illustration in the installation instructions.
DIMMING: This product is compatible with most common residential type dimmers. Dimming performance will depend upon dimmer, dimmer settings (dimmers with adjustments to brightness range), wiring method, and number of LED modules. For best results, set dimmer position at maximum before adjusting to a lower light level.
- SHUT OFF MAIN ELECTRICAL SUPPLY FROM THE MAIN FUSE BOX/CIRCUIT BREAKER
- Remove contents from box. Ensure that no parts are missing. Reference the illustration included with this instruction manual.
- Before installing, select desired color temperature using the CCT SWITCH (11).
- Pull the SUPPLY WIRES (2 Et 3) and the SUPPLY GROUND WIRE (4) out from the JUNCTION BOX (1.)
- Attach the MOUNTING BRACKET (7) to the JUNCTION BOX (1).
Use the slotted holes on the MOUNTING BRACKET (7) and the provided MOUNTING SCREWS (8). - Make the following wire connections (Fig.1), using the provided WIRE NUTS (5): WHITE (NEUTRAL/COMMON) SUPPLY WIRE (2) TO WHITE FIXTURE WIRE (9) BLACK (LINE) SUPPLY WIRE (3) TO BLACK FIXTURE WIRE (10) SUPPLY GROUND WIRE (4) TO FIXTURE GROUND WIRE (6)
If necessary, wrap all wire connections in electrical tape to ensure secure connection. - Carefully tuck all wiring back into the JUNCTION BOX (1).
- Place the FIXTURE PAN (12) over the JUNCTION BOX (1). Attach the FIXTURE PAN (12) to the JUNCTION BOX (1) by rotating and locking the fixture onto the MOUNTING BRACKET (7).
- Select your trim color . The DECORATIVE TRIM (13) will attach to the FIXTURE PAN (12) magnetically.
- Restore power at fuse box/circuit breaker. Check operation of Integrated LED Fixture.
- Installation complete.
TROUBLESHOOTING
- Check that line voltage at fixture is correct.
- Ensure that there is voltage at lamp fixture If there is no voltage, then check all connections.
- Check that fixture is grounded properly.
If fixture does not light:
- Check switch to ensure that there are no defects.
- Check fuse/circuit breaker for trips, then check wiring connections.
CLEANING AND MAINTENANCE
CAUTION: Ensure fixture temperature is cool enough to touch. DO NOT clean or perform maintenance while fixture is energized .
- Clean lens and Suite with non-abrasive cleaning
- Do not open fixture to clean Do not touch the LED.
- Do not spray liquid directly on to LEO, LED driver or wiring.
Please read carefully before installing fixture
Save these instructions, as you may need them at a later date.
5-YEAR LIMITED WARRANTY
LIMITED WARRANTY: This fixture is warranted to be free from defects in workmanship and material for up to 5-years. Based upon reasonable household usage, when used in accordance with package and included inst ructions. If this fixture does not last for the time period guaranteed, manufacturer will send you a replacement fixture upon receipt of the returned fixture, register receipt, and proof of purchase. To contact us, please email us at [email protected] or call us at 1-800-316-2532 to find out how to return the fixture. We are committed to making high quality products . Returning the fixture will help us monitor and further improve product quality . This replacement is the sole remedy available, and LIABILITY FOR INCIDENTAL OR CONSEQUENTIAL DAMAGES IS HEREBY EXPRESSLY EXCLUDED.
This device complies with Part 15 of the FCC Rules and has been tested and found to comply with the limits for Class B digital device. Operation is subject to the following two conditions:
- this device may not cause harmful interference, and
- this device must accept any interference received, including interference that may cause undesired operation. Any changes or modifications not expressly approved by manufacturer could void user’s authority to operate the equipment.
Toll Free: 1-800-316-2532
2021 ULTRALUX’ LIGHTING 1s a registered trademark of Superior Ventures LLC All rights reserved.















