Contents hide
wallbox QUASAR 7.4kW Bidirectional Charger

General Specifications
- A – Cable length and connector type
- B – Dimensions
- C – Package weight and net weight
- D – Operating Temperature
- E – Storage Temperature
- F – Grid Codes
Electrical Specifications
- A – Maximum Power (peak) – 7,4 kW (1P)
- B – Maximum AC Current – 6 A – 32 A
- C – Cable Section – 5 x 10 mm²
- D – Rated Frequency & AC Voltage – 50 Hz – 230 V ± 10%
- E – DC Voltage Range – 150 V – 500 V
- F – Protection Rating & Surge – IP54 / IK08 & CAT II
- G – [1] Depending on country specific regulations.
Part Number Structure
- Model
QSX1 – Quasar DC Standard - Cable
0 – 5 m - Connector
J- CHAdeMO - Power
- 4,6 kW
- 7,4 kW
- Version
4 – RFID - Custom
XX2 – Black
Important Notes
- Follow local regulations on electrical installations, fire prevention, accidents, and emergency-exits.
- Refrain from touching the charger and the connector cable when charging and for at least 10 minutes after disconnecting.
- Installation must be performed following local regulations and by trained personnel.
- Ensure that the power supply is off, and no voltage is present before and during installation.
- Always be aware of the operating temperatures of the device.
- Install the charger in a ventilated location and do not install in places exposed to direct sunlight.
- Always use safety shoes during the installation and safety glasses when drilling.
- Ensure the mounting surface supports the charger’s weight and withstands mechanical forces.
- Be aware of the weight when handling the package and the device.
- Practice discretion before touching the charger’s metal parts as they can be hot.
- Remove the power supply at least 30 minutes before unmounting the device.
- Mount the charger in vertical position.
- Do not install Quasar near:
- Flammable, explosive, or combustible materials.
- Chemicals, solvents, gas pipes or steam outlets.
- Radiators or batteries.
- Areas prone to flooding, high humidity and running water.
- A free area of at least 500 mm surrounding the charger is needed to help the air flow needed for heat dissipation.
Minimum object – free area
Required Tools

Mounting Parts

Drilling
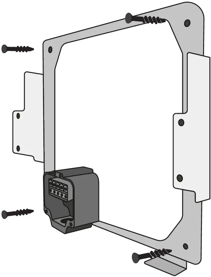
- Place the wall plate on the wall and mark the fixing points.

- Drill holes where the fixing points are marked.

- Insert the wall anchors into the fixing holes.

Lower Connection
- Fix the wall plate by inserting the screws.

- Make an incision on the M25 1-exit grommet. Cut the thin plastic area on the right side of the connector box. Insert the grommet.

- Insert the power cable through the grommet, fix it by installing the clamp.

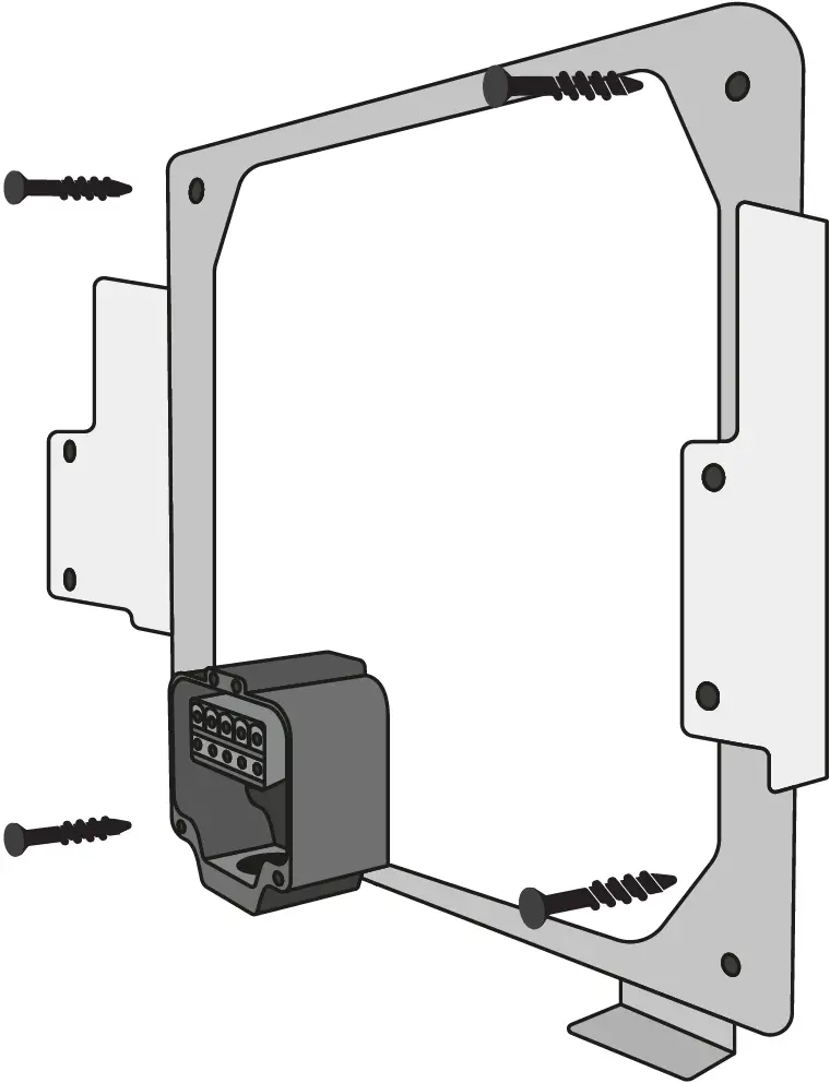
Rear Connection
- Make an incision on the M25 1-exit grommet. Cut the thin plastic area on the ride side of the connector box. Insert the grommet.

- Insert the power cable through the grommet.

- Fix the wall plate by inserting the screws.

Electrical Wiring
- Install the wires as shown and close the connector box with its cover.
L: Line
N: Neutral
PE: Protective Earth

Electrical Precautions
- The power supply line must be wired to an existing installation and must be in accordance with local regulations regarding Overvoltage Category II equipment.
- Always use standard copper cables having conductor area between 6 mm² to 10 mm².
- The charger must be permanently connected to electrical earth.
Plug Holder Installation
- Place the plug holder on the wall and mark the fixing points.

- Drill holes where the fixing points are marked.
Insert the wall anchors into the fixing holes.
- Fix the device on the wall by inserting and tightening the screws.

Mounting
- Connect the plug to the holder, ensure it’s well connected, and roll the hose around the holder.

- Hold the Quasar by opposite corners and fix it on the wall plate by aligning it with the connector box.

- Make sure the charger is fixed to the wall plate before inserting the screws.

Current Selection
- Open the communication lid by removing the screws.

- Position the current selector to an appropriate setting.
Position 0, 8, and 9 are reserved for Power Sharing Smart*
NOTE: 4.6 kW version will only accept rotary switch positions from 1 to 5.
- Close communication lid if ethernet port is not to be used.

Ethernet
- A. Make an incision on the M25
3- exit grommet. Cut the thin plastic area. Insert the M25
3-exit grommet. - Insert the ethernet cable only, crimp the RJ45 connector to the cable and connect it to the ethernet port.
Communications cables, including the ethernet cable should have a maximum length of 30 meters.
Inserting the cable with the RJ45 connector already crimped through the grommet will void the warranty.
- Close the communication lid.

- Configure the Ethernet connection at 10 Mbps.
Registering the Charger
- Download the myWallbox App and register.

- Add your charger by scanning the QR code on the frame.

- Select the “I already have a charger” on the “+” option and then add your charger by scanning the QR code on the frame.

For more information on setting up your charger, refer the user guide on the Wallbox Academy page https://support.wallbox.com/
Grid Code Configuration
- Check the local regulations and the electricity supplier requirements for vehicle to grid, vehicle to business and vehicle to home features.
- Wrong settings may cause problems, disruptions and equipment damage to the electrical system and to the distribution network.
- Wrong use may be subject to fines.

- Quasar can be used for discharging in a secure, reliant, and compliant way by enabling the grid codes applicable for the region the charger is located.
If Grid Codes are not correctly configured, discharge can not be enabled.
Only qualified and authorized personnel must configure or edit the grid codes.
In order to configure the Grid Codes, the Charger must NOT be charging/discharging. - On the myWallbox App, connect to your charger, go to settings and enter the Installation Options menu.

- Grid Code configuration is protected by a password. Introduce the password as shown in the below format:
P/W : 1 + Last three digits of the serial number
NOTE: If incorrect passwords are entered for 3 consecutive attempts, you will have to wait for 3 mins. for the next attempt.
- Check that the default selected grid code (based on the charger’s location) is correct. If there are multiple grid codes, select the most appropriate one. In case the p/w is requested again, introduce it as described in step C above.

- Click Edit to configure the editable parameters. In case the p/w is requested again, introduce it as described in step C above.
NOTE: The editable parameters are grouped together for ease of configuration and indicators are set for dependent parameters.
- Register all changes made to the editable parameters.
NOTE: The user details, date and all edited parameters are automatically added in the Logs section when the Installer registers all changes.
Vehicle to Home Configuration
Scan the QR code below for instructions to install the energy meter required for using the V2H functionality.

Scan the QR code below for instructions to configure the V2H functionality on the myWallbox App.

Stop Port Connections
- Open the communication lid and connect through the grommet an external equipment or emergency button.

- Stop Port is used to externally stop the charging and discharging process.
- Right: Stop Switch Enabled
Left: Stop Switch Disabled
Disable Switch Positions
- Switch: Enabled
- Stop Port: Enabled, Signal Open
- Charging & Discharging: Disabled
- Stop Port: Enabled, Signal Closed
- Charging & Discharging: Enabled

- Switch: Disabled
- Stop Port: Disabled
- Charging: Enabled
- Discharging: Enabled if V2G is enabled in myWallbox portal.

- Close the communication lid.
Safety Recommendations
- Follow all the safety and installation instructions carefully. Failure to follow instructions may be a safety hazard and/or cause equipment malfunction.
- Any resulting damage due to disregard or actions contrary to the instructions in this manual is excluded from the product warranty.
Legal Notice
- Any information in this manual may be changed without prior notice and does not represent any obligation on the part of the manufacturer.
- Images in this manual are for illustration purposes only and might differ from the delivered product.
- The integrated Energy metering is mean only for information, it’s not allowed to be used to calculate cost of energy nor payments for charging.
Safety and Maintenance Instructions
- Do not use this product if the enclosure or the connector is broken, cracked, open, or shows any other indication of damage. Please contact your distributor.
- The installation, maintenance, and servicing of the Wallbox device must be performed only by qualified personnel in accordance with applicable local regulations. Unauthorized installation and modifications make the manufacturer warranty void.
- Protect your Wallbox device from any external impact.
- Do not use your Wallbox charger under adverse climatic conditions.
- Do not open the cover in rain.
- Do not touch the charging cable if the connector emits smoke or begins to melt. If possible, stop the charging.
- Do not open the front cover of the charger while it is connected to the power supply.
- Take appropriate precautions with electronic medical implants.
- Disconnect main service power to the charger before cleaning the unit. Do not use cleaning solvents to clean any part of the charger. Clean it with a clean, dry cloth to remove dust and dirt accumulation.
- Use the Wallbox charger under the specified operating parameters and within normal ambient conditions as specified in the General and Electrical Specifications section.
- The maximum installation altitude is 2000m.
Connector Recommendations
- Do not use the product if the charging cable is frayed, has broken insulation, or any other signs of damage or the vehicle plug, or electrical outlet is dirty, wet, or damaged.
- Disconnect the vehicle connector and the equipment plug only after stopping the charging process.
- Do not apply force to disconnect the vehicle connector. Doing so may cause serious injuries or in some cases it may even prove to be fatal.
- Do not use the charging cable with a cable adaptor or an extension cable.
- Under any circumstances, do not tighten the connecting cable while it is connected to the vehicle.
- Keep the charging cable out of the reach of children and do not step on it.
Electrical Precautions
The power supply line must be wired to an existing installation and be in accordance with local regulations.
- The charger must be electrically protected by installing externally a Miniature Circuit Breaker (MCB) and a Residual Current Circuit Breaker (RCCB) / RCD. Additionally it may be protected by a Surge Protection Device (SPD).
- MCB: Recommended C curve, 6kA rated short-circuit capacity. Rated current according to wiring limits and charger setting but no more than 32 A. It shall be a reversely-connectable type.
- RCD/RCCB: According to local regulations, Type A or Type B. Manual reset type only.
- SPD: Where required for use under conditions of overvoltage category III. Type 2 (surge arrester) recommended
- Local regulations may require an emergency switch to be installed externally.
Need more assistance? You can reach out to us: [email protected]























































