

Installation Guide
COPPER SB
General Specifications

COPPER SB
| A – Connector type | Type 2 Socket outlet |
| B – Dimensions | 260x192x113 mm |
| C – Weight | 2 kg |
| D – Operating Temperature | -25 ºC to 40 ºC |
| E – Storage Temperature | -40 ºC to 70 ºC |
| F – Standards | CE mark (LVD 2014/35/EU, EMCD 2014/30/EU) IEC 61851-1, IEC 61851-22, IEC 62196-2 |
Electrical Specifications

COPPER SB
| A – Charging Power | 11 kW (3P) | 22 kW (3P) |
| B – Rated Voltage AC ± 10% | 400V | 400V |
| C – Rated Current | 16 A (3P) | 32 A (3P) |
| D – Cable Section | up to 5x 10 mm² | |
| E – Rated Frequency | 50 Hz / 60 Hz | |
| F – Configurable | from 6 A to rated current | |
| G – Protection Rating | IP54 / IK08 | |
| H – Overvoltage Category | CAT III | |
| I – Residual Current Detection | DC 6 mA | |
| J – External RCCB required per local regulations. | Type A or Type B | |
| K – Protection against electric shock | CLASS I | |
Part Number Structure

COPPER SB
| XXXX-X-X-X-X-XXX 1 2345 6 | |||||
| 1 – Model | 2 – Cable | 3 – Connector | 4 – Power | 5 – Version | 6 – Custom |
| CPB1 – | S – Socket W – Socket | 2 – Type 2 | 3 – 11 kW | 8 – RFID + DC | XX2 – Black |
| Copper SB | with shutter | 4 – 22 kW | Leakage |
Tools
Required Tools

Mounting Parts
Included Mounting Parts

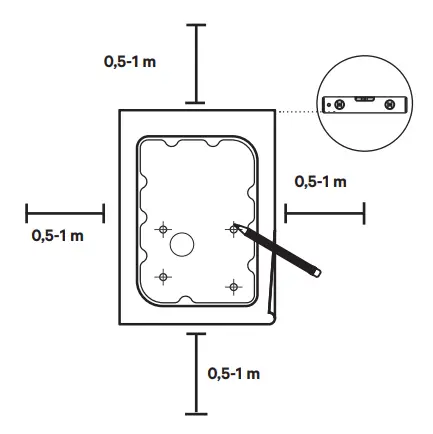
Drilling

A. Place the drilling template on the wall and mark the four fixing points. Make sure you leave a clearance of 0,5-1 m at all sides.
![]()

B. Drill holes where the fixing points are marked.

C. Insert the wall anchors into the fixing holes.
![]()

Opening the Cover

A. Remove the frame from the charger starting from the top by unclipping it. Then pull the rest of the frame.

B. Open the nine clips manually to carefully unclip the cover. Next, disconnect the communications cable from the cover. Keep in mind that the use of any kind of tool for opening the clips is neither recommended nor acceptable.
Opening the Cover

Positions 0, 8, and 9 reserved
for Power Sharing Smart.
C. Position the current selector to the appropriate setting according to the electrical installation.
| POSITION | 0 | 1 | 2 | 3 | 4 | 5 | 6 | 7 | 8 | 9 |
| CURRENT (A) | R | 6 | 10 | 13 | 16 | 20 | 25 | 32 | R | R |
3.1 – Lower Connection

A. Fix the charger on the wall by inserting the screws and then the rubber plugs.
![]()
B. Make an incision on the grommet for the power supply cable.

C. Insert the power supply cable through the grommet and secure it with the cable clamp.
![]()

3.2 – Rear Connection
A. Remove the knock-out on the back of the charger and insert the M25 grommet.

![]()
B. Make an incision on the grommet and insert the power supply cable.
C. Fix the device on the wall by inserting the screws and then the rubber plugs.
![]()

Electrical Wiring

Ethernet Connection
In case power supply and ethernet cables are not installed in the same outlet.
A. Remove the knock-out next to the power supply input and insert a rubber plug.

![]()
B. Make an incision in the rubber plug and insert the ethernet cable without the RJ45 connector.
Watch the excess of cable inside the charger and ensure that the cable is not too tight but has some slack to facilitate reopening of the cover later for maintenance or servicing.

C. Crimp the RJ45 connector to the cable and connect the cable to the ethernet port on the charger.

i For 3G/4G interface (optional feature, requires an accessory), find the instructions on https://support.wallbox.com. Contact your sales agent for details.

Closing the Cover
A. Attach the open end of the communications cable to the connector on the cover.

B. Close the nine clips carefully and tighten the eight screws. Keep in mind that the use of any kind of tool for opening the clips is neither recommended nor acceptable.
![]()
Max Torque / Speed values: 1,2 Nm / 30 rpm

C. Fit the frame over the charger and then finally, insert and tighten the two screws.

![]()
i The charger should only be opened, closed, and serviced by a professional electrician. Do not attempt to service the charger on your own. Doing so might result in making the
product warranty void.

Registering the Charger
A. Locate the Serial Number (SN) and the UID of your charger.

B. Download the myWallbox App and register.
![]() | ![]() |
| https://itunes.apple.com/es/app/wallbox/id1188288011?mt=8 | https://play.google.com/store/apps/details?id=com.wallbox |
ADD
C. Add your charger by introducing the requested data.
https://support.wallbox.com/en/knowledge-base/how-to-update-the-firmware-of-your-copper-sb/
D. Check for latest updates.
For OCPP activation, please refer to the manual in
https://support.wallbox.com/en/knowledge-base/ocpp_activation_manual/
Safety and Maintenance Instructions
- Installation, maintenance, & servicing of the charger must be performed only by qualified personnel per the applicable local regulations. Unauthorized installation and modifications make the manufacturer warranty void
- Do not use if the enclosure or connector is broken, cracked, opened, or shows any indication of damage. Please contact your distributor
- Do not touch the charging cable if the connector emits smoke or begins to melt. if possible , stop charging
- Power off the charger before opening the cover or cleaning the unit. Do not use cleaning solvents on any part of the charger. Use a clean, dry cloth to remove dust and dirt. Do not open the cover in the rain
- Take appropriate precautions with electronic medical implants
- Use the Wallbox charger under the operating parameters and within normal ambient conditions specified in the General and Electrical Specifications.
- Ventilation not supported
- It is not recommended to install the charger in a position that has direct sunlight or under extreme weather conditions.
Simplified EU declaration of conformity
Hereby, Wallbox declares that the equipment (Copper SB) is in compliance with Directive 2014/53/EU, Directive 2014/30/EU, and Directive 2014/35/EU. The full text of the EU declaration of conformity is available at the following internet Address: https://support.wallbox.com/en/knowledge-base/ce-declaration/
Safety Recommendations
- Follow all the safety and installation instructions carefully
- Failure to follow instructions may be a safety hazard and/or cause equipment malfunction
- Any resulting damage due to disregard or actions contrary to the instructions in this manual is excluded from the product warranty.
Connector Recommendations and Installation Instructions
- Do not use if the charging cable is frayed, has broken insulation, or has any signs of damage or the vehicle plug or electrical outlet is dirty, wet, or damaged
- Do not use the charging cable with a cable adaptor or an extension cable
- Under any circumstances, do not tighten the charging cable while it is connected
- It is mandatory use the plug holder provided with the unit to protect the connector from dirt and other weather elements and from slipping during usage.
Installation Instructions
- Watch the installation video for your charger available at the Wallbox Academy web page: https://support.wallbox.com
- Ensure that the mounting surface can adequately support the weight of the charger and withstand mechanical forces associated with usage
- The charger must be permanently connected to the electrical Earth of the installation.
- Install the charger in a sufficiently ventilated area. Do not install the charger in direct sunlight, or near flammable, explosive, or combustible materials, chemicals or solvents, gas pipes or steam outlets, radiators or batteries, and areas prone to flooding, high humidity, and running water.
Electrical Protection

The power supply line must be wired to an existing installation and be in accordance with local regulations.- The charger must be electrically protected by installing externally a Miniature Circuit Breaker (MCB) and a Residual Current Circuit Breaker (RCCB).
- MCB: Recommended C curve, 6kA rated short-circuit capacity. Rated current according to the power supply and charger set but no more than 32 A.
- RCCB: According to local regulations, Type A or Type B. Manual reset type only. Local regulations may require an emergency switch to be installed externally.
Disposal Advice
- In accordance to the Directive 2012/19/EC, at the end of its useful life, the product should not be disposed of as urban waste. It should be taken to a collection center or to a distributor that provides disposal of special and differentiated waste.
Limited Warranty
- Wallbox warrants this product against defects in materials and workmanship for a period of 2 years from the date of purchase
- During this period, at its discretion, Wallbox will either repair or replace any defective product at no charge to the owner
- Replacement products or repaired parts will be guaranteed for only the unexpired portion of the original warranty or six months whichever is greater.
- Any defect resulting from any accident, misuse, improper maintenance, or normal wear and tear is not covered by the limited warranty
- Substitution or incorporation of any part by the client will be considered as incorrect usage
- Except to the extent permitted by applicable law, the terms of this limited warranty do not exclude, restrict, or modify, and are in addition to, the mandatory statutory rights applicable to the sale of the product to you. If you believe your product is defective, contact Wallbox for instructions on where to send or bring it for repair.
Legal Notice
- Any information in this manual may be changed without prior notice and does not represent any obligation on the part of the manufacturer. Images in this manual are for illustration purposes only and might differ from the delivered product. For more information on setting up your charger, visit the Wallbox Academy age https://support.wallbox.com/
Service
Need more assistance? You can reach out to us:
United Kingdom
+44 20 3318 3779
www.wallbox.com
[email protected]





















