PALLADIOM LBMRJ-C Wire-Free Roller Shade

WARNING: Important safety instructions
- This device is not intended for use by persons (including children) with reduced physical, sensory, or mental capabilities, or lack of experience and knowledge, unless they have been given supervision or instruction concerning use of the device by a person responsible for their safety. Children must be supervised to ensure that they do not play with the device.
- DO NOT allow children to play with device controls.
Keep remote controls away from children. - Frequently examine the installation for imbalance and signs of wear or damage to cables, springs, and fixings. DO NOT operate the device if repair or adjustment is necessary.
- This device is powered by D size, alkaline batteries only; DO NOT mix battery types.
- Install new batteries only; DO NOT mix new and used batteries.
- DO NOT install damaged or modified batteries.
- DO NOT install rechargeable batteries.
- Remove depleted batteries promptly and dispose of them responsibly in accordance with local laws and policies. Recycle if possible.
- Wear hand and face protection when removing batteries found to be leaking, and dispose of leaking batteries responsibly in accordance with local laws and policies.
- Remove all batteries from the device:
- when maintenance is being performed in the vicinity.
- when the device will be unused or stored for an extended period of time.
- DO NOT expose the device or its batteries to extreme temperature.
- Metal objects in the area of the batteries and battery terminals may cause a short circuit and device failure; keep foreign objects away from the batteries and battery compartment.
COMPONENTS
PALLADIOM Wire-Free Roller Shade
Bracket Kit
(1) Left Bracket & (1) Right Bracket*, according to configuration ordered each bracket includes one 1 shim; wall and ceiling brackets include foot cover(s)
Wall
Ceiling / Door 
Jamb 
Operator Bracket Slide Ring 
Wall / Ceiling / Door Bracket Foot Covers 
Mounting Screws quantity varies
* IMPORTANT: A shade ordered with a center bracket specified on the right side (for ganged installation) will include only the bracket specified for the left side. The center bracket will be included as the left bracket for the next shade (to the right) in the ganged installation. Refer to section 1.2 for additional information.
Models

Hereby, Lutron Electronics Co., Inc. declares that the radio equipment LBMRK-C is in compliance with Directive 2014/53/EU.
The full text of the EU declaration of conformity is available at the following internet address: www.lutron.com/cedoc
FCC / IC INFORMATION
This device complies with part 15 of the FCC Rules and Industry Canada license-exempt RSS standard(s).
Operation is subject to the following two conditions:
- This device may not cause interference.
- This device must accept any interference, including interference that may cause undesired operation.
Modifications not expressly approved by Lutron Electronics Co., Inc. could void the user’s authority to operate this equipment.
NOTE: This equipment has been tested and found to comply with the limits for a Class B digital device, pursuant to part 15 of the FCC Rules. These limits are designed to provide reasonable protection against harmful interference in a residential installation. This equipment generates, uses and can radiate radio frequency energy and, if not installed and used in accordance with the instructions, may cause harmful interference to radio communications. However, there is no guarantee that interference will not occur in a particular installation. If this equipment does cause harmful interference to radio or television reception, which can be determined by turning the equipment off and on, the user is encouraged to try to correct the interference by one or more of the following measures:
- Reorient or relocate the receiving antenna
- Increase the separation between the equipment and receiver
- Connect the equipment into an outlet on a circuit different from that to which the receiver is connected
- Consult the dealer or an experienced radio/TV technician for help
This Class B digital apparatus complies with Canadian ICES-003.
Important Installation Notes:
- A. Plan the installation to maintain sufficient clearance between the shade and any other object, including window or door trim, ceilings, corners, hardware, cranks, lock levers, other shades, and drapery.
- B. This product is not suitable for mounting in a pocket or recess.
- C. This product is battery powered and requires specific installation clearances to allow battery changes without demounting.
Please refer to the Product Specification Submittal, PN 085708, and Application Note #802 (both available for download at Lutron.com) for detailed installation limitations and restrictions. - D. For safety, shades over 48 in (1219 mm) must be installed by two people.
- E. The shade system must be mounted to blocking or other suitable structural material. It is the responsibility of the installer to choose and install fasteners that are appropriate for the mounting surface such that each shade bracket can support 400 lbs (181.4 kg).
TOOLS NEEDED

MEASURE AND MARK FOR A SINGLE SHADE
A. Outside Mount – Wall, Ceiling, or Door

- Measure across the window at the top, and make a mark at the half-way point.
- Note the correct bracket-to-bracket width (BtoB), on the shade box label.
- Measuring from the window center to the left, mark a distance equal to: BtoB / 2.
- Repeat the process, measuring from the window center to the right, to mark the opposite bracket location.
- Measure from mark to mark, verifying the distance is equal to BtoB, ±1/8 in (3 mm).
B. Inside Mount – Ceiling
- Note the correct bracket-to- bracket width (BtoB), on the shade box label.
- Measure from jamb to jamb at the top of the window opening, verifying the distance is equal to BtoB, ± 1⁄8 in (3 mm).
- Measuring from the front edge of the window opening toward the window glass, mark the mounting surface at the desired bracket mounting depth.

Inside Mount – Jamb
- Note the correct bracket-to-bracket width (BtoB), on the shade box label.
- Measure from jamb to jamb at the top of the window opening, verifying the distance is equal to BtoB, ± 1⁄8 in (3 mm).
- Measuring down from the top of the window opening, mark each jamb at the desired bracket mounting height.*
- Measuring from the front edge of the jamb toward the window glass, mark each jamb at the desired bracket mounting depth.*

* Important Inside-Mount Clearance Information
ROLLUP RADIUS (RR): Measure the fabric roll diameter (Rollup Diameter; also listed on the original shade quote). RR = Rollup Diameter / 2.
JAMB BRACKET MOUNTING HEIGHT: To ensure adequate fabric roll clearance, jamb brackets must be mounted at a distance from the top of the jamb equal to or greater than the Rollup Radius (RR) minus 1/2 in (13 mm). 
MOUNTING DEPTH: To allow free access to the battery compartment, the mounting depth must be 5/8 in (16 mm) or less.
Brackets may be mounted deeper than 5/8 in (16 mm), but battery access will require full removal of the shade from the brackets.
** BOTTOM BAR CLEARANCE: To ensure adequate clearance for the PALLADIOM bottom bar, the distance from the rear of the bracket to the window must be equal to or greater than the Rollup Radius (RR) minus 1-1/8 in (29 mm).
For all other bottom bar types (Architectural, Designer, Sealed), the distance from the rear of the bracket to the window must be equal to or greater than the Rollup Radius (RR) minus 1-5/8 in (41 mm).
MEASURE AND MARK FOR GANGED SHADES (3-shade example)
- Measure across the window at the top, and make a mark at the half-way point (Window Center).
- Note the correct bracket-to-bracket width (BtoB), on each shade box label, then add the widths together to get the Total System Width (TSW).
- Measuring from the window center on a level line to the left, mark a distance equal to: TSW / 2.
- Measuring from the mark made in Step 3 on a level line to the right, mark a distance equal to Shade 1 BtoB.
- Measuring from the mark made in Step 4 on a level line to the right, mark a distance equal to Shade 2 BtoB.
- Measure from end-mark to end-mark, verifying the distance is equal to the TSW, calculated at Step 2.

Ganged Shades Example:
- Shade BtoB is measured to/from the centerline of center brackets
- Individual shade BtoB tolerance is ± 1⁄8 in (3 mm)
- Inside mount shown – measure-and-mark procedure is the same for outside mount
- All inside mounting depth, height, and clearance information presented in section 1.1 above is applicable to inside-mounted ganged shades
- Wall-mount center brackets are operator-side reversible – ceiling mount center brackets are not
MOUNT THE SHADE BRACKETS
CAUTION: RISK OF FALLING OBJECTS. Read and follow all instructions for mounting the shade system. Failure to follow these instructions could result in minor to moderate injury.
NOTE: The mounting holes in all brackets are elongated to allow for adjustment. Confirm that brackets are level and aligned (add shims if necessary), and verify the correct bracket-to-bracket width before tightening the mounting screws.
A. Mount the Idler Bracket
Align the idler bracket with the bracket location mark(s) at the idler side of the window, and mark the mounting hole locations. Pre-drill pilot holes if appropriate, and fasten the bracket using the mounting screws provided or other fasteners appropriate for the mounting surface.
End Bracket
Center Bracket 
Jamb Bracket
Remove the socket plate screw and separate the socket plate from the mounting plate, then align on the marks and secure with 2 screws.
Reinstall the socket plate and secure it with the socket plate screw.
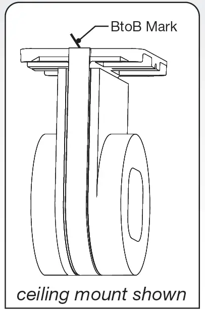
B. Mount the Operator Bracket
Align the operator bracket with the bracket location mark(s) at the operator side of the window, and mark the mounting hole locations. Pre-drill pilot holes if appropriate, and fasten the bracket using the mounting screws provided or other fasteners appropriate for the mounting surface.
End Bracket
Align the outside edge of the bracket on the BtoB mark and secure with 4 screws
Center Bracket
Align the center of the bracket on the BtoB mark and secure with 4 screws
Jamb Bracket
Align the Jamb Bracket on the marks and secure with 2 screws.
INSTALL FOOT COVERS
IMPORTANT: Before proceeding, confirm all brackets are located properly and securely mounted, ensuring that the installed shade(s) will be level and unobstructed. Make any final bracket position adjustments needed before installing bracket foot covers.
Position a cover on the mounting surface as shown, and slide it over the bracket foot to conceal the fastener heads. Repeat for the remaining brackets. 
INSTALL THE SLIDE RING ON THE SHADE
IMPORTANT: Before attaching the Slide Ring to the shade, refer to the pictures at right for correct Slide Ring orientation according to the bracket type and operator side.
Note the position of the Retention Clip (always on top, always opposite the Ribbon Cable)

Wall or Jamb – Right Operator Wall or Jamb – Left Operator
Ceiling / Door Mount – Right Operator Ceiling / Door Mount – Left Operator
CAUTION: RISK OF FALLING OBJECTS. Read and follow all instructions for securing the Slide Ring to the shade using the Retention Clip. Failure to follow these instructions could result in minor to moderate injury.
A. Convert to Left Operator, if applicable
IMPORTANT: Wall and jamb brackets are operator-side reversible, and factory configured for RIGHT OPERATOR shades. When installing a LEFT OPERATOR shade with wall or jamb brackets, you must reverse the Retention Clip position as shown below.
When installing a RIGHT OPERATOR shade, or when the operator bracket is ceiling-mounted, SKIP THIS STEP and proceed directly to Step B.

- From the backside of the Slide Ring, remove the two (2) Retention Clip screws and move the Retention Clip to the opposite side of the Slide Ring
- Install only one (1) screw, and do not tighten it completely.
- Keep the second screw nearby, and proceed directly to step 4B.2.
B. Attach the Slide Ring to the Shade
- From the backside of the Slide Ring, loosen the two (2) Retention Clip screws. Leave one screw loosened, and remove the other completely.

- Orient the operator end of the shade as shown.


- Align the (4) ribs on the Slide Ring with the grooves on the shade and snap the Slide Ring onto the shade.

- Swing the Retention Clip back into its original position and reinstall the second screw. Tighten both screws firmly.
HANG THE SHADE IN THE BRACKETS
A. Insert the Idler
- Insert the shade idler into the idler bracket socket as shown. The idler will land with an audible “CLICK” when it is fully seated. Wall mount shown.
- Pull back on the shade gently to verify there is resistance, confirming the idler is engaged in the bracket.

B. Engage the Operator End
Align the channels on the backside of the Slide Ring with the with the tracks on the operator bracket, and slide the shade into the bracket. Continue sliding the shade all the way back
into the bracket as far as it will go until it seats with an audible “CLICK”. Remove any packaging material that is still on the fabric roll
Wall / Jamb 
Ceilling 
Door 
INSTALL BATTERIES
A. Open the Battery Door
- To access the Battery Door, grasp the fabric roll at the drive end and pull it out, away from the bracket.

- Push in, then up on the Battery Door to release it from the shade.

- The open Battery Door allows access to the Battery Sleeve.

IMPORTANT: DO NOT pull the Battery Door away from the shade. The Battery Door is attached to the shade by the Ribbon Cable. Allow the door to hang below the battery opening as shown, and do not allow the Ribbon Cable to twist.
B. Load the Batteries 
- Use a finger to reach into the battery opening and pull out the Battery Sleeve. Pull the sleeve all the way out and away from the shade.

- Load the Battery Sleeve with NEW 1.5 V Alkaline, D-Cell batteries. Information on the sleeve indicates quantity and direction.

- Slide the loaded Battery Sleeve back into the shade as far as it will go
Important Battery Information
BATTERIES: Install NEW 1.5 V Alkaline, D-Cell batteries. Do not mix brands or types. Lutron recommends Duracell® or RAYOVAC® batteries. The Battery Sleeve indicates correct orientation.
BATTERY LIFE: Battery life varies with shade size, fabric weight, and daily usage patterns. Estimated battery life will be calculated in the shade ordering tool based on size and fabric selections.
FLEXIBLE BATTERY SLEEVE: If an adjacent object or structure obstructs full removal of the Battery
Sleeve, but is at least 3 in (76 mm) away from the Battery Door, the Battery Sleeve may be cut at the locations shown to add flexibility and allow removal and installation of batteries one-by-one.
CLOSE-QUARTERS INSTALLATIONS: If the shade was mounted in a location or at an inside-mount depth that allows less than 3 in (76 mm) of clearance for Battery Sleeve removal, the shade must be removed from the brackets to install or change batteries.
TO REMOVE THE SHADE FROM THE BRACKETS:
Extend the operator bracket Slide Ring, then press the Slide Ring release (behind the shade) to release the shade. Pull the idler end of the shade out of the idler bracket socket.
FINAL SHADE SETUP
A. Power the Shade
- Swing the Battery Door up into the battery opening. Push it in and then down to secure it back in its original position.
- The shade LED will flash a multi-color sequence when battery contact is made, confirming the shade is powered.
B. Assign a Pico Remote Control*
- Tap the shade button. The shade LED will light steady GREEN.
- Press and hold the Close button on the Pico remote control for 10 seconds. The shade button LED and the Pico LED will both flash rapidly, then turn off, confirming the assignment.
* To assign control of the shade within a system, refer to the setup guide supplied with the system
C. Set the Open Limit

- Tap the shade button. The LED will light steady GREEN.
- Press and hold the Open and Raise buttons on the Pico remote control for 10 seconds.
- The LED will flash rapidly, then turn steady GREEN.
- Use the Raise / Lower to move the shade to the desired open limit, then press and hold the Open button for 10 seconds. The shade button LED and the Pico LED will both flash rapidly, then turn off, confirming the open limit is set.
D. Set the Close Limit
- Tap the shade button. The LED will light steady GREEN.
- Press and hold the Open and Raise buttons on the Pico remote control for 10 seconds.
- The LED will flash rapidly, then turn steady GREEN.
- Use the Raise / Lower buttons to move the shade to the desired close limit, then press and hold the Close button for 10 seconds. The shade button LED and the Pico LED will both flash rapidly, then turn off, confirming the close limit is set.
- Slide the shade fully back into the bracket as shown in Step 5B.
The Lutron logo, Palladiom, and Pico are trademarks of Lutron Electronics Co., Inc., registered in the U.S. and other countries Lutron Electronics Co., Inc. 7200 Suter Road, Coopersburg, PA 18036-1299, U.S.A.
Duracell is a registered trademark of Duracell U.S. Operations, Inc., RAYOVAC is a registered trademark of Spectrum Brands, Inc.
Worldwide Headquarters | USA
Lutron Electronics Co., Inc.
7200 Suter Road, Coopersburg, PA 18036-1299 USA
Customer Assistance: 1.844.LUTRON1 (588-7661)
lutron.com/help | [email protected]
EEA | Netherlands
Lutron NL B.V.
Herengracht 466
1017 CA Netherlands
(Importer)
United Kingdom
Lutron EA Ltd
125 Finsbury Pavement, 4th floor, London EC2A 1NQ, UK
TEL: +44.(0)20.7702.0657 | FAX: +44.(0)20.7480.6899
Technical Support: +44.(0)20.7680.4481 | FREEPHONE: 0800.282.107





























