Roller Shade Driver
User Manual
Product Introduction Roller Shade Driver El is a Zigbee 3.0 smart product that can help you control the bead chain of your shades/blinds and transform your existing roller shade into a smart one. With an Aqara Zigbee 3.0 hub, it can realize functions such as remote control and timing control via the Aqara Home app, and work with other smart devices to form a smart home system. *An Aqara Zigbee 3.0 hub is required. Some functions require specific models of hubs. Please consult www.aqara.com/support for more details.
Warnings
- This appliance can be used by children aged 8 years and above and persons with reduced physical, sensory or mental capabilities or lack of experience and knowledge if they have been given supervision or instruction concerning the use of the appliance in a safe way and understand the hazards involved.
- Children shall not play with the appliance.
- Cleaning and user maintenance shall not be made by children without supervision.
- WARNING: the drive shall be disconnected from its power source during cleaning, maintenance, and when replacing parts.
- 1t must only be supplied at Separated or Safety Extra-Low Voltage (SELV).
- WARNING: Important safety instructions. It is important for the safety of persons to follow these instructions. Save these instructions.
- Do not allow children to play with fixed controls.
- Frequently examine the installation for imbalance and signs of wear or damage to cables springs and fixings. Do not use if repair or adjustment is necessary.
- Do not operate when maintenance, such as window cleaning, is being carried out in the vicinity.
- WARNING: Important safety instructions. Follow all instructions since incorrect installation can lead to severe injury.
- Before installing the drive, remove any unnecessary cords or components and disable any equipment not needed for powered operation.
- That the characteristics of the driven part must be compatible with the rated load and rated operating time.
- This appliance contains batteries that are non-replaceable.
- Fixed controls have to be clearly visible after installation.
Preparation before Use
- A smartphone or tablet that supports Wi-Fi or a cellular network (with iOS or Android system) is required.
- An Aqara Zigbee 3.0 hub is required (The distance between this product and your hub should be within 30 m).
- Download and install the Aqara Home app.
- A drilling machine is required (must be equipped with a 4) 5 drill bit).
- Please make sure that there is a Wi-Fi connection and your internet connection is stable.
- Please charge the Roller Shade Driver El for about 2 hours and 30 minutes.
- The mass and the dimension of the shade to be driven shall be compatible with the rated torque and rated operating time.
- Note: The accessories are only compatible with bead chains that meet the following standards:

Plastic/metal beads with a thickness of 3-6 mm
Device Installation
Scan the QR code below to watch the installation guide.
https://cdn.aqara.com/cdn/website/mainland/static/media/Roller-Shade-Driver-E1_Tutorial_EN.mp4
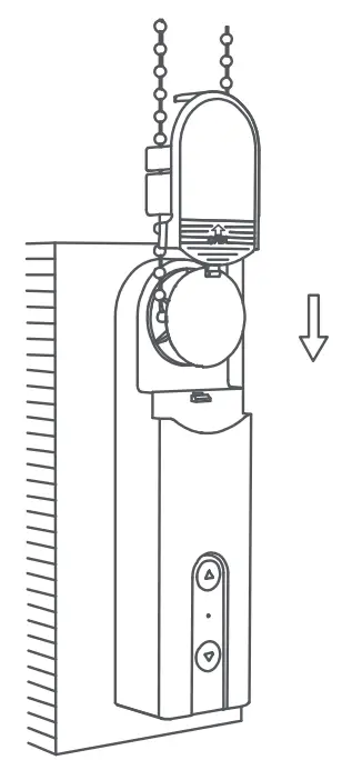
Choose the installation location.
First, remove the head cover of the device.
Select the plate according to the following plate-bead matching relationship, and install it on the output shaft of the device.
Beads with a diameter of 3 – 4.5 mm (most popular)
Beads with a diameter of 4.5 – 6mm, and beaded cords with the connector (the thickness of the connector should be less than 6mm)
Hang the bead chain on the plate of the device and pull it down tightly (not too tight), keep the bead chain tight and hold the device on the wall, and find a suitable installation location.
Please make sure that the bead chain is put in the selected installation position properly and does not cross.
Hold the device in a suitable position, and press the up or down button of the device to ensure that the bead chain rotates in a stable manner and does not slip (press the up or down button again to stop the motor while rotating).
Attention: do not make the bead too tight
Hold the device on the selected installation position, and outline the shape of the device along its bottom on the wall with a pencil.
Remove the back cover of the device and fix it at a position about 3-5 mm down from the mark. Use screws to fix the product. After fixing the back cover, install the device together with the bead chain back on the back cover.
Push the handle to remove the back cover
Remove the protection sheet on the head cover, and install the head cover back on the device. The installation is complete.
Device Binding & Initialization
- Before activating the accessory, please make sure you have the Aqara Home app and the Aqara Zigbee 3.0 hub installed.
- Please open the app, tap “Home” and then tap “+” in the top right corner to enter the “Add Device (Accessory)” page. Select “Roller Shade Driver El” and the hub to be connected to, and add it according to instructions in the Aqara Home app. Press and hold the RESET button for 5 seconds, and wait for the voice prompt from the Hub.
Device Rotating Range Setup
- After the device is connected to the network, you can set the device rotating range via the Aqara Home app, click the device card on the homepage of Aqara Home app, and follow the instructions on the page to set the rotating range;
- When the device is not connected to the network, the device rotating range can also be set by pressing the buttons;
Button Operations
Rotating Range Settings
4, Delete rotating range After the device is installed, press the Up and Down button at the same time for 3 seconds until the indicator light turns blue, and then release it


















