U-PROX Multiplexer Wired Alarm Integration Module
WIRED ALARM INTEGRATION MODULE
Is a part of the U-Prox security alarm system User manual Manufacturer: Integrated Technical Vision Ltd.U-Prox Multiplexer – is a wireless module designed to connect EN wired equpment (detectors, IR barriers, gas detectors, wired sirens etc) to wireless U-Prox control panel. Has power output, switched power output and built-in LiIon batteries to power backup. It is installed indoors.The device is connected to the control panel and is configured with the U-Prox Installer mobile application.
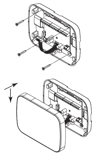
Functional parts of the device (see picture)
- Device case
- Light indicator
- Case back cover
- Сonduit for wires
- Locking screw
- Tamper case
- Upper part of the device, rear view
- Connector
- On/off button
- Battery compartment
- Bottom plate of device
- Tamper switch
- Bottom plate connector
- Power supply connector
TECHNICAL SPECIFICATIONS
COMPLETE SET
- U-Prox Multiplexer;
- Two 18650 batteries (pre-installed);
- Quick start guide
CAUTION
RISK OF EXPLOSION IF BATTERY IS REPLACED BY AN INCORRECT TYPE. DISPOSE USED BATTERIES ACCORDING TO THE NATIONAL REGULATIONS
WARRANTY
Warranty for U-Prox devices (except batteries) is valid for two years after the purchase date. If the device operates incorrectly, please contact [email protected] at first, maybe it can be solved remotely.
REGISTRATION
INSTRANGE TEALLA ST FTION LOR OPOCATIONTIMAL
Due to Grade 2 requirement RF link works with reduction of power in 8 dB

INDICATION IN RANGE
INSTALLATION
INDICATION

LED CONNECTION
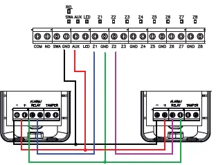
SENSORS CONNECTION
adjustable alarm sign (NO or NC) for each input
























