Simply45 S45-3600B-W Cat6-6A UTP 180 Degree Keystone Jack

Cat6/6A UTP 180° Keystone Jack 110 Style, Toolless, w/6 Color ID, 568B Wiring Label, ANSI/TIA 568.2-D, ISO/IEC 11801 Class E, Ea, UL
TERMINATION INSTRUCTIONS
| TIA / EIA | TIA / EIA | |
| T568A | T568B | |
| 1 | White/Green | White/Orange |
| 2 | Green | Orange |
| 3 | White/Orange | White/Green |
| 6 | Orange | Green |
| 4 | Blue | |
| 5 | White/Blue | |
| 7 | White/Brown | |
| 8 | Brown | |
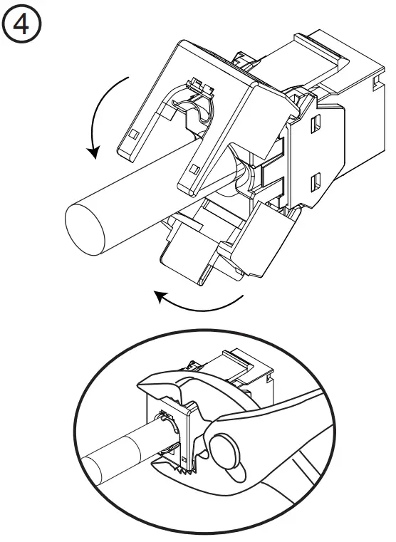
INSTALLATION STEPS
- Strip off 1.6 inch of cable jacket. Fold back the drain wire.

- Insert a cable into the termination cap and fan out all four twisted pairs. Following the instruction of the color-coded wire position printed on the termination cap, position conductors into the slots and make sure the conductors are in the proper slot. Trim the ends of the conductors.

- Install the termination cap to outlet, which will also allocate the conductors sitting on the slots

- Secure the hinged outlet by using a crimp tool until it completely snap to effect the connection

- Fasten a cable tie wrap to secure drain wire on the cable fixture.
























