
S45-3500B/W
Cat5E UTP 180° Keystone Jack 110 Style,
Toolless, w/6 Color ID, 568B Wiring Label, ANSI/TIA 568.2-D,
ISO/IEC 11801 Class D, UL
TERMINATION INSTRUCTIONS
| JACK PIN DESIGNATIONS 1 2 3 6 4 5 7 8 | TIA/ EIA T568A | TIA/ EIA T568B |
| White/Green Green | White/Orange Orange | |
| White/Orange Orange | White/Green Green | |
| Blue White/Blue | ||
| White/Brown Brown | ||

Strip off 1.6 inch of cable jacket.

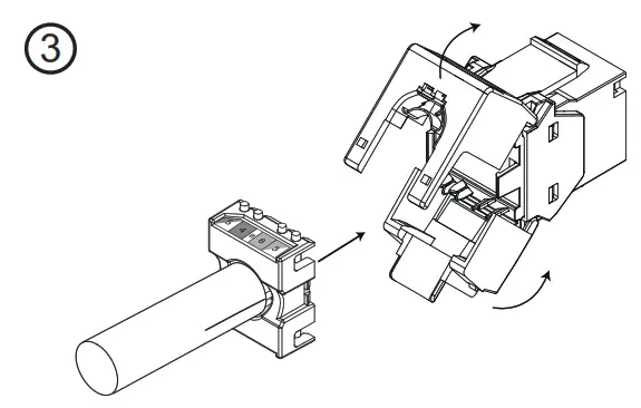
Insert a cable into the termination cap and fan out all four twisted pairs.
Following the instruction of the color-coded wire position printed on the termination cap, position conductors into the slots and make sure the conductors are in the proper slot. Trim the ends of the conductors.
Install the termination cap to outlet, which will also allocate the conductors sitting on the slots. 
Secure the hinged outlet by closing the flaps completely.
Fasten a cable tie wrap to secure the cable fixture.

















