Omnimount OM110608 Large Full Motion TV Mount
DISCLAIMER – WARNING INFORMATION
Disclaimer
OmniMount Systems, Inc. has extended every effort to ensure to accuracy and completeness of this manual. However, OmniMount Systems, Inc. does not claim that the information covers all installation or operational variables. The information contained in this document is subject to change without notice or obligation of any kind. Regarding the information contained herein, OmniMount Systems, Inc. makes no representation of warranty, expressed or implied, and assumes no responsibility for accuracy, sufficiency, or completeness of the information contained in this document.
Wall Mounts
WARNING: FAILURE TO READ, THOROUGHLY UNDERSTAND, AND FOLLOW ALL INSTRUCTIONS CAN RESULT IN SERIOUS PERSONAL INJURY, DAMAGE TO PERSONAL
PROPERTY, OR VOIDING OF FACTORY WARRANTY!
It is the responsibility of the installer to ensure all components are properly assembled and installed using the instructions provided. If you do not understand these instructions or have any questions or concerns, please contact customer service at 1-800-668-6848 or [email protected]. Do not attempt to install or assemble this product if the product or hardware is damaged or missing. In the event that replacement parts or hardware are needed, please contact Customer Service at 1-800-668-6848 or [email protected]. International customers needing assistance should contact the Dealer from which they purchased the product. The included hardware is designed for use on vertical walls constructed of wood studs or solid concrete. A wood stud wall is defined as consisting of a minimum of 2×4 wooden studs (2” wide by 4” deep) with a maximum of 5/8” drywall. The included hardware is not designed for use with metal studs or cinderblock walls. If you’re uncertain about the construction of your wall, then please consult a qualified contractor or installer for assistance. For a safe installation, the wall you are mounting to must support 4 times the weight of the total load. If not, then the surface must be reinforced to meet this standard. The installer is responsible for verifying that the wall structure and hardware used in any installation method will safely support the total load.
WEIGHT CAPACITY
USE WITH FLAT PANELS EXCEE DING THE MAXIMUM WEIGHT CAPACITY OF THIS PRODUCT MAY RESULT IN PRODUCT FAILURE CAUSING POSSIBLE INJURY AND OR PROPERTY DAMAGE .
TOOLS NEEDED – NOT INCLUDED
CONTENTS
| Contents | ||
| Part # | Qty | Description |
| 1 | 1 | Wall Plate |
| 2 | 1 | Arm Assembly |
| 3 | 1 | Cable Management |
| 4 | 1 | Monitor Plate |
| 5 | 2 | Tilt Tension Handle |
| 6 | 4 | Spider 46 Adapters |
| 7 | 4 | Lateral Adjustment Screws |

| Screws / Hardware for Flat Panel | ||
| Part # | Qty | Description |
| M-A | 4 | Philips screws M4 x 15mm |
| M-B | 4 | Philips screws M4 x 30mm |
| M-C | 4 | Philips screws M5 x 15mm |
| M-D | 4 | Philips screws M5 x 30mm |
| M-E | 4 | Philips screws M6 x 15mm |
| M-F | 4 | Philips screws M6 x 30mm |
| M-G | 4 | Philips screws M8 x 15mm |
| M-H | 4 | Philips screws M8 x 30mm |
| M-I | 4 | Round Spacers: M6-M8 x 5mm |
| M-J | 4 | Round Spacers: M6-M8 x 10mm |
| M-K | 4 | Round Washers: M4-M5 |
| M-L | 4 | Round Washers: M6-M8 |
| Wall Kit | ||
| Part # | Qty | Description |
| W-A | 4 | Lag Bolts (8mm x 65mm) |
| W-B | 4 | Steel Washer |
| W-C | 4 | Wall Anchor (10mm OD x 8mm ID) |
| Specialty Hardware | ||
| Part # | Qty | Description |
| P-A | 8 | Carriage Bolt |
| P-B | 8 | Nylock Nut |
| P-C | 8 | Washer |
| P-D | 2 | Phillips Screw M4x6mm |
| P-E | 2 | M4 Washer |
| P-F | 1 | Closed Wrench |
| P-G | 1 | Allen Wrench |
VESA PATTERN GUIDELINES
STEP 1 A: ≤ 200mm X 200mm

STEP 1 B/C/D: > 200mm X 200mm – INSTALL ADAPTERS
STEP 1 B/C/D: > 200mm X 200mm

STEP 2 – WOOD STUD INSTALLATION
STEP 3 – WOOD STUD INSTALLATION
STEP 3 SOLID WALL INSTALLATION

STEP 4 – WOOD STUD INSTALLATION
STEP 4 SOLID WALL INSTALLATION

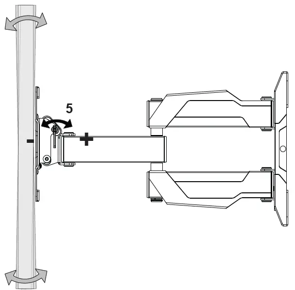
STEP 5
STEP 6 – HANG TV
STEP 7 – LEVEL TV
STEP 8 – ROUTE CABLES

STEP 9 – ADJUST TILT TENSION

WARRANTY
This warranty applies to US Residents who purchase from an authorized OmniMount Dealer. OmniMount products are covered against defects in materials and workmanship for 5 years. OmniMount will repair or replace the defective component or product, at its sole discretion. Failure to follow product care instructions from OmniMount will result in void of warranty. To obtain warranty service, contact OmniMount customer service at 800.MOUNT.IT (800.668.6848) or [email protected]. You must supply a copy of your original receipt. If your product must be shipped to OmniMount for inspection, you will be responsible for the shipping charges. Replacement product shipped to you will be returned freight pre-paid. OmniMount disclaims any liability for modifications, improper installations, installations over the specified weight range, or failure to follow care instructions provided by OmniMount. To the maximum extent permitted by law, OmniMount disclaims any other warranties, expressed or implied, including warranties of fitness for a particular purpose and warranties of merchantability. OmniMount will not be liable for any damages arising out of the use of, or inability to use, OmniMount products. OmniMount bears no responsibility for incidental or consequential damages. This includes, but is not limited to, any labor charges for the repair of OmniMount products performed by anyone other than OmniMount. This warranty gives you specific legal rights, and you may also have other rights which vary from state to state. Specifications are subject to change without prior notice.
NEED HELP
- Ergotron, Inc.
- 4402 East Baseline Road Ste.130
- Phoenix, AZ 85042
- 1-800-MOUNT-IT (1-800-668-6848)
- www.omnimount.com
- Ergotron Europe
- Beeldschermweg 3
- 3821 AH Amersfoort
- The Netherlands
- +31 334545600
- www.omnimount.com
QUESTIONS?
NEED HELP? PLEASE CALL 1-800-MOUNT-IT (1-800-668-6848)




















