AVARRO NX-FMSA1337 Full Motion Small TV Mount

Features
- Fits 13-37″ up to 40lbs.
- VESA 75 x 75 to 200 x 200 (W x H) (mm)
- Locking mechanism secures rails to wall plate (pad lock optional)
- Tilts up to 10° to reduce glare
- Effortless tilting and swivel capability for more advanced viewing angles
- Low 1.98″ profile
- Post installation leveling
CAUTION: DO NOT EXCEED MAXI-MUM WEIGHT CAPACITY. SERIOUS INJURY OR PROPERTY DAMAGE MAY OCCUR!Max Loading Weight: 40 lbs
TOOLS NEEDED

SYMBOLS

HARDWARE PRODUCT NUMBERS

MONITOR PLATE AND ADAPTERS
Use diagrams to determine which mounting configuration is needed to attach monitor plate (with or without adapters) to the back of TV. Please check TV wall mounting compatibility before proceeding with installation.

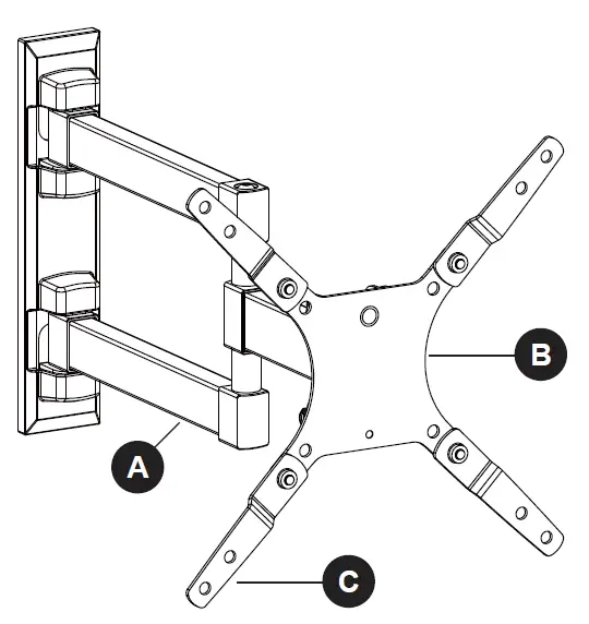
PRODUCT COMPONENT PARTS

| Contents | ||
| A | 1 | Wall Plate |
| B | 1 | Monitor Plate |
| C | 4 | Monitor Adapters |
STEP 1 – REMOVE SCREW AND PLASTIC COVERS

STEP 2-MONITOR PLATE ATTACHMENT
Connect monitor plate to TV

STEP 2B- MONITOR ADAPTERS ATTACHMENT TO MONITOR PLATE
Use Adapters for larger TV hole patterns

ADAPTER CONFIGURATIONS

STEP 2C- USE M8 STEEL WASHER IF THE PHILLIPS SCREWS FROM THE MONITOR KIT ARE TOO LONG

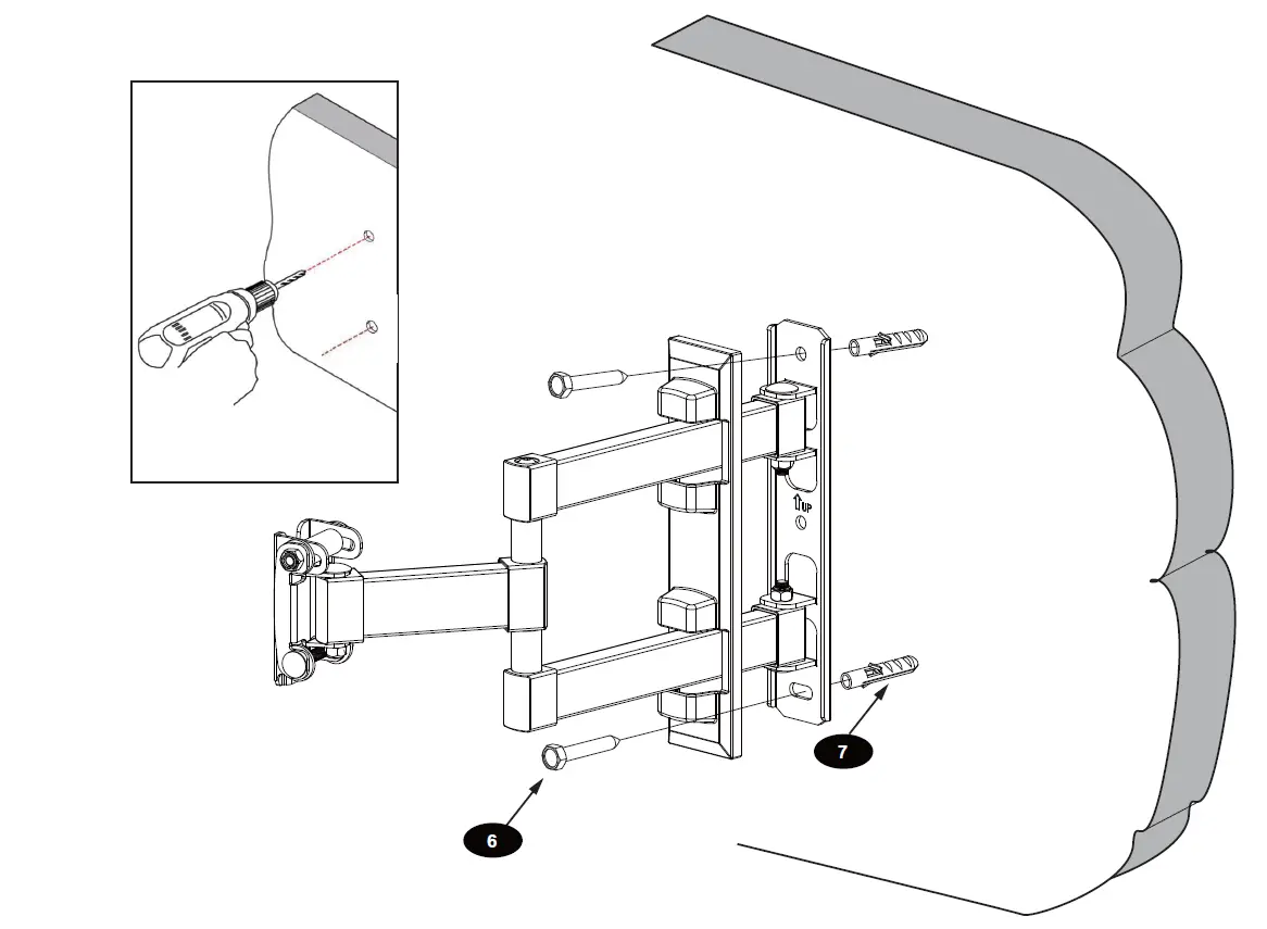
STEP 3A- WOOD STUD INSTALLATION (CONCRETE INSTALLATION SKIP TO STEP 3B)
Find stud and mark edge and center locations

STEP 3A- DRILL PILOT HOLE AND MOUNT WALL PLATE TO WALL
Mount wall plate

STEP 3B – SOLID CONCRETE INSTALLATION

STEP 3B- DRILL PILOT HOLE AND MOUNT WALL PLATE TO WALL
Drill Pilot Hole

STEP 4 – ATTACH PANEL TO MOUNT
- Hang with TV attached
- Locking mechanism

STEP 5 LEVEL AND JUST TILT

Limited Warranty
General
Subject to the terms and conditions of this Limited Warranty, from the date of sale through the period of time for product categories specified in Section 1(b), ADI warrants AVARRO branded products to be free from defects in materials and workmanship under normal use and service, normal wear and tear excepted. Except as required by law, this Limited Warranty is only made to Buyer and may not be transferred to any third party.
ADI shall have no obligation under this Limited Warranty or otherwise if:
- The product is improperly installed, applied or maintained;
- The product is installed outside of stated operating parameters, altered, or improperly services or repaired;
- Damage is caused by outside natural occurrences, such as lightning, power surges, fire, floods, acts of nature, or the like.
- Defects resulting from unauthorized modification, misuse, vandalism, or other causes unrelated to defective materials or workmanship, or failures related to batteries of any type used in connection with the products sold hereunder.
ADI only warrants those products branded AVARRO and sold by ADI. Any other products branded by third parties are warranted by the third party manufacturer for a period as defined by the third party manufacturer, and ADI assigns to Buyer those warranties and only those warranties extended by such third party manufacturers or vendors for non-ADI branded products. ADI does not itself warrant any non-ADI branded product and sells only on an as is basis in accordance with ADI’s terms and conditions of sale.
Specific Warranties for product categories are as follows
| Product Categories | Warranty Period |
| Mounts | 5 years |
| Rack | 5 years |
EXCLUSION OF WARRANTIES, LIMITATION OF LIABILITY
THERE ARE NO WARRANTIES OR CONDITIONS, EXPRESS OR IMPLIED, OF MERCHANTABILITY, OR FITNESS FOR A PARTICULAR PURPOSE OR OTHERWISE, WHICH EXTEND BEYOND THE DESCRIPTION ON THE FACE HEREOF. TO THE FULLEST EXTENT PERMITTED BY LAW, IN NO CASE SHALL ADI BE LIABLE TO ANYONE FOR ANY (I) CONSEQUENTIAL, INCIDENTAL, INDIRECT, SPECIAL, OR PUNITIVE DAMAGES ARISING OUT OF OR RELATING IN ANY WAY TO THE PRODUCT AND.OR FOR BREACH OF THIS OR ANY OTHER WARRANTY OR CONDITION, EXPRESS OR IMPLIED, OR UPON ANY OTHER BASIS OF LIABILITY WHATSOEVER, EVEN IF THE LOSS OR DAMAGE IS CAUSED BY ADI’S OWN NEGLIGENCE OR FAULT AND EVEN IF ADI HAS BEEN ADVISED OF THE POSSIBILITY OF SUCH LOSSES OR DAMAGES. Any product description (whether in writing or made orally by ADI or ADI’s agents), specifications, samples, models, bulletin, drawings, diagrams, engineering sheets, or similar materials used in connection with the Buyer’s order are for the sole purpose of identifying ADI’s products and shall not be construed as an express warranty or condition. Any suggestions by ADI or ADI’s agents regarding use, applications or suitability of the products shall not be construed as an express warranty or condition unless confirmed to be such in writing by ADI. ADI does not represent that the products it sells may not be compromised or circumvented; that the products will prevent any personal injury or property loss by burglary, robbery, fire or otherwise, or that the products will in all cases provide adequate warning or protection. Buyer understands and will cause its customer to understand that a properly installed and maintained product is not insurance or guarantee that such will not cause or lead to personal injury or property loss. CONSEQUENTLY ADI SHALL HAVE NO LIABILITY FOR ANY PERSONAL INJURY, PROPERTY DAMAGE OR OTHER LOSS BASED ON ANY CLAIM AT ALL INCLUDING A CLAIM THAT THE PRODUCT FAILED TO GIVE WARNING. However, if ADI is held liable whether directly or indirectly for any loss or damage with respect to the products it sells, regardless of cause or origin, its maximum liability shall not in any case exceed the purchase price of the product, which shall be fixed as liquidated damages and not as a penalty and shall be the complete and exclusive remedy against ADI.
Limitation on Liability to Buyer’s Customers.
Buyer agrees to limit liability to its customers to the fullest extent permitted by law. Buyer acknowledges that ADI shall only be deemed to give consumers of its products such statutory warranties as may be required by law and at no time shall Buyer represent to its customers and/or users of ADI products that ADI provides any additional warranties. By accepting the products, to the fullest extent permitted by law, Buyer assumes all liability for, and agrees to indemnity and hold ADI harmless against and defend ADI from, any and all suits, claims, demands, causes of action and judgments relating to damages, whether for personal injury or to personal property, suffered by any person, firm, corporation or business association, including but not limited to, Buyer’s customers and/or users of the products because of any failure of the products to detect and/or warn of the danger for which the goods were designed or any other failure of the products whether or not such damages are caused or contributed to by the sold or joint concurring negligence or fault of ADI.
Returns
Subject to the terms and conditions listed below, during the applicable warranty period, ADI will replace Product or provide a credit at purchase at its sole option free of charge any defective products returned prepaid. Any obligations of ADI to replace Limited Lifetime warranty products pursuant to this warranty which result from defect are limited to the availability of replacement product. ADI reserves the right to replace any such products with the then currently available products, or provide a credit in its sole discretion. In the event Buyer has a problem with any ADI product, please call your local ADI branch for return instructions:
- For US call 1-800-233-6261
- For Canada call 877-234-7378
- For Puerto Rico call 787-793-8830
Be sure to have the model number and the nature of the problem available. In the event of replacement, the return product will be credited to Buyer’s account and a new invoice issued for the replacement item. ADI reserves the right to issue a credit only in lieu of replacement. If any AVARRO branded products are found to be in good working order or such product’s inability to function properly is a result of user damage or abuse, the product will be returned to Buyer in the same condition as received and Buyer shall be responsible for any return freight changes.
Governing Law
The laws of State of New York apply to this Limited Warranty.
Miscellaneous
Where any term of this Limited Warranty is prohibited by such laws, it shall be null and void, but the remainder of the Limited Warranty shall remain in full force and effect.
For more information please call 1-833-574-9124 or email [email protected]


















