
lindab | for a better climate

LindabUltraLink®MonitorFTMU
Mounting instruction
2022-10-28
Please note:
- The transducers must never be removed!
- Do not use the transducers as handles when you mount the FTMU since this may cause damage!
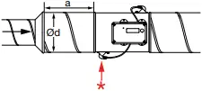
Transducers
- Make sure the airflow arrow is pointing in the direction of the airflow.
Airflow direction arrow
- Rotate the senor body to the correct position according to next page.
- Position the display so it is visible from a suitable direction. By loosening the screw of the steel strip, the display unit can be rotated.

- Mount the FTMU into the air duct system according to the mounting instructions for Lindab Safe.
- Never use a FTMU on the outlet side of a duct fan. Place it on the inlet side or in worst case use a flow conditioner if it must be placed on the outlet side.
- The longer distance to disturbance, i.e. the longer straight duct before the UltraLink, the higher the measurement accuracy will be.

- Note the ID-number of the FTMU. The ID is the three last numbers of the serial number and can be found:
– on the label of the box it was delivered in
– on the label on the FTMU itself
– in the display after pressing the “MODE” button
– in the App when the product is turned on

- To avoid issues with measurement accuracy due to air turbulence:
Make sure you never install a measurement unit after (in airflow direction) two disturbance fittings (refering to number 1 and 2) where those two fittings are installed in two different levels and the airflow also turnes in cross direction. (Refering to number 3)
Not following these rules the measurement might 2 not be accurate due to air turbulance.
Where non-optimal installation situations appear, or several successive disturbance faults may exist, please contact Lindab sales for consulting.
Airflow direction
Positioning
| Disturbance | * Placement of first flow sensor | Measurement uncertainty ± % or X l/s depending wich is the greatest* | |||
| A | |||||
| 2–4רd | >4–5רd | >5רd | |||
| Bend | ![]() | Inner radius (Best position) | 5 | 5 | 5 |
| T-piece | ![]() | Inner radius (Best position) | 10 | 5 | 5 |
| Reducer | ![]() | Duct diameter decrease | 5 | 5 | 5 |
| Reducer | ![]() | Duct diameter increase | 10 | 5 | 5 |
* ±5 % or l/s (Ø100 = ±1,00, Ø125 = ±1,25, Ø160 = ±1,60, Ø200 = ±2,00, Ø250 = ±2,50, Ø315 = ±3,15, Ø400 = ±4,00, Ø500 = ±5,00, Ø630 = ±6,30)
Lindab reserves the right to make changes without prior notice 2022-10-28

Declaration of conformity and FCC statement
| 1. Declaration number | 1001 |
| 2. Unique identification code of the product | FTMU |
| 3. Type | Ultrasonic device |
| 4. Product description | Measuring and communicating air flow and temperature |
| 5. Manufacturer | Lindab Ventilation AB Stålhögavägen 115, 26982 Båstad, Sweden Telephone +46 431 85000, www.lindab.com |
| Developed, designed and manufactured with the essential requirements by safe and security of the European Directive(s) and Regulation(s): | |
| 2014/30/EU | Electromagnetic Compatibility Directive (EMC) |
| 2011/65/EU & 2015/863/EC | Restriction of Hazardous Substances (RoHS) |
| The partly completed machinery is developed, designed and manufactured with the essential requirements of the following standards: | |
| EN 61000-6-1:2002 – Part 6-1 | Generic standards – Immunity for residential, commercial and light-industrial environments |
| EN 61000-6-2:2005 – Part 6-2 | Generic standards – Immunity for industrial environments |
| EN 61000-6-3:2002 – Part 6-3 | Generic standards – Emission standard for residential, commercial and light-industrial environments |
| EN 61000-6-4:2002 – Part 6-4 | Generic standards – Emission standard for industrial environments |
FCC cuation and statement
This device complies with Part 15 of the FCC Rules. Operation is subject to the following two conditions: (1) this device may not cause harmful interference, and (2) this device must accept any interference received, including interference that may cause undesired operation. Changes or modifications not expressly approved by the part responsible for compliance could void the user’s authority to operate the equipment. This equipment complies with FCC exposure limits set forth for an uncontrolled environment.
“This equipment has been tested and found to comply with the limits for a Class B digital device, pursuant to part 15 of the FCC Rules. These limits are designed to provide reasonable protection against harmful interference in a residential installation. This equipment generates, uses and can radiate radio frequency energy and, if not installed and used in accordance with the instructions, may cause harmful interference to radio communications. However, there is no guarantee that interference will not occur in a particular installation. If this equipment does cause harmful interference to radio or television reception, which can be determined by turning the equipment off and on, the user is encouraged to try to correct the interference by one or more of the following measures:
- Reorient or relocate the receiving antenna.
- Increase the separation between the equipment and receiver.
- Connect the equipment into an outlet on a circuit different from that to which the receiver is connected.
- Consult the dealer or an experienced radio/TV technician for help.”
This declaration of conformity is established under the sole responsibility of the manufacturer identified in point 5.
Signed for and on behalf of the manufacturers by:

Authorised person:
Karel Kleinmond
Group Operations Director
2021-01-18 Karlovarska, Czech Repulic























