
Smoke Control System
Instruction Manual
Smoke Control System

Introduction
This mounting instruction refers to a rectangular smoke control system for single compartment tested in two hours at a temperature of 600°C at a positive pressure of +500 Pa and negative pressure of -1500 Pa in horizontal position up to 1900×1700 mm and in vertical position up to 1250×1000 mm according to the following standards:
| Classification: | EN 13501-4 | Fire classification of construction products and building elements. Classification using data from fire resistance tests on components of smoke control systems. |
| Test Method: | EN 1366-9 | Fire resistance tests for service installations Single compartment smoke extraction ducts. |
| Requirements: | EN 12101-7 | Smoke and heat control systems. Smoke duct sections. |
| ≤ 1250×1000 mm | E600 120 (ve- ho) S 1500 single |
| > 1250×1000 mm ≤ 1900×1700 mm | E600 120 (ho ) S 1500 single |
Intended use
The system is a part of a smoke and fire protect system and is designed to reach the following targets:
- Extract smoke for 2 hours during the fire
- Reduce temperatures during the fire
- Create an non-smoke layer
- Protect the property
This system represents a part of the smoke and fire protection project and shall be designed by a fire expert.
The products used in system should not have an height exceeding 1700 mm and a width exceeding 1900 mm.
Transport and delivery
The delivery contains smoke control duct system marked by a CE label on the outside of duct and fittings.
The transport is performed by common transport means. Components that are free loaded should be secured in such a way that any deformation and damage to the components will be eliminated. The transport vehicle must be covered to prevent dust, debris and humidity to damage the components.
Components are delivered without an acceptance at a supplier´s as default. If an acceptance at a supplier´s is required, it is necessary to state this requirement in the orderpurchase contract.
A buyer or his/her representative is obliged in terms of good acceptance to on site check these according to the delivery documentation. Visible defects and amount shortages are to be noticed in the transporter´s transport sheet immediately.
Storage
The goods should be stored inside and protected to prevent dust, debris and humidity to damage the goods.
Operation
Before starting the system it is necessary to check the system for damages and that it is consistent to the fire expert design.
The system can be used only in compliance with determined conditions (pressure, temperature etc.).
Applied Documents
This system has been certified together with hangers, fl anges, sealing material, silencers, grilles and compensators. All the components shall be used in the same way they were used during the tests. No substitution of any components of the system is possible.
Producers of the system:
LINDAB S.R.L. – Via Verga 82, 10036 Settimo Torinese – Torino (Italy)
Declaration of performance
The system is CE marked with the declaration of performance Rectangular smoke control system single compartment with CPR nr. 0370-CPR-2827.
Revision and Maintenance
Following features shall be checked up during a revision of the system at least once a year:
- All parts of the system are to be installed according to this mounting instruction.
- System components must not be damaged in any way; duct work cross-section must not be reduced in any way.
- All connections and flanges are to be tightened and properly connected.
- The system weight is to be evenly distributed over the hangers and not exceeding the maximum weight load for the specifi c hanger.
- If thermal expansion compensating devices are used, these compensating devices shall be prepared for utmost absorption of eventually system dilatation at their extreme positions.
- There must not be any flammable bodies on the duct work surface and 50 mm away from the system itself.
Before mounting
Before starting the mounting of the system it is necessary to inspect all components to make sure that they are correct according to the project documentation and to make sure they have not been damaged during transport or storage. When handling the products on site it is important to be careful so that they don’t get damaged and their properties change.
Mounting of the system should only be done by trained professionals equipped with the correct protective equipment and tools. The mounting of the system should always be performed according to valid documentation from the manufacturer. The system should never be used as a supporting part of the building.
In order to achieve a good result, ensure you have:
- A well-organised and protected storage site for ducts and other parts that are to be assembled.
- A properly planned assembly sequence in accordance with the instructions.
Mounting
Airtighten between products
Alternative 1 : Applying ceramic gasket
Apply the ceramic gasket (QFPDB 25×3) to the inner edge of the connection profi le. The gaskets must cross over each other.
The gasket is to be applied only to one of the two surfaces to be joined together.
Alternative 2 : Using mastic
Apply the fire resistant mastic Firecryl FR, Ottoseal S94, Epple 37 Neu on the entire perimeter of the connecting flange. The surface should be clean, dry, free of dust and grease. Slightly moistening of the surface will increase adhesive strength.
The cement is to be applied only to one of the two surfaces to be joined together.
Mount the ducts
Carefully press the ends together and fix the corners with bolts (1. M6S or M6SF), minimum M8×25 mm, serrated lock washers (2. AZ) and nuts (3. M6M or M6MF).
Mount clamp
Assemble rectangular joint bolt clamps (RJBC) over the flanges. Maximum distance 250 mm between the clamps and 150 mm between the corner and the first clamp.
Modify the lenght of the duct on site
- Cut the duct to the required lenght.
- Install four flange profiles RJFP30 (without sealant) and four corners RJLC30.
- Fix the flange profiles with screws (U41 4,2×9,5 or U42 4,2×13). Distance between screws is maximum 50 mm.
- Apply the fire resistant mastic Firecryl FR, Ottoseal S94 or Epple 37 New on the entire perimeter of the connecting flange and on the corners.

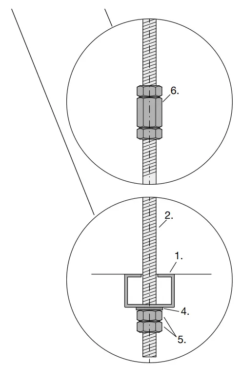
Horizontal suspension
The system shall be suspended with recommended hinge material according to construction conditions and a particular system weight. The threaded rods (2. OSB 60), minimum M8, shall be anchored to a massive ceiling by using expanding wall plugs (3.) with dimensions corresponding with the threaded rods.
Distance between two threaded rods is maximum 1500 mm.
The duct up top 1250×1000 mm rests on a channel RPC (1.) 21×41×1,6 mm. The channel is held up by a washer (4. BRB) and two nuts (5. MSM).
The duct larger than 1250x1000mm and up to 1900x1700mm rests on a channel RPC (1.) 41×41×2,5mm. The channel is held up by a washer (4. BRB) and two nuts (5. M6M).
M10 threaded rod (OSB60) must be used if one side of the duct is longer than 1000 mm and the circumference is longer than 3600 mm. In all other cases M8 can be used. Maximum load per threaded rod M8, OSB 60, is 1,0 kN and for threaded rod M10, OSB 60, is 1,58 kN.
The threaded rod (OSB60) can not be longer than 2 m. Two shorter threaded rods can be joined with a long nut, OSM (6.), secured with two nuts.
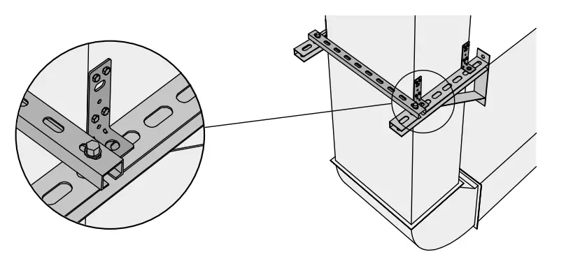
Vertical suspension for system up to 1250×1000 mm
The system shall be suspended with recommended hinge material according to construction condtions and a particular system weight.
The distance between two anchoring points in the wall should not exceed 1500 mm.
Each anchoring point should consist of:
- Two wall brackets (1.), CLS.One channel (2.), RPC 41×21×1,6.
- Two bolts (3. M6s or M6SF), minimum M8×35, and four washers (4. BRB).
- Four suspension brackets (5.), WCLGM without rubber, each with four self drilling screws (6. U42 4,2×13 or U63K 4,8×16) attached to the duct.
Compensator
To balance out the elongations of the smoke extract duct and to prevent forces resulting from this. For ducts with a length of more then 5 meters a compensators must be installed.
The distance between two compensators must not exceed 10 m.
When the compensator is mounted it should be fully elongated. The two ducts between which the compensator is mounted must be aligned as axial misalignment will prevent or obstruct the elongation of the system.
Replacing individual components of the compensator is not possible. Compensators can only be replaced as a whole.
Transporting seal
For a quicker installation, compensator is held up by threated rod M8 and nuts M8, for each side.
When compensator is installed, remove the threated rods with a grinder or an appropriate tool for cutting in order to free the compensator movement.
Accessories
Accesories are tested with the whole system according to EN-1366-9.
Grilles
When mounting a grille the reinforcements should not be moved or removed.
RGS-4
The grille, RGS-4, can be mounted into the system. It is preferred that they are mounted at the factory. The grille should be fastened with self tapping screws.
GRS
The grille GRS can also be used and should be fastened with self tapping screws U42 4,2×13 oc U63K 4,8×16) at a maximum distance of maximum 250 mm.
Silencer
Rectangular straight silencer type SLRS can be used with the system.
Inspection opening
IPLSS
Access door, which fits on the flat side of a rectangular duct.
KCU
Insulated access door used together with ILUSS
Threaded insert for inspection
Steel blind rivet nuts used as inspection access for micro-cameras and cleaning tools.
Regulating damper
DLT
Regulating damper can be used in reversible system.
Conformity assessment by installer
This is only a conformity assessment that installer approves and thereafter gives to the contact from the supplier of the documents. This signature only shows that the installer received the installation manual and that the he or she followed it gradually.
| Company name | |
| Phone | |
| Project | |
| Date |
I hereby confirm that I received the installation manual from supplier and followed it gradually.
Date……..
Signature…………

Good Thinking
At Lindab, good thinking is a philosophy that guides us in everything we do. We have made it our mission
to create a healthy indoor climate – and to simplify the construction of sustainable buildings. We do that
by designing innovative products and solutions that are easy to use, as well as offering efficient availability
and logistics. We are also working on ways to reduce our impact on our environment and climate. We do
that by developing methods to produce our solutions using a minimum of energy and natural resources,
and by reducing negative effects on the environment.
We use steel in our products. It’s one of few materials that can be recycled an infinite number of times without losing any of its
properties. That means less carbon emissions in nature and less energy wasted.
We simplify construction
www.lindab.com


















