FLEXIT 118044 ProNordic Controller
Important safety intructions
DANGER!
All electrical connections must be carried out by qualified electricians.
If possible, back up the controller that is to be replaced.
Procedure:
- Insert a blank SD memory card into the regulator.
- Back up the values to the memory card.
Start page > Main menu > System objects > Save/load > Sett.save -> Ext.m. = Execute - Wait until:
Start page > Main menu > System objects > Save/load > OK
Remove the defective controller
- Check that the power to the product is off.
- Detach all contacts.
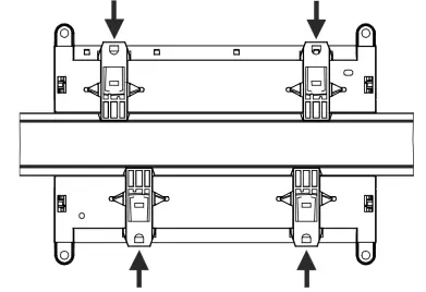
- Loosen the four locks using a screwdriver.

- Lift out the controller.
Install a new controller
- Place the controller on the DIN rail
- Press in the four locks

- Refit all contacts
- Switch on the power
- Read back an existing backup if there is one: Procedure:
- Insert the memory card into the regulator.
- Log in with 2000.
- Load the values from the memory card.
Start page > Main menu > System objects > Save/load > Sett.load <- Ext.m.. = Execute - Wait until:
Start page > Main menu > System objects > Save/load > OK - Restart the process unit:
Start page > Main menu > System objects > Save/load > Restart required! = Execute
- If there is no backup, the following settings must be done:
Log in with 2000.- Start page > Main menu > Configuration > Configuration IOs > Integrations > +Fan configuration = Done
- Start page > Mainmenu > Configuration > Configuration IOs Z Integrations > Flexit MB Extender (Communicat.info.)
Set “K-factor, SplyFan” and “K-factor, ExhFan” according to the following table:
| Unit | K-value | |
| Supply air | Extract air | |
| S100R | 74 | 74 |
| S140R | 74 | 74 |
| S180R | 76,5 | 76,5 |
| S220R | 80 | 80 |
| S240R | 129 | 129 |
| S260R | 150 | 150 |
| S300R | ||
| S340R | ||
| L110R | 74 | 74 |
| L150R | 72 | 72 |
| L190R | 84 | 72 |
| L230R | 132 | 127 |
| L270R | 154 | 143 |
| L310R | ||
| L350R | ||
- Start page > Main menu > Configuration > Configuration IOs > Configuration IOs = Done
- Start page > Main menu > Configuration > Configuration IOs > Rstart Required! = Execute
Our products are subject to continuous development and we therefore reserve the right to make changes. We also disclaim liability for any printing errors that may occur.
Flexit AS
Tlf +47 69 81 00 00
[email protected] www.flexit.no
FLEXIT 118044 ProNordic Controller




















