
INSTRUCTION MANUAL
Cordless Grass Shear
DUM166 DUM168
012521

IMPORTANT: Read Before Using.
SPECIFICATIONS
| Model | DUM166 | DUM168 | ||
| Effective cutting width | 160 mm | |||
| Stroke per minute (min”‘) | 1,250 | |||
| Rated voltage | D.C. 14.4 V | D.C. 18 V | ||
| Battery cartridge | BL1415 | 131_1430/K 1440 | BL1815/BL1815NI BL1820 | 111830/6L1840 |
| Dimensions (L x W x H) | 335 mm x 176 mm x130 mm | 350 mm x 176 mm x 130 mm | 337 mm x176 mm x130 mm | 353 mm x 176 mm x 130 mm |
| Net weight | 1.3 kg | 1.5 kg | 1.4 kg | 1.6 kg |
| Battery charger | DC18RC DC18SD | |||
| (Optional accessory) Blade length of optional hedge shear blades | 200 mm | |||
- Due to our continuing program of research and development, the specifications herein are subject to change without notice.
- Specifications and battery cartridge may differ from country to country.
- Weight, with battery cartridge, according to EPTA-Procedure 01/2003
END010-2
Symbols The following show the symbols used for the equipment.
Be sure that you understand their meaning before use.
| Take particular care and attention. | |
| Read instruction manual. | |
| Danger; be aware of thrown objects. | |
| Keep bystanders away. | |
| Cutting means continues to run after the motor is switched off. | |
| Do not expose to moisture. | |
| Only for EU countries |
Do not dispose of electric equipment or battery pack together with household waste material!
In observance of European Directive 2002/96/EC on waste electric and electronic equipment, 2006/66/EC on batteries and accumulators and waste batteries and accumulators and their implementation in accordance with national laws, electric equipment and battery pack that have reached the end of their life must be collected separately and returned to an environmentally compatible recycling facility.
ENE015-1
Intended use
The tool is intended for cutting lawn edges or sprouts.
ENG905-1
Noise
The typical A-weighted noise level determined according to IEC60335:
Model DUM166
Sound pressure level (LpA) : 77 dB (A)
Uncertainty (K) : 2.5 dB (A)
The noise level under working may exceed 80 dB (A).
Model DUM168
Sound pressure level (LpA) : 78 dB (A)
Uncertainty (K) : 2.5 dB (A)
The noise level under working may exceed 80 dB (A).
Wear ear protection
ENG900-1
Vibration
The vibration total value (tri-axial vector sum) determined according to IEC60335: Vibration emission (ah) : 2.5 m/s2 or less Uncertainty (K) : 1.5 m/s2 ENG901-1
- The declared vibration emission value has been measured in accordance with the standard test method and may be used for comparing one tool with another.
- The declared vibration emission value may also be used in a preliminary assessment of exposure.
WARNING: - The vibration emission during actual use of the power tool can differ from the declared emission value depending on the ways in which the tool is used.
- Be sure to identify safety measures to protect the operator that are based on an estimation of exposure in the actual conditions of use (taking account of all parts of the operating cycle such as the times when the tool is switched off and when it is running idle in addition to the trigger time).
Hedge trimming operation with optional hedge shear blades
ENG905-1
Noise
The typical A-weighted noise level determined according to EN60745:
Sound pressure level (LpA) : 74 dB (A)
Uncertainty (K) : 2.5 dB (A)
The noise level under working may exceed 80 dB (A).
Wear ear protection
ENG900-1
Vibration
The vibration total value (tri-axial vector sum) determined according to EN60745:
Vibration emission (ah) : 2.5 m/s2 or less Uncertainty (K) : 1.5 m/s2
ENG901-1
- The declared vibration emission value has been measured in accordance with the standard test method and may be used for comparing one tool with another.
- The declared vibration emission value may also be used in a preliminary assessment of exposure.
WARNING: - The vibration emission during actual use of the power tool can differ from the declared emission value depending on the ways in which the tool is used.
- Be sure to identify safety measures to protect the operator that are based on an estimation of exposure in the actual conditions of use (taking account of all parts of the operating cycle such as the times when the tool is switched off and when it is running idle in addition to the trigger time).
For European countries only
ENH003-14
EC Declaration of Conformity
We Makita Corporation as the responsible manufacturer declare that the following Makita machine(s):
Designation of Machine: Cordless Grass Shear
Model No./ Type: DUM166,DUM168 are of series production and Conforms to the following European Directives:
2006/42/EC
And are manufactured in accordance with the following standards or standardised documents:
EN60745, EN60335 The technical documentation is kept by:
Makita International Europe Ltd. Technical Department, Michigan Drive, Tongwell, Milton Keynes, Bucks MK15 8JD, England
7.7.2011
Tomoyasu Kato
Director
Makita Corporation 3-11-8,
Sumiyoshi-cho, Anjo, Aichi, 446-8502, JAPAN
ENH021-7
For European countries only
EC Declaration of Conformity
We Makita Corporation as the responsible manufacturer declare that the following Makita machine(s):
Designation of Machine: Cordless Hedge Trimmer
Model No./ Type: DUM166,DUM168 Specifications: see “SPECIFICATIONS” table. are of series production and Conforms to the following European Directives: 2000/14/EC, 2006/42/EC And are manufactured in accordance with the following standards or standardised documents: EN60745 The technical documentation is kept by: Makita International Europe Ltd. Technical Department, Michigan Drive, Tongwell, Milton Keynes, Bucks MK15 8JD, England The conformity assessment procedure required by Directive 2000/14/EC was in Accordance with annex V. Measured Sound Power Level: 82 dB (A) Guaranteed Sound Power Level: 84 dB (A)
7.7.2011
Tomoyasu Kato Director
Makita Corporation 3-11-8,
Sumiyoshi-cho, Anjo, Aichi, 446-8502, JAPAN
GEB070-2
CORDLESS GRASS SHEAR SAFETY WARNINGS
WARNING! IMPORTANT READ CAREFULLY all safety warnings and all instructions BEFORE USE. Failure to follow the warnings and instructions may result in electric shock, fire and/or serious injury.
Save all warnings and instructions for future reference.
General instructions
- To ensure correct operation, user has to read this instruction manual to make himself familiar with the handling of the equipment. Users insufficiently informed will risk danger to themselves as well as others due to improper handling.
- Never allow people unfamiliar with these instructions, people (including children) with reduced physical, sensory or mental capabilities, or lack of experience and knowledge to use the equipment. Local regulations can restrict the age of the operator.
- Use the equipment with the utmost care and attention.
- Operate the equipment only if you are in good physical condition. Perform all work calmly and carefully. Use common sense and keep in mind that the operator or user is responsible for accidents or hazards occurring to other people or their property.
- Never operate the machine while people, especially children, or pets are nearby.
- Never use the equipment after consumption of alcohol or drugs, or if feeling tired or ill.
- The motor is to be switched off immediately in case that the equipment shows any problem or abnormal sign.
- Switch off and remove the battery cartridge when resting and when leaving the equipment unattended, and place it in a safe location to prevent danger to others or damage to the equipment.
- Don’t force the equipment. It will do the job better and with less likelihood of a risk of injury at the rate for which it was designed.
- Don’t overreach. Keep proper footing and balance at all times.
Personal protective equipment
- Dress Properly. The clothing worn should be functional and appropriate, i.e. it should be tight-fitting but not cause hindrance. Do not wear either jewelry or clothing which could become entangled. Wear protective hair covering to contain long hair.
- Wear eye protection and stout shoes at all times while operating the machine.
Electrical and battery safety
- Avoid dangerous environment. Don’t use the equipment in damp or wet locations or expose it to rain. Water entering an equipment will increase the risk of electric shock.
- Recharge only with the charger specified by the manufacturer. A charger that is suitable for one type of battery pack may create a risk of fire when used with another battery pack.
- Use power tools only with specifically designated battery packs. Use of any other battery packs may create a risk of injury and fire.
- When battery pack is not in use, keep it away from other metal objects, like paper clips, coins, keys, nails, screws or other small metal objects, that can make a connection from one terminal to another. Shorting the battery terminals together may cause burns or a fire.
- Under abusive conditions, liquid may be ejected from the battery; avoid contact. If contact accidentally occurs, flush with water. If liquid contacts eyes, additionally seek medical help. Liquid ejected from the battery may cause irritation or burns.
- Do not dispose of the battery(ies) in a fire. The cell may explode. Check with local codes for possible special disposal instructions.
- Do not open or mutilate the battery(ies). Released electrolyte is corrosive and may cause damage to the eyes or skin. It may be toxic if swallowed.
Starting up the equipment
- Make sure that there are no children or other people nearby, also pay attention to any animals in the working vicinity. Otherwise stop using the equipment.
- Before use always check that the equipment is safe for operation. Check the security of the cutting tool and the guard and the switch trigger/lever for easy and proper action. Check for clean and dry handles and test the function of the start/stop.
- Check damaged parts before further use of the equipment. A guard or other part that is damaged should be carefully checked to determine that it will operate properly and perform its intended function. Check for alignment of moving parts, binding of moving parts, breakage of parts, mounting, and any other condition that may affect its operation. A guard or other part that is damaged should be properly repaired or replaced by our authorized service center unless indicated elsewhere in this manual.
- Switch on the motor only when the hands and feet are away from the cutting tool.
- Before starting make sure that the cutting tool has no contact with any objects.
Method of operation
- Only use the equipment in good light and visibility. During the winter season beware of slippery or wet areas, ice and snow (risk of slipping). Always ensure a safe footing.
- Take care against injury to feet and hands from the cutting tool.
- Never stand on a ladder and run the equipment.
- Never climb up into trees to perform cutting operation with the equipment.
- Never work on unstable surfaces.
- Remove sand, stones, nails etc. found within the working range. Foreign particles may damage the cutting tool and can cause dangerous kick-backs.
- Should the cutting tool hit stones or other hard objects, immediately switch off the motor and inspect the cutting tool.
- Inspect the cutting tool at short regular intervals for damage (detection of hairline cracks by means of tapping-noise test).
- Before commencing cutting, the cutting tool must have reached full working speed.
- The cutting tool has to be equipped with the appropriate guard. Never run the equipment with damaged guards or without guards in place!
- All protective installations and guards supplied with the equipment must be used during operation.
- Always remove the battery cartridge from the equipment:
• whenever leaving the equipment unattended;
• before clearing a blockage;
• before checking, cleaning or working on the equipment;
• after striking a foreign object;
• whenever the equipment starts vibrating abnormally. - Always ensure that the ventilation openings are kept clear of debris.
Cutting tools
- Employ only the correct cutting tool for the job in hand.
Maintenance instructions
- The condition of the equipment, in particular of the cutting tool of the protective devices must be checked before commencing work.
- Turn off the motor and remove the battery cartridge before carrying out maintenance, replacing cutting tools or cleaning the equipment or cutting tool.
- Check loose fasteners and damaged parts such as cracks in the cutting attachment.
- Follow instructions for lubricating and changing accessories.
- When not in use, store the equipment indoors in dry and high or locked-up place – out of the reach of children. Clean and maintain before storage.
- Use only the manufacturer’s recommended replacement parts and accessories.
- Inspect and maintain the equipment regularly, especially before/after use. Have the equipment repaired only by our authorized service center.
- Keep handles dry, clean and free from oil and grease.
KEEP FOR FUTURE REFERENCE
WARNING:
DO NOT let comfort or familiarity with product (gained from repeated use) replace strict adherence to safety rules for the subject product. MISUSE or failure to follow the safety rules stated in this instruction manual may cause serious personal injury.
GEA006-2
General Power Tool Safety Warnings
WARNING Read all safety warnings and all instructions. Failure to follow the warnings and instructions may result in electric shock, fire and/or serious injury.
Save all warnings and instructions for future reference.
The term “power tool” in the warnings refers to your mains-operated (corded) power tool or battery-operated (cordless) power tool. Work area safety
- Keep work area clean and well lit. Cluttered or dark areas invite accidents.
- Do not operate power tools in explosive atmospheres, such as in the presence of flammable liquids, gases or dust. Power tools create sparks which may ignite the dust or fumes.
- Keep children and bystanders away while operating a power tool. Distractions can cause you to lose control.
Electrical safety - Power tool plugs must match the outlet. Never modify the plug in any way. Do not use any adapter plugs with earthed (grounded) power tools. Unmodified plugs and matching outlets will reduce risk of electric shock.
- Avoid body contact with earthed or grounded surfaces such as pipes, radiators, ranges and refrigerators. There is an increased risk of electric shock if your body is earthed or grounded.
- Do not expose power tools to rain or wet conditions. Water entering a power tool will increase the risk of electric shock.
- Do not abuse the cord. Never use the cord for carrying, pulling or unplugging the power tool. Keep cord away from heat, oil, sharp edges or moving parts. Damaged or entangled cords increase the risk of electric shock.
- When operating a power tool outdoors, use an extension cord suitable for outdoor use. Use of a cord suitable for outdoor use reduces the risk of electric shock.
- If operating a power tool in a damp location is unavoidable, use a ground fault circuit interrupter (GFCI) protected supply. Use of an GFCI reduces the risk of electric shock.
Personal safety - Stay alert, watch what you are doing and use common sense when operating a power tool. Do not use a power tool while you are tired or under the influence of drugs, alcohol or medication. A moment of inattention while operating power tools may result in serious personal injury.
- Use personal protective equipment. Always wear eye protection. Protective equipment such as dust mask, non-skid safety shoes, hard hat, or hearing protection used for appropriate conditions will reduce personal injuries.
- Prevent unintentional starting. Ensure the switch is in the off-position before connecting to power source and/or battery pack, picking up or carrying the tool. Carrying power tools with your finger on the switch or energising power tools that have the switch on invites accidents.
- Remove any adjusting key or wrench before turning the power tool on. A wrench or a key left attached to a rotating part of the power tool may result in personal injury.
- Do not overreach. Keep proper footing and balance at all times. This enables better control of the power tool in unexpected situations.
- Dress properly. Do not wear loose clothing or jewellery. Keep your hair, clothing, and gloves away from moving parts. Loose clothes, jewellery or long hair can be caught in moving parts.
- If devices are provided for the connection of dust extraction and collection facilities, ensure these are connected and properly used. Use of dust collection can reduce dust-related hazards.
Power tool use and care - Do not force the power tool. Use the correct power tool for your application. The correct power tool will do the job better and safer at the rate for which it was designed.
- Do not use the power tool if the switch does not turn it on and off. Any power tool that cannot be controlled with the switch is dangerous and must be repaired.
- Disconnect the plug from the power source and/or the battery pack from the power tool before making any adjustments, changing accessories, or storing power tools. Such preventive safety measures reduce the risk of starting the power tool accidentally.
- Store idle power tools out of the reach of children and do not allow persons unfamiliar with the power tool or these instructions to operate the power tool. Power tools are dangerous in the hands of untrained users.
- Maintain power tools. Check for misalignment or binding of moving parts, breakage of parts and any other condition that may affect the power tool’s operation. If damaged, have the power tool repaired before use. Many accidents are caused by poorly maintained power tools.
- Keep cutting tools sharp and clean. Properly maintained cutting tools with sharp cutting edges are less likely to bind and are easier to control.
- Use the power tool, accessories and tool bits etc. in accordance with these instructions, taking into account the working conditions and the work to be performed. Use of the power tool for operations different from those intended could result in a hazardous situation.
Battery tool use and care - Recharge only with the charger specified by the manufacturer. A charger that is suitable for one type of battery pack may create a risk of fire when used with another battery pack.
- Use power tools only with specifically designated battery packs. Use of any other battery packs may create a risk of injury and fire.
- When battery pack is not in use, keep it away from other metal objects, like paper clips, coins, keys, nails, screws or other small metal objects, that can make a connection from one terminal to another. Shorting the battery terminals together may cause burns or a fire.
- Under abusive conditions, liquid may be ejected from the battery; avoid contact. If contact accidentally occurs, flush with water. If liquid contacts eyes, additionally seek medical help. Liquid ejected from the battery may cause irritation or burns.
Service - Have your power tool serviced by a qualified repair person using only identical replacement parts. This will ensure that the safety of the power tool is maintained.
- Follow instruction for lubricating and changing accessories.
- Keep handles dry, clean and free from oil and grease.
GEB062-4
CORDLESS HEDGE TRIMMER SAFETY WARNINGS
- Hold the power tool by insulated gripping surfaces only, because the cutter blade may contact hidden wiring. Cutter blades contacting a “live” wire may make exposed metal parts of the power tool “live” and could give the operator an electric shock.
- Keep all parts of the body away from the cutter blade. Do not remove cut material or hold material to be cut when blades are moving. Make sure the switch is off when clearing jammed material. A moment of inattention while operating the hedge trimmer may result in serious personal injury.
- Carry the hedge trimmer by the handle with the cutter blade stopped. When transporting or storing the hedge trimmer always fit the cutting device cover. Proper handling of the hedge trimmer will reduce possible personal injury from the cutter blades.
- Do not use the hedge trimmer in the rain or in wet or very damp conditions. The electric motor is not waterproof.
- First-time users should have an experienced hedge trimmer user show them how to use the trimmer.
- The hedge trimmer must not be used by children or young persons under 18 years of age. Young persons over 16 years of age may be exempted from this restriction if they are undergoing training under the supervision of an expert.
- Use the hedge trimmer only if you are in good physical condition. If you are tired, your attention will be reduced. Be especially careful at the end of a working day. Perform all work calmly and carefully. The user is responsible for all damages to third parties.
- Never use the trimmer when under the influence of alcohol, drugs or medication.
- Work gloves of stout leather are part of the basic equipment of the hedge trimmer and must always be worn when working with it. Also wear sturdy shoes with anti-skid soles.
- Before starting work check to make sure that the trimmer is in good and safe working order. Ensure guards are fitted properly. The hedge trimmer must not be used unless fully assembled.
- Make sure you have a secure footing before starting operation.
- Hold the tool firmly when using the tool.
- Do not operate the tool at no-load unnecessarily.
- Immediately switch off the motor and remove the battery cartridge if the cutter should come into contact with a fence or other hard object. Check the cutter for damage, and if damaged repair immediately.
- Before checking the cutter, taking care of faults, or removing material caught in the cutter, always switch off the trimmer and remove the battery cartridge.
- Switch off the trimmer and remove the battery cartridge before doing any maintenance work.
- When moving the hedge trimmer to another location, including during work, always remove the battery cartridge and put the blade cover on the cutter blades. Never carry or transport the trimmer with the cutter running. Never grasp the cutter with your hands.
- Clean the hedge trimmer and especially the cutter after use, and before putting the trimmer into storage for extended periods. Lightly oil the cutter and put on the cover. The cover supplied with the unit can be hung on the wall, providing a safe and practical way to store the hedge trimmer.
- Store the hedge trimmer with the cover on, in a dry room. Keep it out of reach of children. Never store the trimmer outdoors.
SAVE THESE INSTRUCTIONS.
WARNING:
DO NOT let comfort or familiarity with product (gained from repeated use) replace strict adherence to safety rules for the subject product. MISUSE or failure to follow the safety rules stated in this instruction manual may cause serious personal injury.
IMPORTANT SAFETY INSTRUCTIONS
ENC007-7
FOR BATTERY CARTRIDGE
- Before using battery cartridge, read all instructions and cautionary markings on (1) battery charger, (2) battery, and (3) product using battery.
- Do not disassemble battery cartridge.
- If operating time has become excessively shorter, stop operating immediately. It may result in a risk of overheating, possible burns and even an explosion.
- If electrolyte gets into your eyes, rinse them out with clear water and seek medical attention right away. It may result in loss of your eyesight.
- Do not short the battery cartridge: (1) Do not touch the terminals with any conductive material. (2) Avoid storing battery cartridge in a container with other metal objects such as nails, coins, etc. (3) Do not expose battery cartridge to water or rain. A battery short can cause a large current flow, overheating, possible burns and even a breakdown.
- Do not store the tool and battery cartridge in locations where the temperature may reach or exceed 50 C (122 F).
- Do not incinerate the battery cartridge even if it is severely damaged or is completely worn out. The battery cartridge can explode in a fire.
- Be careful not to drop or strike battery.
- Do not use a damaged battery.
SAVE THESE INSTRUCTIONS.
Tips for maintaining maximum battery life
- Charge the battery cartridge before completely discharged. Always stop tool operation and charge the battery cartridge when you notice less tool power.
- Never recharge a fully charged battery cartridge. Overcharging shortens the battery service life.
- Charge the battery cartridge with room temperature at 10 C – 40 C (50 F – 104 F). Let a hot battery cartridge cool down before charging it.
- Charge the battery cartridge once in every six months if you do not use it for a long period of time.
FUNCTIONAL DESCRIPTION
CAUTION:
- Always be sure that the tool is switched off and the battery cartridge is removed before adjusting or checking function on the tool.
Installing or removing battery cartridge
CAUTION:
- Hold the tool and the battery cartridge firmly when installing or removing battery cartridge. Failure to hold the tool and the battery cartridge firmly may cause them to slip off your hands and result in damage to the tool and battery cartridge and a personal injury.

1. Red indicator
2. Button
3. Battery cartridge
- Always switch off the tool before installing or removing of the battery cartridge.
- To remove the battery cartridge, slide it from the tool while sliding the button on the front of the cartridge.
- To install the battery cartridge, align the tongue on the battery cartridge with the groove in the housing and slip it into place. Always insert it all the way until it locks in place with a little click. If you can see the red indicator on the upper side of the button, it is not locked completely. Install it fully until the red indicator cannot be seen. If not, it may accidentally fall out of the tool, causing injury to you or someone around you.
- Do not use force when installing the battery cartridge. If the cartridge does not slide in easily, it is not being inserted correctly.
Battery protection system
(Lithium-ion battery with star marking)
1. Star marking
Lithium-ion batteries with a star marking are equipped with a protection system. This system automatically cuts off power to the tool to extend battery life. The tool will automatically stop during operation if the tool and/or battery are placed under one of the following conditions:
- Overloaded:
The tool is operated in a manner that causes it to draw an abnormally high current. In this situation, release the trigger switch on the tool and stop the application that caused the tool to become overloaded. Then pull the trigger switch again to restart. If the tool does not start, the battery is overheated. In this situation, let the battery cool before pulling the trigger switch again. - Low battery voltage:
The remaining battery capacity is too low and the tool will not operate. In this situation, remove and recharge the battery.
Switch action
1. Lock-off button
2. Switch trigger
CAUTION:
- Before inserting the battery cartridge into the tool, always check to see that the switch trigger actuates properly and returns to the “OFF” position when released. To prevent the switch trigger from being accidentally pulled, a lock-off button is provided.
To start the tool, depress the lock-off button and pull the switch trigger. Release the switch trigger to stop. The lock-off button can be pressed from either right or left side.
Indication lamp
1. Indication lamp
Running the tool allows the indication lamp to show the battery cartridge capacity status. When the tool is also overloaded and has stopped during operation, the lamp lights up in red. Refer to the following table for the status and action to be taken for the indication lamp.
| Indication lamp | Status | Action to be taken |
| The lamp blinks in red. | This indicates the appropriate time to replace the battery cartridge when the battery power becomes low. | Recharge the battery cartridge as soon as possible. |
| The lamp lights up in red. (Note 1) | This function works when the battery power is almost used up. At this time, tool stops immediately. | Recharge the battery cartridge. |
| The lamp lights up in red. (Note 1) | Autostop due to overload. | Turn off the tool. |
Note 1: The time at which the indication lamp lights up varies by the temperature around the work area and the battery cartridge conditions.
Adjusting the shearing height
1. Change lever
2. Protrusion on base frame
3. Base frame
Changing the position of holding the change lever allows three-stepped setting for sheared grass height (10 mm, 20 mm, 30 mm). To change setting, tilt the change lever for the base frame position and with the change lever tilted move it up or down along the tool surface until the protrusion on base frame fits in one of the holes in the tool and release it.
ASSEMBLY
CAUTION:
- Always be sure that the tool is switched off and the battery cartridge is removed before carrying out any work on the tool. Installing or removing blade cover
CAUTION:
- Be careful not to contact the shear blade when installing or removing the blade cover. Contacting the shear blade may cause personal injuries.

1. Shear blades
2. Blade cover
3. Blade frame
Slide the blade cover from the tool’s side until the shear blade completely hides itself and then push in it lightly towards the tool from the front. To remove the blade cover, take the above installation procedure in reverse.
Installing or removing base frame
CAUTION:
- Before installing or removing base frame, be sure to install the blade cover.
- When installing or removing base frame, take care that your fingers are not be pinched between the tool and base frame.

1. Groove
2. Base frameTo remove the base frame, upset the tool and take it out of the groove grabbing its bottom.
1. Change lever
2. Protrusion on base frame
3. Base frame
To install the base frame, fit the protrusion of base frame near the change lever into the hole for the sheared grass height setting. With the base frame so fitted, pull the lower part of base frame and fit the other part of the base frame in the groove in the tool.
Installing or removing grass shear blades
CAUTION:
- Always be sure that the tool is switched off and the battery cartridge is removed before installing or removing shear blades. Failure to switch off and remove the battery cartridge from the tool may result in serious injury from accidental start-up.
- When replacing the shear blade, always wear gloves without removing blade cover so that hands and face does not directly contact the blade. Failure to do so may cause personal injury.
NOTE: - Do not wipe off grease from the gear and crank.
Failure to do so may cause damage to the tool. - For specific way of removing and installing shear blades refer to the reverse of a package for accessory shear blades.

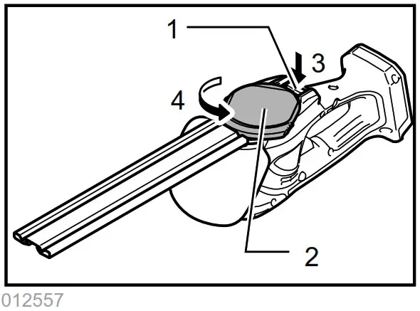
1. Blade cover 1
Remove the base frame and place the tool upside down.
CAUTION:
- Before placing the tool upside down, be sure to remove the base frame.

1. Locking lever
2. Undercover
3. Press
4. Turn
To remove the shear blade, press the locking lever and with the locking lever pressed turn the undercover counterclockwise until the symbol
on the undercover is aligned with the symbol
on the locking lever.
1. Undercover
2. Shear blade
3. Crank
Take out the undercover, shear blade and crank in order from the tool.
1. Crank
2. Undercover
3. Shear blades
To install the grass shear blade, prepare the crank, undercover and new grass shear blade.
1. Blade cover
2. Shear blades
Take out the blade cover from the old shear blades and fit it onto the new ones for easy handling during the replacement of blades.
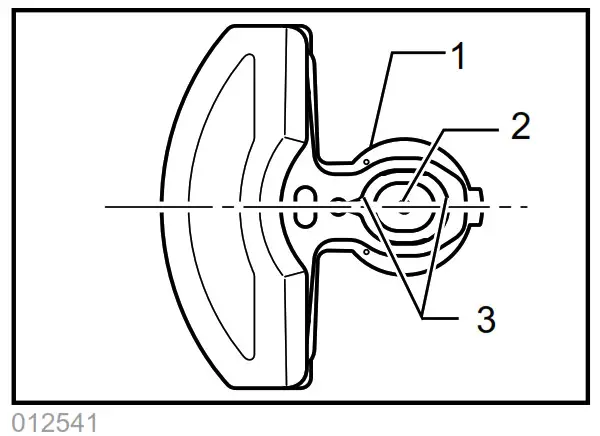
1. Basic alignment line on the tool housing
2. PinsAdjust the three pin position so that these pins are lined up at right angle in relation to the basic alignment line on the tool housing.
1. Recessed part of crank
2. Crank
3. Apply grease
4. Pins
Fit the crank with its recessed part facing upwards onto the pins. At this time, apply a small amount of grease to the periphery of the crank using grease that the shear blades as optional accessory are provided with or that remains inside gear housing.
1. Base plate
2. Hole in the base plate of shear blades
3. Oval holes that are overlapped
Overlap the oval hole in the upper blade with that in the lower one. Move the shear blades so that the hole in the base plate of shear blades are positioned in the center of these overlapped oval holes.
Turn the shear blades upside down and install it so that the pins on the tool fit in the hole in the shear blades. Make sure that the shear blades are set in place securely as far as they reach the base plate.

1. Undercover
2. Locking lever
Place the undercover so that the symbol
on the undercover is aligned with the symbol
on the locking lever.
Press the undercover down and turn the undercover clockwise while pressing it down until the symbol
on the label is aligned with the symbol
on the locking lever (the undercover is completely locked.).

1. Groove in the undercover
2. Locking lever
At this time, make sure that the locking lever fits in the groove in the undercover. Remove the blade cover and then turn on the tool to check it for proper movement.
NOTE:
- When the shear blades do not operate properly, there is a poor fit between the blades and crank. Redo from the beginning.
OPERATION
WARNING:
- Keep hands away from blades.
CAUTION:
- Smear the blade before and once per hour during operation using machine oil or the like.
- Avoid operating the tool under the scorching sunlight as much as practicable. When operating the tool, be careful of your physical conditions.
- Hold the tool with one hand. Do not hold the front bulge of the tool as a grip.

Turn the tool on after adjusting the shearing height and hold it so that the foot of the tool rest on the ground. Then gently move the tool forward into the area to be cut.
When trimming around curb, fence or trees, move the tool along them. Be careful for the blade not to contact them.
When trimming sprouts or foliage of a small tree, remove the base frame from the tool and cut little by little. Shear big branches to your desired height beforehand using branch scissors before using this tool.
CAUTION:
- When trimming twigs and foliage, do not attempt to trim too much at a time. Proceed gently. Also do not attempt to cut thick branches.
- Do not let the shear blades contact the grounds during operation. The blades will be dulled, causing poor performance.
- Do not trim wet grass or foliage of small trees.
MAINTENANCE
CAUTION:
- Always be sure that the tool is switched off and the battery cartridge is removed before attempting to perform inspection or maintenance.
Cleaning the tool
Clean out the tool by wiping off dust with a dry or soap-dipped rag.
CAUTION:
- Never use gasoline, benzine, thinner, alcohol or the like. Discoloration, deformation or cracks may result.
Shear blade maintenance
1. Brush 1
1. Machine oil
After operation, remove dust from both sides of the blade with wired brush, wipe it off with a rag and then apply enough low-viscosity oil, such as machine oil etc. and spray-type lubricating oil.
CAUTION:
- Do not wash the blades in water. Failure to do so may cause rust or damage on the tool.
- Dirt and corrosion cause excessive blade friction and shorten the operating time per battery charge.
After use
- To clean off the exterior of the tool, dampen a soft cloth in a soapy water and wipe gently. Never use thinner or benzine.
- Do not store the tool in a place where volatile materials are stored.
To maintain product SAFETY and RELIABILITY, repairs, any other maintenance or adjustment should be performed by Makita Authorized Service Centers, always using Makita replacement parts.
OPTIONAL ACCESSORIES
CAUTION:
- These accessories or attachments are recommended for use with your Makita tool specified in this manual. The use of any other accessories or attachments might present a risk of injury to persons. Only use accessory or attachment for its stated purpose.
If you need any assistance for more details regarding these accessories, ask your local Makita Service Center.
- Grass shear blade assembly
- Grass shear blade cover
- Base frame
- Makita genuine battery and charger
- Long handle attachment
For cordless hedge trimmer use
This tool can be used as a hedge trimmer by using the hedge shear blade (optional accessory) and 2-way change set (optional accessory). To use this tool as a hedge trimmer, replacing the grass shear blades with the hedge shear blades is required. For removing the grass shear blades, refer to the aforementioned section titled “Installing or removing grass shear blades”. For installing the hedge shear blades, refer to the section below titled “Installing or removing hedge shear blades”.
- Hedge shear blade assembly (for Hedge Trimmer)
- 2-way change set consisting of the following two accessories
- Hedge shear blade cover (for Hedge Trimmer)
- Storage case (for blade bottom section)

1. Hedge shear blade
2. Hedge shear blade cover
3. Storage case
- Chip receiver for hedge trimming (for Hedge Trimmer)
NOTE:
- Some items in the list may be included in the tool package as standard accessories. They may differ from country to country.
Installing or removing hedge shear blades
CAUTION:
- Before installing or removing shear blades, always be sure that the tool is switched off and the battery cartridge is removed.
- When replacing the shear blades, always wear gloves without removing blade cover so that hands and face do not directly contact the blade. Failure to do so may cause personal injury.
NOTE:
- Do not wipe off grease from the gear and crank.
Failure to do so may cause damage to the tool. - For specific way of removing and installing shear blades refer to the reverse of a package for accessory shear blades. Installing the hedge shear blades
Installing the hedge shear blades

1. Crank
2. Undercover
3. Shear blades
Prepare the crank, the undercover and new shear blades.
1. Basic alignment line on the tool housing
2. Pins
Adjust the three pin position so that these three pins are aligned with the basic alignment line on the tool housing.
1. Recessed part of crank
2. Crank
3. Apply grease
4. Pins
Fit the crank with its recessed part facing downward onto the pins. At this time, apply a small amount of grease to the periphery of the crank using grease that the shear blades as optional accessory are provided with or that remains inside gear housing.
1. Base plate
2. Oval holes that are overlapped
3. Hole in the base plate of shear blades
Overlap the oval hole in the upper blade with that in the lower one. Move the shear blades so that the hole in the base plate of shear blades are positioned in the center of these overlapped oval holes.
1. Blade cover
Take out the blade cover from the old shear blades and fit it onto the new ones for easy handling during the replacement of blades.
1. Bent part of the base plate of shear blades
Turn the shear blades upside down and install it so that pin on the tool fit in the hole in the shear blades. Fit the bent part of the base plate of the shear blades to the groove in the tool housing. Then make sure that the base plate of the shear blades is set in place.
1. Screws
Tighten two screws with a coin firmly.
1. Locking lever
2. Undercover
Place the undercover so that the symbol
on the undercover is aligned with the symbol
on the locking lever.
Press the undercover down and with the undercover pressed down turn the undercover clockwise until the symbol
on the label is aligned with the symbol
on the locking lever (the undercover is completely locked.).

1. Groove in the undercover
2. Locking lever
At this time, make sure that the locking lever fits in the groove in the undercover.
CAUTION:
- Never use the tool without installing the undercover on it. Remove the blade cover and then turn on the tool to check it for proper movement.
NOTE:
- When the shear blades do not operate properly, there is a poor fit between the blades and crank. Redo from the beginning.
Removing the hedge shear blades
1. Blade cover
CAUTION:
- Install the blade cover before removing or installing the shear blades.
Reverse the tool.
1. Locking lever
2. Undercover
3. Press
4. Turn
To remove the shear blades, press the locking lever and with the locking lever pressed turn the undercover counterclockwise until the symbol
on the undercover is aligned with the symbol
on the locking lever.
1. Undercover
Take out the undercover from the tool.

1. Screws
Loosen two screws with a coin and remove the shear blades.
NOTE:
- Do not remove the screws. Without removing the screws loosened, shear blades can be removed.

1. Crank
2. Shear blades
Remove the crank from the shear blades.
NOTE:
- The crank may remain in the tool.

1. Grass shear blade cover
2. Grass shear blade
3. Storage case
NOTE:
- In the 2-way usage, the removed grass shear blades need to be sheared in the blade storage case and stored for future use.
OPERATION
Refer to the Important Safety Instructions before operation.
CAUTION:
- Be careful not to accidentally contact a metal fence or other hard objects while trimming. The blade will break and may cause serious injury.
- Also, be careful for the shear blade not to contact the ground.
- Overreaching with a hedge trimmer, particularly from a ladder, is extremely dangerous. Do not work from anything wobbly or infirm.

Do not attempt to cut branches thicker than 10 mm diameter with this trimmer. These should first be cut with shears down to the hedge trimming level.
CAUTION:
- Do not cut off dead trees or similar hard objects.
Failure to do so may damage the tool. - Do not trim the grass or weeds while using hedge shear blade. The shear blade may entangle the grass or weeds.
Hold the trimmer with one hand, depress the lock-off button and pull the switch trigger and then move it in front of your body.
1. Trimming direction
2. Tilt the blades
3. Hedge surface to be trimmed
As a basic operation, tilt the blades towards the trimming direction and move it calmly and slowly at the speed rate of 3 – 4 seconds per meter.
To cut a hedge side evenly, it helps to cut from the bottom upwards.
Attaching the chip receiver (optional accessory) on the tool when trimming the hedge straight can avoid cut off leaves’ being thrown away.
To cut a hedge top evenly, it helps to tie a string at the desired hedge height and to trim along it, using it as a reference line.
Trim boxwood or rhododendron from the base toward the top for a nice appearance and good job.
Installing or removing chip receiver (optional accessory)
CAUTION:
- Always be sure that the tool is switched off and the battery cartridge is removed before installing or removing chip receiver.
NOTE:
- When replacing the chip receiver, always wear gloves so that hands and face does not directly contact the blade. Failure to do so may cause personal injury.
- When replacing the chip receiver, always be careful not to contact the shear blades.
- The chip receiver receives cut-off leaves and alleviates collecting thrown-away leaves. This can be installed on either side of the tool.

1. Clamping nuts
2. Chip receiver
3. Screws on the shear blades
4. Blade cover to be always installed before installing the chip receiver
Place the chip receiver on the shear blades so that its slits overlap with the screws on the shear blades and secure it using two clamping nuts.
To remove the chip receiver, loosen and remove the two clamping nuts and then take it out.
Storage
1. Hook hole 1
The hook hole in the tool bottom is convenient for hanging the tool from a nail or screw on the wall. Put the blade cover on the shear blades so that the blades are not exposed. Store the tool out of the reach of children carefully. Store the tool in the place not exposed to water and rain.
Makita Corporation
Anjo, Aichi, Japan
www.ma20kita.com
885313A224

1. Change lever

1. Blade cover
1. Recessed part of crank



















