makita DUM111 Cordless Grass Shear

SPECIFICATIONS
| Model: | DUM111 | |
| Cutting width | 110 mm | |
| Strokes per minute | 2,500 min-1 | |
| Part number of replacement shear blades | Grass shear | 191N23-4, 195267-4 |
| Hedge trimmer | 191N24-2, 198408-1 | |
| Dimensions (L x W x H) | 330 mm x 120 mm x 130 mm | |
| Rated voltage | D.C. 18 V | |
| Net weight | 1.4 kg – 1.8 kg | |
- Due to our continuing program of research and development, the specifications herein are subject to change without notice.
- Specifications and battery cartridge may differ from country to country.
- The weight may differ depending on the attachment(s), including the battery cartridge. The lightest and heaviest combinations, according to EPTA-Procedure 01/2014, are shown in the table.
Applicable battery cartridge and charger:
| Battery cartridge | BL1815N / BL1820B / BL1830B / BL1840B / BL1850B / BL1860B |
| Charger | DC18RC / DC18RD / DC18RE / DC18SD / DC18SE / DC18SF / DC18SH |
- Some of the battery cartridges and chargers listed above may not be available depending on your region of residence.
WARNING: Only use the battery cartridges and chargers listed above. Use of any other battery cartridges and chargers may cause injury and/or fire.
Recommended cord connected power source
Portable power pack PDC01
- The cord-connected power source(s) listed above may not be available depending on your region of residence.
- Before using the cord-connected power source, read instructions and cautionary markings on them.

Intended use
The tool is intended for cutting lawn edges or sprouts.
Noise:
The typical A-weighted noise level determined accord-ing to EN50636-2-94:
DUM111 with shear blade for grass shear installed Sound pressure level (LpA) : 70 dB(A)
Uncertainty (K) : 1.5 dB(A)
The noise level under working may exceed 80 dB (A).
The typical A-weighted noise level determined according to EN62841-4-2:
DUM111 with shear blade for hedge trimmer installed
Sound pressure level (LpA) : 70 dB(A)
Uncertainty (K) : 3 dB(A)
The noise level under working may exceed 80 dB (A).
NOTE: The declared noise emission value(s) has been measured in accordance with a standard test method and may be used for comparing one tool with another.
NOTE: The declared noise emission value(s) may also be used in a preliminary assessment of exposure.
WARNING: Wear ear protection.
WARNING: The noise emission during actual use of the power tool can differ from the declared value(s) depending on the ways in which the tool is used especially what kind of workpiece is processed.
WARNING: Be sure to identify safety measures to protect the operator that is based on an estimation of exposure in the actual conditions of use (taking account of all parts of the operating cycle such as the times when the tool is switched off and when it is running idle in addition to the trigger time).
Vibration:
The vibration total value (tri-axial vector sum) deter-mined according to EN50636-2-94:
DUM111 with shear blade for grass shear installed Vibration emission (ah) : 2.5 m/s2 or less Uncertainty (K) : 1.5 m/s2
The vibration total value (tri-axial vector sum) deter-mined according to EN62841-4-2:
DUM111 with shear blade for hedge trimmer installed
Vibration emission (ah) : 2.5 m/s2 or less Uncertainty (K) : 1.5 m/s2
NOTE: The declared vibration total value(s) has been measured in accordance with a standard test method and may be used for comparing one tool with another.
NOTE: The declared vibration total value(s) may also be used in a preliminary assessment of exposure.
WARNING: The vibration emission during actual use of the power tool can differ from the declared value(s) depending on the ways in which the tool is used especially what kind of workpiece is processed.
WARNING: Be sure to identify safety measures to protect the operator that are based on an estimation of exposure in the actual conditions of use (taking account of all parts of the operating cycle such as the times when the tool is switched off and when it is running idle in addition to the trigger time).
EC Declaration of Conformity:
For European countries only
The EC declaration of conformity is included as Annex A to this instruction manual.
SAFETY WARNINGS
General power tool safety warnings:
WARNING: Read all safety warnings, instructions, illustrations and specifications provided with this power tool. Failure to follow all instructions listed below may result in electric shock, fire and/or serious injury.
Save all warnings and instructions for future reference.
The term “power tool” in the warnings refers to your mains-operated (corded) power tool or battery-operated (cordless) power tool.
Work area safety
- Keep work area clean and well-lit. Cluttered or dark areas invite accidents.
- Do not operate power tools in explosive atmospheres, such as in the presence of flammable liquids, gases or dust. Power tools create sparks that may ignite dust or fumes.
- Keep children and bystanders away while operating a power tool. Distractions can cause you to lose control.
Electrical safety
- Power tool plugs must match the outlet. Never modify the plug in any way. Do not use any adapter plugs with earthed (grounded) power tools. Unmodified plugs and matching outlets will reduce the risk of electric shock.
- Avoid body contact with earthed or grounded surfaces, such as pipes, radiators, ranges and refrigerators. There is an increased risk of electrical shock if your body is earthed or grounded.
- Do not expose power tools to rain or wet conditions. Water entering a power tool will increase the risk of electric shock.
- Do not abuse the cord. Never use the cord for carrying, pulling or unplugging the power tool. Keep cord away from heat, oil, sharp edges or moving parts. Damaged or entangled cords increase the risk of electric shock.
- When operating a power tool outdoors, use an extension cord suitable for outdoor use. Use of a cord suitable for outdoor use reduces the risk of electric shock.
- If operating a power tool in a damp location is unavoidable, use a residual current device (RCD) protected supply. Use of an RCD reduces the risk of electric shock.
- Power tools can produce electromagnetic fields (EMF) that are not harmful to the user. However, users of pacemakers and other similar medical devices should contact the maker of their device and/or doctor for advice before operating this power tool.
Personal safety
- Stay alert, watch what you are doing and use common sense when operating a power tool. Do not use a power tool while you are tired or under the influence of drugs, alcohol or med-ication. A moment of inattention while operating power tools may result in serious personal injury.
- Use personal protective equipment. Always wear eye protection. Protective equipment such as a dust mask, non-skid safety shoes, hard hat or hearing protection used for appropriate conditions will reduce personal injuries.
- Prevent unintentional starting. Ensure the switch is in the off-position before connecting to power source and/or battery pack, picking up or carrying the tool. Carrying power tools with your finger on the switch or energizing power tools that have the switch on invites accidents.
- Remove any adjusting key or wrench before turning the power tool on. A wrench or a key left attached to a rotating part of the power tool may result in personal injury.
- Do not overreach. Keep proper footing and balance at all times. This enables better control of the power tool in unexpected situations.
- Dress properly. Do not wear loose clothing or jewellery. Keep your hair and clothing away from moving parts. Loose clothes, jewellery or long hair can be caught in moving parts.
- If devices are provided for the connection of dust extraction and collection facilities, ensure these are connected and properly used. Use of dust collection can reduce dust-related hazards.
- Do not let familiarity gained from frequent use of tools allow you to become complacent and ignore tool safety principles. A careless action can cause severe injury within a fraction of a second.
- Always wear protective goggles to protect your eyes from injury when using power tools. The goggles must comply with ANSI Z87.1 in the USA, EN 166 in Europe, or AS/NZS 1336 in Australia/New Zealand. In Australia/New Zealand, it is legally required to wear a face shield to protect your face, too.

It is an employer’s responsibility to enforce the use of appropriate safety protective equip-ments by the tool operators and by other persons in the immediate working area.
Power tool use and care:
- Do not force the power tool. Use the correct power tool for your application. The correct power tool will do the job better and safer at the rate for which it was designed.
- Do not use the power tool if the switch does not turn it on and off. Any power tool that cannot be controlled with the switch is dangerous and must be repaired.
- Disconnect the plug from the power source and/or remove the battery pack, if detachable, from the power tool before making any adjustments, changing accessories, or storing power tools. Such preventive safety measures reduce the risk of starting the power tool accidentally.
- Store idle power tools out of the reach of children and do not allow persons unfamiliar with the power tool or these instructions to operate the power tool. Power tools are dangerous in the hands of untrained users.
- Maintain power tools and accessories. Check for misalignment or binding of moving parts, breakage of parts and any other condition that may affect the power tool’s operation. If damaged, have the power tool repaired before use. Many accidents are caused by poorly maintained power tools.
- Keep cutting tools sharp and clean. Properly maintained cutting tools with sharp cutting edges are less likely to bind and are easier to control.
- Use the power tool, accessories and tool bits, etc. in accordance with these instructions, tak-ing into account the working conditions and the work to be performed. Use of the power tool for operations different from those intended could result in a hazardous situation.
- Keep handles and grasping surfaces dry, clean and free from oil and grease. Slippery handles and grasping surfaces do not allow for safe handling and control of the tool in unexpected situations.
- When using the tool, do not wear cloth work gloves which may be entangled. The entanglement of cloth work gloves in the moving parts may result in personal injury.
Battery tool use and care
- Recharge only with the charger specified by the manufacturer. A charger that is suitable for one type of battery pack may create a risk of fire when used with another battery pack.
- Use power tools only with specifically designated battery packs. Use of any other battery packs may create a risk of injury and fire.
- When the battery pack is not in use, keep it away from other metal objects, like paper clips, coins, keys, nails, screws or other small metal objects, that can make a connection from one terminal to another. Shorting the battery terminals together may cause burns or a fire.
- Under abusive conditions, liquid may be ejected from the battery; avoid contact. If contact accidentally occurs, flush with water. If liquid contacts eyes, additionally seek medical help. Liquid ejected from the battery may cause irritation or burns.
- Do not use a battery pack or tool that is damaged or modified. Damaged or modified batteries may exhibit unpredictable behavior resulting in fire, explosion or risk of injury.
- Do not expose a battery pack or tool to fire or excessive temperature. Exposure to fire or temperatures above 130 °C may cause an explosion.
- Follow all charging instructions and do not charge the battery pack or tool outside the temperature range specified in the instructions. Charging improperly or at temperatures outside the specified range may damage the battery and increase the risk of fire.
Service
- Have your power tool serviced by a qualified repair person using only identical replacement parts. This will ensure that the safety of the power tool is maintained.
- Never service damaged battery packs. Service of battery packs should only be performed by the manufacturer or authorized service providers.
- Follow instructions for lubricating and changing accessories.
Cordless Grass Shear Safety Warnings
General instructions
- To ensure correct operation, the user has to read this instruction manual to make himself famil-iar with the handling of the equipment. Users insufficiently informed will risk danger to them-selves as well as others due to improper handling.
- Never allow children, persons with reduced physical, sensory or mental capabilities or lack of experience and knowledge or people unfamiliar with these instructions to use the machine, local regulations may restrict the age of the operator.
- Use the equipment with the utmost care and attention.
- Operate the equipment only if you are in good physical condition. Perform all work calmly and carefully. Use common sense and keep in mind that the operator or user is responsible for accidents or hazards occurring to other people or their property.
- Never operate the machine while people, especially children, or pets are nearby.
- The motor is to be switched off immediately in case that the equipment shows any problem or abnormal sign.
- Switch off and remove the battery cartridge when resting and when leaving the equipment unattended, and place it in a safe location to prevent danger to others or damage to the equipment.
- Avoid using the machine in bad weather conditions especially when there is a risk of lightning.
Personal protective equipment
- Wear eye protection and stout shoes at all times while operating the machine.
- Always wear substantial footwear and long trousers while operating the machine.
Starting up the equipment:
- Make sure that there are no children or other people nearby, also pay attention to any ani-mals in the working vicinity. Otherwise, stop using the equipment.
- Before use always check that the equipment is safe for operation. Check the security of the cutting tool and the guard and the switch trigger/lever for easy and proper action. Check for clean and dry handles and test the function of the start/stop.
- Check damaged parts before further use of the equipment. A guard or other part that is damaged should be carefully checked to determine that it will operate properly and perform its intended function. Check for alignment of moving parts, binding of moving parts, breakage of parts, mounting, and any other condition that may affect its operation. A guard or other part that is damaged should be properly repaired or replaced by our authorized service center unless indicated elsewhere in this manual.
- Switch on the motor only when the hands and feet are away from the cutting tool.
- Before starting make sure that the cutting tool has no contact with any objects.
Method of operation
- Only use the equipment in good light and visibility. During the winter season beware of slippery or wet areas, ice, and snow (risk of slipping). Always ensure a safe footing on slopes and be sure to walk and never run.
- Take care against injury to feet and hands from the cutting tool.
- Never stand on a ladder and run the equipment.
- Never climb up into trees to perform cutting operations with the equipment.
- Never work on unstable surfaces.
- Remove sand, stones, nails, etc. found within the working range. Foreign particles may damage the cutting tool and can cause dangerous kickbacks.
- Should the cutting tool hit stones or other hard objects, immediately switch off the motor and inspect the cutting tool.
- Inspect the cutting tool at short regular intervals for damage (detection of hairline cracks by means of the tapping-noise test).
- Before commencing cutting, the cutting tool must have reached full working speed.
- The cutting tool has to be equipped with the appropriate guard. Never run the equipment with damaged guards or without guards in place!
- All protective installations and guards supplied with the equipment must be used during operation.
- Always remove the battery cartridge from the equipment:
whenever leaving the equipment unattended;
before clearing a blockage;
before checking, cleaning or working on the equipment;
after striking a foreign object;
whenever the equipment starts vibrating abnormally. - Always ensure that the ventilation openings are kept clear of debris.
- Cutting means continues to run after the motor is switched off.
- If the blades stop moving due to the stuck of foreign objects between the blades during operation, switch off the tool and remove the battery cartridge, and then remove the foreign objects using tools such as pliers. Removing the foreign objects by hand may cause an injury for the reason that the blades may move in reaction to removing the foreign objects.
Cutting Tools
Employ only the correct cutting tool for the job in hand.
Maintenance instructions
- The condition of the equipment, in particular of the cutting tool of the protective devices must be checked before commencing work.
- Turn off the motor and remove the battery cartridge before carrying out maintenance, replacing cutting tools or cleaning the equipment or cutting tool.
- When not in use, store the equipment indoors in dry and high or locked-up place – out of the reach of children. Clean and maintain before storage.
SAVE THESE INSTRUCTIONS.
WARNING: DO NOT let comfort or familiarity with the product (gained from repeated use) replace strict adherence to safety rules for the subject product. MISUSE or failure to follow the safety rules stated in this instruction manual may cause serious personal injury.
Cordless Hedge Trimmer Safety Warnings:
- Keep all parts of the body away from the blade. Do not remove cut material or hold material to be cut when blades are moving. Blades continue to move after the switch is turned off. A moment of inattention while operating the hedge trimmer may result in serious personal injury.
- Carry the hedge trimmer by the handle with the blade stopped and take care not to operate any power switch. Proper carrying of the hedge trimmer will decrease the risk of inadvertent starting and resultant personal injury from the blades.
- always fit the blade cover. Proper handling of the hedge trimmer will decrease the risk of personal injury from the blades.
- When transporting or storing the hedge trimmer, make sure all power switches are off and the battery pack is removed or disconnected. Unexpected actuation of the hedge trimmer while clearing jammed material or servicing may result in serious personal injury.
- Hold the hedge trimmer by insulated gripping surfaces only, because the blade may contact hidden wiring. Blades contacting a “live” wire may make exposed metal parts of the hedge trim-mer “live” and could give the operator an electric shock.
- Keep all power cords and cables away from the cutting area. Power cords or cables may be hidden in hedges or bushes and can be accidentally cut by the blade.
- Do not use the hedge trimmer in bad weather conditions, especially when there is a risk of lightning. This decreases the risk of being struck by lightning.
Additional Safety Instructions Preparation
- Check the hedges and bushes for foreign objects, such as wire fences or hidden wiring before operating the tool.
- The tool must not be used by children or young persons under 18 years of age. Young persons over 16 years of age may be exempted from this restriction if they are undergoing training under the supervision of an expert.
- First-time users should have an experienced user show them how to use the tool.
- Use the tool only if you are in good physical condition. If you are tired, your attention will be reduced. Be especially careful at the end of a working day. Perform all work calmly and carefully. The user is responsible for all damages to third parties.
- Never use the tool when under the influence of alcohol, drugs or medication.
- Work gloves of stout leather are part of the basic equipment of the tool and must always be worn when working with it. Also, wear sturdy shoes with anti-skid soles.
- Before starting work check to make sure that the tool is in good and safe working order. Ensure guards are fitted properly. The tool must not be used unless fully assembled.
Operation:
- Hold the tool firmly when using the tool.
- The tool is intended to be used by the operator at ground level. Do not use the tool on ladders or any other unstable support.
- Do not simultaneously wear multiple belt harnesses and/or shoulder harnesses when operating the tool.
- DANGER: Keep hands away from the blade. Contact with a blade will result in serious personal injury.
- Do not use the tool in the rain or in wet or very damp conditions. The electric motor is not waterproof.
- Make sure you have a secure footing before starting operation.
- Do not operate the tool at no-load unnecessarily.
- Immediately switch off the tool and remove the battery cartridge if the shear blades should come into contact with a fence or other hard object. Check the blades for damage, and if damaged, replace the blades immediately.
- Before checking the shear blades, taking care of faults, or removing material caught in the shear blades, always switch off the tool and remove the battery cartridge.
- Never point the shear blades to yourself or others.
- If the blades stop moving due to the stuck of foreign objects between the blades during operation, switch off the tool and remove the battery cartridge, and then remove the foreign objects using tools such as pliers. Removing the foreign objects by hand may cause an injury for the reason that the blades may move in reaction to removing the foreign objects.
- Avoid dangerous environments. Don’t use the tool in damp or wet locations or expose it to rain. Water entering the tool will increase the risk of electric shock.
Maintenance and storage
- Switch off the tool and remove the battery cartridge before doing any maintenance work.
- When moving the tool to another location, including during work, always remove the battery cartridge and put the blade cover on the shear blades. Never carry or transport the tool with the blades running. Never grasp the blades with your hands.
- Clean the tool and especially the shear blades after use, and before putting the tool into stor-age for extended periods. Lightly oil the blades and put on the blade cover.
- Store the tool with the blade cover on, in a dry room. Keep it out of reach of children. Never store the tool outdoors.
- Do not dispose of the battery(ies) in a fire. The cell may explode. Check with local codes for possible special disposal instructions.
- Do not open or mutilate the battery(ies). Released electrolyte is corrosive and may cause damage to the eyes or skin. It may be toxic if swallowed.
- Do not charge the battery in rain, or in wet locations.
SAVE THESE INSTRUCTIONS.
WARNING: DO NOT let comfort or familiarity with the product (gained from repeated use) replace strict adherence to safety rules for the subject product. MISUSE or failure to follow the safety rules stated in this instruction manual may cause serious personal injury.
Important safety instructions for battery cartridge
- Before using the battery cartridge, read all instructions and cautionary markings on (1) battery charger, (2) battery, and (3) product using the battery.
- Do not disassemble or tamper with the battery cartridge. It may result in a fire, excessive heat, or explosion.
- If the operating time has become excessively shorter, stop operating immediately. It may result in a risk of overheating, possible burns, and even an explosion.
- If electrolyte gets into your eyes, rinse them out with clear water and seek medical attention right away. It may result in loss of your eyesight.
- Do not short the battery cartridge:
Do not touch the terminals with any conductive material.
Avoid storing battery cartridges in a container with other metal objects such as nails, coins, etc. Do not expose the battery cartridge to water or rain.
A battery short can cause a large current flow, overheating, possible burns, and even a breakdown. - Do not store and use the tool and battery cartridge in locations where the temperature may reach or exceed 50 °C (122 °F).
- Do not incinerate the battery cartridge even if it is severely damaged or is completely worn out. The battery cartridge can explode in a fire.
- Do not nail, cut, crush, throw, drop the battery cartridge, or hit against a hard object to the battery cartridge. Such conduct may result in a fire, excessive heat, or explosion.
- Do not use a damaged battery.
- The contained lithium-ion batteries are subject to the Dangerous Goods Legislation requirements. For commercial transports e.g. by third parties, forwarding agents, special requirements on packaging and labeling must be observed. For the preparation of the item being shipped, consulting an expert for hazardous material is required. Please also observe possibly more detailed national regulations.
Tape or mask off open contacts and pack up the battery in such a manner that it cannot move around in the packaging. - When disposing of the battery cartridge, remove it from the tool and dispose of it in a safe place. Follow your local regulations relating to the disposal of batteries.
- Use the batteries only with the products specified by Makita. Installing the batteries to non-compliant products may result in a fire, excessive heat, explosion, or leak of electrolyte.
- If the tool is not used for a long period of time, the battery must be removed from the tool. During and after use, the battery cartridge may take on heat which can cause burns or low temperature burns. Pay attention to the handling of hot battery cartridges.
- Do not touch the terminal of the tool imme-diately after use as it may get hot enough to cause burns.
- Do not allow chips, dust, or soil stuck into the terminals, holes, and grooves of the battery cartridge. It may result in poor performance or breakdown of the tool or battery cartridge.
- Unless the tool supports the use near
high-voltage electrical power lines, do not use the battery cartridge near high-voltage electri-cal power lines. It may result in a malfunction or breakdown of the tool or battery cartridge. - Keep the battery away from children.
SAVE THESE INSTRUCTIONS.
CAUTION: Only use genuine Makita batteries. Use of non-genuine Makita batteries, or batteries that have been altered, may result in the battery bursting causing fires, personal injury and damage. It will also void the Makita warranty for the Makita tool and charger.
Tips for maintaining maximum battery life
- Charge the battery cartridge before completely discharging. Always stop tool operation and charge the battery cartridge when you notice less tool power.
- Never recharge a fully charged battery cartridge. Overcharging shortens the battery service life.
- Charge the battery cartridge with room temperature at 10 °C – 40 °C (50 °F – 104 °F). Let a hot battery cartridge cools down before charging it.
- When not using the battery cartridge, remove it from the tool or the charger.
- Charge the battery cartridge if you do not use it for a long period (more than six months).
FUNCTIONAL DESCRIPTION
CAUTION: Always be sure that the tool is switched off and the battery cartridge is removed before adjusting or checking the function on the tool.
Using the tool as a cordless hedge trimmer
This tool can be used as a cordless hedge trimmer by installing the shear blades for the hedge trimmer.
Installing or removing battery cartridge:
CAUTION: Always switch off the tool before installing or removing of the battery cartridge.
CAUTION: Hold the tool and the battery cartridge firmly when installing or removing the battery cartridge. Failure to hold the tool and the battery cartridge firmly may cause them to slip off your hands and result in damage to the tool and battery cartridge and a personal injury.
Red indicator- Button
- Battery cartridge
To remove the battery cartridge, slide it from the tool while sliding the button on the front of the cartridge.
To install the battery cartridge, align the tongue on the battery cartridge with the groove in the housing and slip it into place. Insert it all the way until it locks in place with a little click. If you can see the red indicator as shown in the figure, it is not locked completely.
CAUTION: Always install the battery cartridge fully until the red indicator cannot be seen. If not, it may accidentally fall out of the tool, causing injury to you or someone around you.
CAUTION: Do not install the battery cartridge forcibly. If the cartridge does not slide in easily, it is not being inserted correctly.
Indicating the remaining battery capacity:
Only for battery cartridges with the indicator

- Indicator lamps
- Check button
Press the check button on the battery cartridge to indi-cate the remaining battery capacity. The indicator lamps light up for a few seconds.

NOTE: Depending on the conditions of use and the ambient temperature, the indication may differ slightly from the actual capacity.
NOTE: The first (far left) indicator lamp will blink when the battery protection system works.
Tool/battery protection system:
The tool is equipped with a tool/battery protection system. This system automatically cuts off power to the motor to extend tool and battery life. The tool will automatically stop during operation if the tool or battery is placed under one of the following conditions:
Overload protection
When the battery is operated in a manner that causes it to draw an abnormally high current, the tool automatically stops. In this situation, turn the tool off and stop the application that caused the tool to become overloaded. Then turn the tool on to restart.
Overheat protection
When the battery is overheated, the tool stops automatically. In this case, let the tool and battery cool before turning the tool on again.
Over-discharge protection
When the battery capacity is not enough, the tool stops automatically. In this case, remove the battery from the tool and charge the battery.
Switch action:
WARNING: Before installing the battery cartridge into the tool, always check to see that the switch trigger actuates properly and returns to the “OFF” position when released.
WARNING: For your safety, this tool is equipped with the lock-off button which prevents the tool from unintended starting. Never use the tool if it starts when you pull the switch trigger without pressing the lock-off button. Ask your local Makita Service Center for repairs.
WARNING: Never disable the lock function or tape down the lock-off button.
NOTICE: Do not pull the switch trigger forcibly without pressing the lock-off button. The switch may break.
Switch trigger- Lock-off button
To prevent the switch trigger from being accidentally pulled, a lock-off button is provided. To start the tool, press the lock-off button and pull the switch trigger. Release the switch trigger to stop. The lock-off button can be pressed from either the right or left side.
Indicator lamp:
The indicator lamp blinks or lights up when the remaining battery capacity is low or empty. The indicator lamp also lights up when the tool becomes overloaded.

- Indicator lamp
Lamp Status and action to be taken
| Indicator lamp | Status | Action to be taken |
| The lamp blinks red. | The remaining bat- tery capacity is low. | Charge the battery. |
| The lamp lights up red. * | The tool has stopped because the remain- ing battery capacity is empty. | Charge the battery. |
| The tool has stopped due to overload. | Turn off the tool. |
The time at which the indicator lamp lights up varies depending on the temperature around the work area and the battery cartridge conditions.
Adjusting the shearing height (for grass shear)
Optional accessory
CAUTION: When changing the shearing height, be sure to attach the blade cover and be careful not to trap fingers between the tool and grass receiver.
The shearing height can be set to three levels (15 mm, 20 mm, and 25 mm) by changing the fixed position of the grass receiver. The shearing height without the grass receiver is about 10 mm.
- Slide the grass receiver toward the front of the tool.

- Grass receiver
- Change the fixed position of the grass receiver by moving it in the direction of the arrow.

NOTE: The shearing height value is a guideline. The actual shearing height may vary depending on the condition of the lawn or the ground.
NOTE: Try a test shearing in a less conspicuous place to get your desired height.
ASSEMBLY
CAUTION: Always be sure that the tool is switched off and the battery cartridge is removed before carrying out any work on the tool.
CAUTION: When replacing the shear blades, always wear gloves and attach the blade cover so that your hands and face do not directly contact the blades.
NOTICE: When replacing the shear blades, do not wipe off grease from the gear and crank.
Installing or removing the blade cover
CAUTION: Be careful not to touch the blades when installing or removing the blade cover.
To remove the blade cover, pull it slightly, and then slide it side-ways. To install the blade cover, perform the steps in reverse.

Installing or removing the grass receiver
Optional accessory
CAUTION: When installing or removing the grass receiver, be sure to attach the blade cover and be careful not to trap your fingers between the tool and the grass receiver.
Installing the grass receiver
- Hook the hinge of the grass receiver on the groove of the tool.

- Hinge
- Grass receiver
- Align the protrusions on the grass receiver with the grooves on the tool by sliding the grass receiver toward the front of the tool and moving it in the direction of the arrow.

NOTICE: Do not attach the hinge of the grass receiver to the tool forcibly after aligning the protrusions on the grass receiver with the grooves on the tool.
Removing the grass receiver
- Release the protrusions on the grass receiver from the grooves on the tool while sliding the grass receiver toward the front of the tool.

- Grass receiver
- Release the hinge of the grass receiver from the tool.
Installing or removing the shear blades for grass shear
NOTICE: If the parts other than the shear blades such as the crank are worn out, ask Makita Authorized Service Centers for parts replacement or repairs.
Removing the shear blades
- Remove the grass receiver if it’s installed. Place the tool upside down.

- While pressing the lock lever, turn the undercover counterclockwise until on the undercover is aligned with on the lock lever.

- Undercover
- Lock lever
- Remove the undercover, shear blades, and crank.

- Undercover
- Shear blades
- Crank
Installing the shear blades
Prepare the crank, undercover, and new shear blades.

- Remove the blade cover from the old shear blades, and then attach it to the new one

- Blade cover
- Adjust the three pins so that they are lined up on the alignment line.

- Apply a small amount of grease to the periphery of the crank. Attach the crank to the pins with the small and large rounds facing up.

- Crank
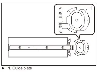
- Adjust the blades and guide plate so that the hole in the guide plate and the two protrusions on the blades are lined up.

- Turn the shear blades upside down and install them so that the pins on the tool fit in the hole on the guide plate. Make sure that the shear blades are fixed securely in place.

NOTE: Sliding the blade cover forward slightly makes it easier to install the shear blades.
- Place the undercover so that the under-cover is aligned with the lock lever.

- While pressing the undercover, turn the under-cover clockwise until on the undercover is aligned with on the lock lever.

- Make sure that the lock lever fits in the groove on the undercover.

CAUTION: Never use the tool without installing the undercover.
- Remove the blade cover, and then turn on the tool to check that it works properly.
NOTICE: If the shear blades do not operate properly, the blades are not engaging the crank properly. Remove the blades and install them again.
Installing or removing shear blades for hedge trimmer
CAUTION: Attach the blade cover before removing or installing the shear blades.
NOTICE: If the parts other than the shear blades such as the crank are worn out, ask Makita Authorized Service Centers for parts replacement or repairs.
Removing the shear blades
- Place the tool upside down.

- While pressing the lock lever, turn the undercover counterclockwise until on the undercover is aligned with on the lock lever.

- Remove the undercover.

- Loosen two screws with a screwdriver and remove the shear blades.

NOTE: The shear blades can be removed without removing the screws.
- Remove the crank from the shear blades.

NOTE: The crank may remain in the tool.
NOTE: Attach the blade cover and the storage case to the removed shear blades, and then store the blades.
Installing shear blades
- Prepare the crank, undercover, and new shear blades.

- Attach the blade cover to the shear blades.

- Adjust the three pins so that they are lined up on the alignment line.

- Apply a small amount of grease to the periphery of the crank. Attach the crank to the pins with its small and large rounds facing down.

- Slide the shear blades so that the hole on the guide plate is positioned at the center of the rings of blades.

- Turn the shear blades upside down and install them so that the pin on the tool fits in the hole on the shear blades. Insert the claw of the guide plate into the groove on the tool. Make sure that the shear blades are fixed securely in place.

NOTE: Sliding the blade cover forward slightly makes it easier to install the shear blades.
- Tighten the two screws firmly with a screwdriver.

- Place the undercover so that on the under-cover is aligned with on the lock lever.

- While pressing the undercover, turn the under-cover clockwise until on the undercover is aligned with on the lock lever.

- Make sure that the lock lever fits in the groove on the undercover.

CAUTION: Never use the tool without installing the undercover.
- Remove the blade cover, and then turn on the tool to check if the tool works properly.
NOTICE: If the shear blades do not operate prop-erly, the blades are not engaging the crank prop-erly. Remove the blades and install them again.
Installing or removing the chip receiver
Optional accessory
CAUTION: When installing or removing the chip receiver, always wear gloves and attach the blade cover so that your hands and face do not directly contact the blade.
The chip receiver gathers discarded leaves and makes clean-up afterward much easier. It can be installed on either side of the tool. To install the chip receiver, press it against the shear blades so that the hooks fit into the holes of the shear blades.

- To remove the chip receiver, press the levers on both sides to release the hooks.

NOTICE: Never try to remove the chip receiver by an excessive force with its hooks locked in the holes of the blades.
OPERATION:
WARNING: Before shearing, clear away sticks and stones from the shearing area. Furthermore, clear away any weeds from the shearing area in advance.

WARNING: Keep hands away from blades.
CAUTION: Avoid operating the tool in very hot weather as much as practicable. When operating the tool, be careful of your physical condition.
Shearing (for grass shear):
Turn the tool on after adjusting the shearing height and hold it so that the bottom of the tool rests on the ground. Gently move the tool forward.

- When trimming sprouts or foliage of a small tree, trim little by little.

- Trim large branches to the desired height using branch cutters before using this tool.
NOTICE: Do not use the tool in a way that causes the motor to stop or to rotate extremely slowly.
NOTICE: Do not attempt to cut thick branches.
NOTICE: Do not allow the shear blades to con-tact the ground during operation. The blades will be dulled, causing poor performance.
NOTICE: Do not trim the wet grass or foliage of small trees.
Cutting long lawn
Do not try to cut long grass all at once. Instead, cut the lawn in steps. Leave a day or two between cuts until the lawn becomes evenly short.

NOTE: Cutting long grass to a short length all at once may cause the grass to die.
Trimming (for hedge trimmer)
CAUTION: Be careful not to accidentally contact a metal fence or other hard objects while trimming. The blades may break and cause an injury.
CAUTION: Be careful not to allow the shear blades to contact the ground. The tool may recoil and cause an injury.
CAUTION: Overreaching with a hedge trimmer, particularly from a ladder, is extremely dangerous. Do not work while standing on anything wobbly or infirm.
NOTICE: Do not attempt to cut branches thicker than 10 mm in diameter with the tool. Cut branches to 10 cm lower than the cutting height using branch cutters before using the tool.

NOTICE: Do not cut down dead trees or similar hard objects. Doing so may damage the tool.
NOTICE: Do not trim the grass or weeds while using the shear blades. The blades may become tangled in the grass or weeds.
- Hold the tool with one hand, pull the switch trigger while pressing the lock-off button, and then move it forward.

- For basic operation, tilt the blades toward the trimming direction and move it calmly and slowly at the speed rate of 3 to 4 seconds per meter.



- When trimming to make a round shape (trimming box-wood or rhododendron, etc.), trim from the root to the top for a beautiful finish.

MAINTENANCE
CAUTION: Always be sure that the tool is switched off and the battery cartridge is removed before attempting to perform inspection or maintenance.
To maintain product SAFETY and RELIABILITY, repairs, any other maintenance or adjustment should be performed by Makita Authorized or Factory Service Centers, always using Makita replacement parts.
Cleaning the tool:
Clean the tool by wiping off dust with a dry cloth or one dipped in soapy water and wrung out.
NOTICE: Never use gasoline, benzine, thinner, alcohol or the like. Discoloration, deformation or cracks may result.
Blade maintenance:
Before the operation or once per hour during operation, apply low-viscosity oil (machine oil, or spray-type lubricating oil) to the blades.


After operation, remove dust from both sides of the blades with a wired brush, wipe it off with a cloth and then apply low-viscosity oil (machine oil, or spray-type lubricating oil) to the blades.

NOTICE: Do not wash the blades in water. Doing so may cause rust or damage to the tool.
NOTICE: Dirt and corrosion cause excessive blade friction and shorten the operating time per battery charge.
Storage:
The hook hole in the tool bottom is convenient for hanging the tool from a nail or screw on the wall. Attach the blade cover to the shear blades so that the blades are not exposed. Store the tool out of the reach of children. Store the tool in a place not exposed to moisture or rain.

OPTIONAL ACCESSORIES
CAUTION: These accessories or attachments are recommended for use with your Makita tool specified in this manual. The use of any other accessories or attachments might present a risk of injury to persons. Only use accessory or attachment for its stated purpose.
If you need any assistance for more details regarding these accessories, ask your local Makita Service Center.
- Shear blade assembly (for grass shear use)
- Shear blade cover (for grass shear use)
- Grass receiver (for grass shear use)
- Long handle attachment (for grass shear use)
- Shear blade assembly (for hedge trimmer use)
- Shear blade cover (for hedge trimmer use)
- Chip receiver (for hedge trimmer use)
- Storage case
- Makita genuine battery and charger
NOTE: Some items in the list may be included in the tool package as standard accessories. They may differ from country to country.

Red indicator
Switch trigger

















