makita UP100D Cordless Pruning Shears

SPECIFICATIONS
| Model: | UP100D | |
| Max. cutting capacity | 25 mm | |
| Overall length (Without battery) | 259 mm | |
| Rate d voltage | D.C. 10.8 V – 12 V max | |
| Net weight | *1 | 0.68 kg |
| *2 | 0.89 – 1.1 kg | |
- Due to our continuing program of research and development, the specifications herein are subject to change without notice.
- Specifications may differ from country to
*1: Weight without the battery and holster.
*2: The lightest and heaviest combination of weight, according to EPTA-Procedure 01/2014. The weight may differ depending on the attachment(s), including the battery cartridge(s).
Applicable battery cartridge and charger
| Battery cartridge | BL1016 / BL1021B / BL1041B |
| Charger | DC10SA / DC10SB / DC10WC / DC10WD / DC18RE |
- Some of the battery cartridges and chargers listed above may not be available depending on your region of residence
WARNING: Only use the battery cartridges and chargers listed above. Use of any other battery cartridges and chargers may cause injury and/or fire.
Symbols
The followings show the symbols which may be used for the equipment. Be sure that you understand their meaning before use.
![]() | Take particular care and attention. |
![]() | Read instruction manual. |
![]() | Danger; be aware of thrown objects. |
![]() | Keep bystanders away. |
![]() | DANGER – Keep hands away from blade. |
![]() | Do not expose to moisture. |
![]() | Only for EU countries Due to the presence of hazardous components in the equipment, waste electrical and electronic equipment, accumulators and batteries may have a negative impact on the environment and human health. Do not dispose of electrical and electronic appliances or batteries with household waste! In accordance with the European Directive on waste electrical and electronic equipment and on accumulators and batteries and waste accumulators and batteries, as well as their adaptation to national law, waste electrical equipment, batteries and accumulators should be stored separately and delivered to a separate collection point for municipal waste, operating in accordance with the regulations on environmental protection. This is indicated by the symbol of the crossed-out wheeled bin placed on the equipment. |
| Intended use | The tool is intended for pruning twigs or branches. |
SAFETY WARNINGS
General power tool safety warnings
WARNING Read all safety warnings, instructions, illustrations and specifications provided with this power tool. Failure to follow all instructions listed below may result in electric shock, fire and/or serious injury
Save all warnings and instructions for future reference.
The term “power tool” in the warnings refers to your mains-operated (corded) power tool or battery-operated (cordless) power tool.
Work area safety
- Keep work area clean and well lit. Cluttered or dark areas invite
- Do not operate power tools in explosive atmo- spheres, such as in the presence of flammable liquids, gases or dust. Power tools create sparks which may ignite the dust or
- Keep children and bystanders away while operating a power tool. Distractions can cause you to lose
Electrical safety
- Power tool plugs must match the outlet. Never modify the plug in any Do not use any adapter plugs with earthed (grounded) power tools. Unmodified plugs and matching outlets will reduce risk of electric shock.
- Avoid body contact with earthed or grounded surfaces, such as pipes, radiators, ranges and refrigerators. There is an increased risk of elec- tric shock if your body is earthed or
- Do not expose power tools to rain or wet con- ditions. Water entering a power tool will increase the risk of electric
- Do not abuse the cord. Never use the cord for carrying, pulling or unplugging the power tool. Keep cord away from heat, oil, sharp edges or moving parts. Damaged or entangled cords increase the risk of electric shock.
- When operating a power tool outdoors, use an extension cord suitable for outdoor Use of a cord suitable for outdoor use reduces the risk of electric shock.
- If operating a power tool in a damp location is unavoidable, use a residual current device (RCD) protected supply. Use of an RCD reduces the risk of electric shock
- Power tools can produce electromagnetic fields (EMF) that are not harmful to the However, users of pacemakers and other similar medical devices should contact the maker of their device and/ or doctor for advice before operating this power tool.
Personal safety
- Stay alert, watch what you are doing and use common sense when operating a power tool. Do not use a power tool while you are tired or under the influence of drugs, alcohol or med- ication. A moment of inattention while operating power tools may result in serious personal
- Use personal protective equipment. Always wear eye protection. Protective equipment such as a dust mask, non-skid safety shoes, hard hat or hearing protection used for appropriate conditions will reduce personal
- Prevent unintentional starting. Ensure the switch is in the off-position before connecting to power source and/or battery pack, picking up or carrying the tool. Carrying power tools with your finger on the switch or energising power tools that have the switch on invites
- Remove any adjusting key or wrench before turning the power tool on. A wrench or a key left attached to a rotating part of the power tool may result in personal injury.
- Do not overreach. Keep proper footing and balance at all times. This enables better control of the power tool in unexpected situations.
- Dress properly. Do not wear loose clothing or jewellery. Keep your hair and clothing away from moving parts. Loose clothes, jewellery or long hair can be caught in moving parts.
- If devices are provided for the connection of dust extraction and collection facilities, ensure these are connected and properly used. Use of dust collection can reduce dust-related hazards.
- Do not let familiarity gained from frequent use of tools allow you to become complacent and ignore tool safety principles. A careless action can cause severe injury within a fraction of a second.
- Always wear protective goggles to protect your eyes from injury when using power tools. The goggles must comply with ANSI Z87.1 in the USA, EN 166 in Europe, or AS/NZS 1336 in Australia/New Zealand. In Australia/New Zealand, it is legally required to wear a face shield to protect your face, too.

It is an employer’s responsibility to enforce the use of appropriate safety protective equipments by the tool operators and by other persons in the immediate working area.
Power tool use and care
- Do not force the power tool. Use the correct power tool for your application. The correct power tool will do the job better and safer at the rate for which it was designed.
- Do not use the power tool if the switch does not turn it on and off. Any power tool that cannot be controlled with the switch is dangerous and must be repaired.
- Disconnect the plug from the power source and/or remove the battery pack, if detachable, from the power tool before making any adjustments, changing accessories, or storing power tools. Such preventive safety measures reduce the risk of starting the power tool accidentally.
- Store idle power tools out of the reach of children and do not allow persons unfamiliar with the power tool or these instructions to operate the power tool. Power tools are dangerous in the hands of untrained users.
- Maintain power tools and accessories. Check for misalignment or binding of moving parts, breakage of parts and any other condition that may affect the power tool’s operation. If damaged, have the power tool repaired before use. Many accidents are caused by poorly maintained power tools.
- Keep cutting tools sharp and clean. Properly maintained cutting tools with sharp cutting edges are less likely to bind and are easier to control.
- Use the power tool, accessories and tool bits etc. in accordance with these instructions, taking into account the working conditions and the work to be performed. Use of the power tool for operations different from those intended could result in a hazardous situation.
- Keep handles and grasping surfaces dry, clean and free from oil and grease. Slippery handles and grasping surfaces do not allow for safe handling and control of the tool in unexpected situations.
- When using the tool, do not wear cloth work gloves which may be entangled. The entanglement of cloth work gloves in the moving parts may result in personal injury.
Battery tool use and care
- Recharge only with the charger specified by the manufacturer. A charger that is suitable for one type of battery pack may create a risk of fire when used with another battery pack.
- Use power tools only with specifically designated battery packs. Use of any other battery packs may create a risk of injury and fire.
- When battery pack is not in use, keep it away from other metal objects, like paper clips, coins, keys, nails, screws or other small metal objects, that can make a connection from one terminal to another. Shorting the battery terminals together may cause burns or a fire.
- Under abusive conditions, liquid may be ejected from the battery; avoid contact. If contact accidentally occurs, flush with water. If liquid contacts eyes, additionally seek medical help. Liquid ejected from the battery may cause irritation or burns.
- Do not use a battery pack or tool that is damaged or modified. Damaged or modified batteries may exhibit unpredictable behaviour resulting in fire, explosion or risk of injury.
- Do not expose a battery pack or tool to fire or excessive temperature. Exposure to fire or temperature above 130 °C may cause explosion.
- Follow all charging instructions and do not charge the battery pack or tool outside the temperature range specified in the instructions. Charging improperly or at temperatures outside the specified range may damage the battery and increase the risk of fire.
Service
- Have your power tool serviced by a qualified repair person using only identical replacement parts. This will ensure that the safety of the power tool is maintained.
- Never service damaged battery packs. Service of battery packs should only be performed by the manufacturer or authorized service providers.
- Follow instruction for lubricating and changing accessories.
Pruning shears safety warnings
- Do not use the pruning shear in bad weather conditions, especially when there is a risk of lightning. This decreases the risk of being struck by lightning.
- Keep all power cords and cables away from cutting area. Power cords or cables may be hidden and can be accidentally cut by the blade.
- Hold the pruning shear by insulated gripping surfaces only, because the blade may contact hidden wiring. Blades contacting a “live” wire may make exposed metal parts of the pruning shear “live” and could give the operator an electric shock.
- Keep all parts of the body away from the blade. Do not remove cut material or hold material to be cut when blades are moving.
- When clearing jammed material or servicing the pruning shear, make sure the power switch is off and the battery pack is removed or disconnected. Unexpected actuation of the pruning shear while clearing jammed material or servicing may result in serious personal injury.
- Carry the pruning shear by the handle with the blade stopped and taking care not to operate the power switch. Proper carrying of the pruning shear will decrease the risk of inadvertent starting and resultant personal injury from the blades.
- Check the hedges and bushes for foreign objects, such as wire fences or hidden wiring before operating the tool.
- Hold the tool firmly when using the tool.
- The tool is intended to be used by the operator at ground level. Do not use the tool on ladders or any other unstable support.
Additional Safety Instructions
- Use personal protective equipment. Always wear eye protection. Protective equipment such as a dust mask, non-skid safety shoes, hard hat or hearing protection used for appropriate conditions will reduce personal injuries.
- This tool is for pruning branches. Do not use it for any job except that for which it is intended.
- Never allow children, persons with reduced physical, sensory or mental capabilities or lack of experience and knowledge or people unfamiliar with these instructions to use the tool. Local regulations may restrict the age of the operator.
- Children should be supervised to ensure that they do not play with the appliance.
- Never operate the tool while people, especially children, or pets are nearby.
- Do not overreach and keep balance at all times. Always be sure of footing on slopes and to walk, never run.
- Do not touch moving hazardous parts before the tool is disconnected from the mains and/or the battery pack is removed from the tool.
- Always wear substantial footwear and long trousers while operating the tool.
- Disconnect the supply and/or remove the battery pack from the tool:
• whenever the tool is left by the user,
• before clearing a blockage,
• before checking, cleaning or working on the tool,
• after striking a foreign object to inspect the tool for damage,
• if the tool starts to vibrate abnormally, for immediately check. - Never operate the tool with defective guards or shields, or without safety devices, or if the cord is damaged or worn.
- Avoid using the tool in bad weather conditions especially when there is a risk of lightning.
- Don’t use the tool or perform battery charging operations in the rain.
- Don’t leave the tool in rain or wet locations.
- Be careful not to catch foreign matter between the shear blades. If the shear blades are jammed with foreign matter, immediately switch off the tool and disconnect the battery from the tool. Then remove the foreign matter from the shear blades.
- Never hold the branch you are pruning with your free hand. Keep your free hand away from the cutting area. Never touch the shear blades, they are very sharp and you may cut yourself.
- Don’t force the tool to make it cut. You could slip and injure yourself or cut something else unintentionally.
- Avoid cutting electrical wires that may be hidden.
- Always check the shear blades carefully before operation.
- Handle the shear blades with extreme care to prevent cuts or injury from the shear blades.
- Disconnect the battery from the tool after each use and before attempting to perform inspection or maintenance.
- When not in use, always keep the tool in its holster
Battery tool use and care
- Avoid dangerous environment. Don’t use the tool in damp or wet locations or expose it to rain. Water entering the tool will increase the risk of electric shock.
- Recharge only with the charger specified by the manufacturer. A charger that is suitable for one type of battery pack may create a risk of fire when used with another battery pack.
- Use power tools only with specifically designated battery packs. Use of any other battery packs may create a risk of injury and fire.
- When battery pack is not in use, keep it away from other metal objects, like paper clips, coins, keys, nails, screws or other small metal objects, that can make a connection from one terminal to another. Shorting the battery terminals together may cause burns or a fire.
- Under abusive conditions, liquid may be ejected from the battery; avoid contact. If contact accidentally occurs, flush with water. Ifliquid contacts eyes, additionally seek medical help. Liquid ejected from the battery may cause irritation or burns.
- Do not dispose of the battery(ies) in a fire. The cell may explode. Check with local codes for possible special disposal instructions.
- Do not open or mutilate the battery(ies). Released electrolyte is corrosive and may cause damage to the eyes or skin. It may be toxic if swallowed.
- Do not charge battery in rain, or in wet locations
Service
- Have your power tool serviced by a qualified repair person using only identical replacement parts. This will ensure that the safety of the power tool is maintained.
- Follow instruction for lubricating and changing accessories.
- Keep handles dry, clean and free from oil and grease.
WARNING: DO NOT let comfort or familiarity with product (gained from repeated use) replace strict adherence to safety rules for the subject product. MISUSE or failure to follow the safety rules stated in this instruction manual may cause serious personal injury
SAVE THESE INSTRUCTIONS.
WARNING: DO NOT let comfort or familiarity with product (gained from repeated use) replace strict adherence to safety rules for the subject product. MISUSE or failure to follow the safety rules stated in this instruction manual may cause serious personal injury.
Important safety instructions for battery cartridge
- Before using battery cartridge, read all instructions and cautionary markings on (1) battery charger, (2) battery, and (3) product using battery.
- Do not disassemble or tamper with the battery cartridge. It may result in a fire, excessive heat,or explosion.
- If operating time has become excessively shorter, stop operating immediately. It may result in a risk of overheating, possible burns and even an explosion.
- If electrolyte gets into your eyes, rinse them out with clear water and seek medical attention right away. It may result in loss of your eyesight.
- Do not short the battery cartridge:
(1) Do not touch the terminals with any conductive material.
(2) Avoid storing battery cartridge in a container with other metal objects such as nails, coins, etc.
(3) Do not expose battery cartridge to water or rain.
A battery short can cause a large current flow, overheating, possible burns and even a breakdown. - Do not store and use the tool and battery cartridge in locations where the temperature may reach or exceed 50 °C (122 °F).
- Do not incinerate the battery cartridge even if it is severely damaged or is completely worn out. The battery cartridge can explode in a fire.
- Do not nail, cut, crush, throw, drop the battery cartridge, or hit against a hard object to the battery cartridge. Such conduct may result in a fire, excessive heat, or explosion.
- Do not use a damaged battery.
- The contained lithium-ion batteries are subject to the Dangerous Goods Legislation requirements. For commercial transports e.g. by third parties, forwarding agents, special requirement on packaging and labeling must be observed. For preparation of the item being shipped, consulting an expert for hazardous material is required. Please also observe possibly more detailed national regulations. Tape or mask off open contacts and pack up the battery in such a manner that it cannot move around in the packaging.
- When disposing the battery cartridge, remove it from the tool and dispose of it in a safe place. Follow your local regulations relating to disposal of battery.
- Use the batteries only with the products specified by Makita. Installing the batteries to non-compliant products may result in a fire, excessive heat, explosion, or leak of electrolyte.
- If the tool is not used for a long period of time, the battery must be removed from the tool.
- During and after use, the battery cartridge may take on heat which can cause burns or low temperature burns. Pay attention to the handling of hot battery cartridges.
- Do not touch the terminal of the tool immediately after use as it may get hot enough to cause burns.
- Do not allow chips, dust, or soil stuck into the terminals, holes, and grooves of the battery cartridge. It may cause heating, catching fire, burst and malfunction of the tool or battery cartridge, resulting in burns or personal injury.
- Unless the tool supports the use near high-voltage electrical power lines, do not use the battery cartridge near high-voltage electrical power lines. It may result in a malfunction or breakdown of the tool or battery cartridge.
- Keep the battery away from children.
SAVE THESE INSTRUCTIONS.
CAUTION: Only use genuine Makita batteries. Use of non-genuine Makita batteries, or batteries that have been altered, may result in the battery bursting causing fires, personal injury and damage. It will also void the Makita warranty for the Makita tool and charger.
Tips for maintaining maximum battery life
- Charge the battery cartridge before completely discharged. Always stop tool operation and charge the battery cartridge when you notice less tool power.
- Never recharge a fully charged battery cartridge. Overcharging shortens the battery service life.
- Charge the battery cartridge with room temperature at 10 °C – 40 °C (50 °F – 104 °F). Let a hot battery cartridge cool down before charging it.
- When not using the battery cartridge, remove it from the tool or the charger.
PARTS DESCRIPTION

| 1 | Shear blade | 2 | Indicator lamp |
| 3 | Angle adjustment button | 4 | Main power button |
| 5 | Battery cartridge | 6 | Switch trigger |
FUNCTIONAL DESCRIPTION
CAUTION: Always be sure that the tool is switched off and the battery cartridge is removed before adjusting or checking function on the tool
Installing or removing battery cartridge
CAUTION: Always switch off the tool before installing or removing of the battery cartridge.
CAUTION: Hold the tool and the battery cartridge firmly when installing or removing battery cartridge. Failure to hold the tool and the battery cartridge firmly may cause them to slip off your hands and result in damage to the tool and battery cartridge and a personal injury.

- 1. Red indicator 2. Button 3. Battery cartridge
To remove the battery cartridge, slide it from the tool while sliding the button on the front of the cartridge.
To install the battery cartridge, align the tongue on the battery cartridge with the groove in the housing and slip it into place. Insert it all the way until it locks in place with a little click. If you can see the red indicator as shown in the figure, it is not locked completely
CAUTION: Always install the battery cartridge fully until the red indicator cannot be seen. If not, it may accidentally fall out of the tool, causing injury to you or someone around you.
CAUTION: Do not install the battery cartridge forcibly. If the cartridge does not slide in easily, it is not being inserted correctly
Indicating the remaining battery capacity
Only for battery cartridges with the indicator

- 1. Indicator lamps 2. Check button
Press the check button on the battery cartridge to indicate the remaining battery capacity. The indicator lamps light up for a few seconds.
| Indicator lamps | Remaining capacity | |
![]() | ![]() | |
![]() | 75% to 100% | |
![]() | 50% to 75% | |
![]() | 25% to 50% | |
![]() | 0% to 25% | |
NOTE: Depending on the conditions of use and the ambient temperature, the indication may differ slightly from the actual capacity.
Tool / battery protection system
The tool is equipped with a tool/battery protection system. This system automatically cuts off power to the motor to extend tool and battery life. The tool will automatically stop during operation if the tool or battery is placed under one of the following conditions:
Overloaded:
The tool is operated in a manner that causes it to draw an abnormally high current. In this situation, turn the tool off and stop the application that caused the tool to become overloaded. Then turn the tool on to restart. If the tool does not start, the battery is overheated. In this situation, let the battery cool before turning the tool on again.
Low battery voltage:
The remaining battery capacity is too low and the tool will not operate. If you turn the tool on, the motor runs again but stops soon. In this situation, remove and recharge the battery.
Indicator lamps

- 1. Indicator lamp (green) 2. Indicator lamp (red)
The meaning of indicator lamps is as follows: (On:
Off:
Blinking:
)
| Green | Red |
|
|
- Green lamp lights up: the tool is turned on and ready to
Green Red 

- Green lamp lights up: the tool is turned on and ready to operate.
Green Red 

- Green lamp is blinking: the tool is turned on and in the standby mode. To return to the normal mode, pull the switch trigger twice.
Green Red 

- Red lamp is blinking: the remaining battery capacity is low.
Green Red 

- Green lamp and red lamp light up: the tool or battery is overheated, or the tool is overloaded, or the battery runs out.
Green Red 

- Red lamp lights up: An abnormality has occurred. Turn off the tool, and then back on. If the abnormality persists, ask your local authorized service center for repair.
WARNING: Always turn off the tool when not in use.
To turn on the tool, press and hold the main power button. The tool starts up in the standby mode and the green indicator lamp blinks in green. To turn off the tool, pull and hold the switch trigger more than 3 seconds to close the shear blades, then release the switch trigger, and then press the main power button.

- 1. Main power button 2. Switch trigger
NOTE: This tool shifts to the standby mode when the switch trigger is not pulled for a certain period after the tool is turned on. When the green indicator lamp is blinking, pull the switch trigger twice to return to the normal mode.
NOTE: This tool employs the auto power-off function. To avoid unintentional start up, the tool automatically shuts down when the switch trigger is not pulled for a certain period after the tool is turned on.
Switch action
CAUTION: Before installing the battery cartridge into the tool, always check to see that the switch trigger actuates properly and returns to the “OFF” position when released.
Turn on the tool, and pull the switch trigger twice to open the upper shear blade. The green indicator lamp lights up in green. When you pull the switch trigger, the upper shear blade closes, and when you release the switch trigger, the upper shear blade opens.
Switching the shear blade angle
The opening angle of the shear blades can be set in two levels. You can switch the opening angle between fully open and half-open according to the branches to be cut.

- 1. Fully open 2. Half-open
To switch the opening angle, follow the steps below.
- Turn on the tool and pull the switch trigger twice to open the shear blades.
- While pulling the switch trigger fully, press and hold the angle adjustment button until the green indicator lamp blinks twice.
Cutting depth adjustment
After grinding or replacing the shear blade, adjust the cutting depth. To adjust the cutting depth, follow the steps below.
- Turn on the tool and pull the switch trigger twice to open the shear blades.
- While pulling the switch trigger fully, press and hold the angle adjustment button for a few seconds until the green indicator lamp blinks fast.
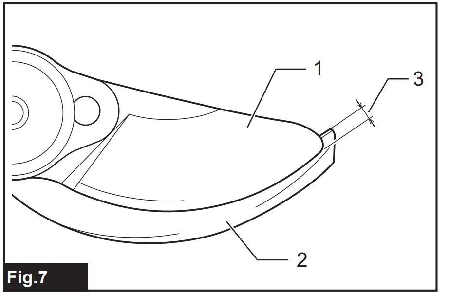
- Adjust the cutting depth by pulling the switch trigger repeatedly so that the overlap of the tips of the upper and lower shear blades is 1 to 3 mm.

► (1) Upper shear blade (2) Lower shear blade (3) 1 – 3 mm
NOTE: The upper blade returns to the shallowest position when you pull the switch trigger after the upper blade reaches the deepest position.
NOTE: If the tool is overloaded while adjusting the cutting depth adjustment, the green lamp blinks and red lamp lights up. In this case, turn off the tool, then remove the cause of the overload, and then adjust the cutting depth again. - Press and hold the angle adjustment button to complete the adjustment. The green indicator lamp stops blinking, and lights up.
ASSEMBLY
CAUTION: Always be sure that the tool is switched off and the battery cartridge is removed before carrying out any work on the tool.
CAUTION: When replacing the shear blades, always wear gloves so that your hands do not directly contact the blades
Removing or installing the shear blades
- Loosen the bolts with the hex wrench, then slide the cover slightly and remove the bolts and cover, and then turn over the tool.

► 1. Bolt 2. Cover - Loosen the bolt with the hex wrench, and then remove it.

► 1. Bolt
NOTICE: Do not loosen the nut before loosening the bolt. Otherwise, the nut may be damaged. - Loosen the nut with the box wrench, and then remove it.

► 1. Nut - Turn over the tool, and then remove the bolt, blade holder, upper shear blade, and lower shear blade in order.

► 1. Bolt 2. Blade holder 3. Upper shear blade 4. Lower shear blade - Attach the lower shear blade, upper shear blade, blade holder, and bolt to the tool in order.

► 1. Bolt 2. Blade holder 3. Upper shear blade 4. Lower shear blade
NOTICE: When attaching the upper shear blade, make sure that the upper shear blade is placed in the direction shown in the figure. - Turn over the tool, and then attach the nut to the tool and tighten it manually

► 1. Nut
NOTICE: The recommended tightening torque is approximately 0.5 N•m. - Attach the bolt to the tool and tighten it with the hex wrench.

► 1. Bolt - Turn over the tool, then attach the cover to the tool, and then tighten the bolts with the hex wrench.

► 1. Bolt 2. Cover
NOTICE: Tighten the bolts with the hex wrench in the upright position as shown in the figure. Tightening the bolts too much may damage the bolts
► 1. Hex wrench
After installing the shear blades, check the clearance of shear blades by confirming the following points. If the clearance is not proper, adjust it by referring to the section for adjustment for shear blades clearance.
• Check that there is no gap between the upper shear blade and lower shear blade.
• Check that the upper shear blade moves approximately 3 mm toward the lower shear blade.
► 1. Upper shear blade
After installing the shear blades, apply oil to the shear blades by referring to the section for shear blade maintenance.
After installing the shear blades, adjust the cutting depth by referring to the section for cutting depth adjustment.
OPERATION
AUTION: Always hold the tool firmly. And keep firm footing.
CAUTION: Do not put any of your body parts near the shear blades during operation.
CAUTION: Before use, inspect if the shear blades, blade bolts or other parts are not worn or damaged. Replace worn or damaged parts for safe operation
NOTICE: If the shear blades are stuck in a branch during operation, do not twist the tool. Release the switch trigger and turn off the tool, and then pull the shear blades straight out slowly from the branch. Otherwise the shear blades may be damaged.
NOTICE: In case you cut too thick branch or something too hard, the overload protection works and the tool stops. In this case, release the switch trigger and turn off the tool, and then pull the shear blades straight out slowly from the branch.
Using the holster
Pass the belt through the opening of the holster as shown in the figure, and then put on the holster.

Insert the tool into the holster. You can fix the tool with the strap. Before inserting the tool into the holster, close the upper shear blade by pulling the switch trigger more than 3 seconds, and turn off the tool.

Pruning operation

Maintain your proper footing and balance at all times and cut branches one by one. The maximum thickness of branches which can be cut with the tool is approximately 25 mm.
MAINTENANCE
CAUTION: Always be sure that the tool is switched off and the battery cartridge is removed before attempting to perform inspection or maintenance.
CAUTION: Wear safety gloves when handling the shear blade. Otherwise it may result in personal injury.
NOTICE: Never use gasoline, benzine, thinner, alcohol or the like. Discoloration, deformation or cracks may result.
To maintain product SAFETY and RELIABILITY, repairs, any other maintenance or adjustment should be performed by Makita Authorized or Factory Service Centers, always using Makita replacement parts.
Shear blade maintenance
NOTICE: Failure to perform blade maintenance may cause excessive blade friction and shorten the operating time per battery charge.
Before the operation or once per hour during operation, apply low-viscosity oil (machine oil, or spray-type lubricating oil) to the shear blades.


Apply oil through the lubrication hole by pressing the hole with the tip of the oil bottle.

► 1. Lubrication hole
After the operation, remove dust from the shear blades with a wired brush, wipe them off with a cloth and then apply low-viscosity oil (machine oil, or spray-type lubricating oil) to the shear blades.

Adjustment for shear blades clearance
NOTICE: Adjust the clearance of shear blades properly. Too loose clearance may result in dull cut, and too tight blade clearance may result in overload for the motor and short running time of the tool.
Adjust the clearance of shear blades as follows:
- Loosen the bolt with the hex wrench, and then remove it.

► 1. Bolt
NOTICE: Do not loosen the nut before loosening the bolt. Otherwise, the nut may be damaged. - Loosen the nut with the box wrench, and then tighten it manually.

► 1. Nut
NOTICE: The recommended tightening torque is approximately 0.5 N•m. - Attach the bolt to the tool and tighten it with the hex wrench.

► 1. Bolt - Check that there is no gap between the upper shear blade and lower shear blade.

Check that the upper shear blade moves approximately 3 mm toward the lower shear blade.
► 1. Upper shear blade
Grinding the shear blades
NOTE: When grinding the shear blades, adding water to the grinding stone will make the grinding smoother. After the grinding, be sure to wipe off the shear blades with a dry cloth.
Turn off the tool and remove the battery cartridge, and remove the shear blades from the tool.
Upper shear blade
- Grind the upper shear blade with the grinding stone as shown in the figure.

- Remove the burrs from the back side of the shear blade by lightly applying the grinding stone to the shear blade.

NOTICE: When sharpening the back side of shear blade, lightly apply the grinding stone, and do not sharpen the shear blade too much. Otherwise, the clearance may become too much, or the life of shear blade may be shortened.
• After installing the shear blades, adjust the clearance of shear blades by referring to the section for adjustment for shear blades clearance.
• After installing the shear blades, apply oil to the shear blades by referring to the section for shear blade maintenance.
• After installing the shear blades, adjust the cutting depth by referring to the section for cutting depth adjustment.
Lower shear blade
- Grind the lower shear blade with the grinding stone in the direction of the arrow as shown in the figure.

- Remove the burrs from the back side of the shear blade by lightly applying the grinding stone to the shear blade.

NOTICE: When sharpening the back side of shear blade, lightly apply the grinding stone, and do not sharpen the shear blade too much. Otherwise, the clearance may become too much, or the life of shear blade may be shortened.
- After installing the shear blades, adjust the clearance of shear blades by referring to the section for adjustment for shear blades clearance.
- After installing the shear blades, apply oil to the shear blades by referring to the section for shear blade maintenance.
- After installing the shear blades, adjust the cutting depth by referring to the section for cutting depth adjustment.
TROUBLESHOOTING
Before asking for repairs, conduct your own inspection first. If you find a problem that is not explained in the manual, do not attempt to dismantle the tool. Instead, ask Makita Authorized Service Centers, always using Makita replacement parts for repairs.
| State of abnormality | Probable cause (malfunction) | Remedy |
| The shear blade does not move even after pulling the switch trigger. | The battery is low. | Charge the battery. |
| The tool is turned off. | Turn on the tool. | |
| Switch trigger defect. | Stop using the tool immediately, and ask your local authorized service center for repair. | |
| The shear blades are stuck on the branch. | The branch is too thick or too hard. | Release the switch trigger and turn off the tool. Then pull the shear blades straight out slowly from the branch. |
| The cut is not smooth. | The shear blades are dull. | Sharpen the shear blades, and adjust the blade clearance, and perform cutting depth adjustment. |
| The shear blades are worn out. | Replace the shear blades. |
OPTIONAL ACCESSORIES
CAUTION: These accessories or attachments are recommended for use with your Makita tool specified in this manual. The use of any other accessories or attachments might present a risk of injury to persons. Only use accessory or attachment for its stated purpose.
If you need any assistance for more details regarding these accessories, ask your local Makita Service Center.
- Upper shear blade
- Lower shear blade
- Grinding stone
- Makita genuine battery and charger
NOTE: Some items in the list may be included in the tool package as standard accessories. They may differ from country to country
CUSTOMER SUPPORT
Makita Corporation
3-11-8, Sumiyoshi-cho,
Anjo, Aichi 446-8502 Japan
www.makita.com





















































