
Cordless Pruning Saw INSTRUCTION MANUAL
DUC101

























(Original instructions)
SPECIFICATIONS
| Model: | DUC101 | |
| Overall length (without guide bar and battery) | 357 mm | |
| Rated voltage | D.C. 18 V | |
| Net weight | *1 | 1.1 kg |
| *2 | 1.6 – 2.0 kg | |
| Standard guide bar length | 100 mm | |
| Recommended guide bar length | 100 mm | |
| Applicable saw chain type (refer to the table below) | 80TXL | |
| Sprocket | Number of teeth | 7 |
| Pitch | 0.325″ | |
| Chain speed | 0 – 8.0 m/s | |
| Chain oil tank volume | 55 cm³ | |
- Due to our continuing program of research and development, the specifications herein are subject to change without notice.
- Specifications may differ from country to country.
*1: Weight, without the saw chain, guide bar, guide bar cover, oil and battery cartridge(s).
*2: The lightest and heaviest combination of weight, according to EPTA-Procedure 01/2014. The weight may differ depending on the attachment(s), including the battery cartridge(s).
Saw chain, guide bar, and sprocket combination
| Saw chain type | 80TXL | |
| Number of drive links | 26 | |
| Guide bar | Guide bar length | 100 mm |
| Cutting length | 111 mm | |
| Pitch | 0.325″ | |
| Gauge | 1.1 mm | |
| Type | Hard nose bar | |
| Sprocket | Number of teeth | 7 |
| Pitch | 0.325″ | |
WARNING: Use appropriate combination of the guide bar and saw chain. Otherwise personal injury may result.
Applicable battery cartridge and charger
| Battery cartridge | BL1815N / BL1820B / BL1830B / BL1840B / BL1850B / BL1860B |
| Charger | DC18RC / DC18RD / DC18RE / DC18SD / DC18SE / DC18SF / DC18SH / DC18WC |
- Some of the battery cartridges and chargers listed above may not be available depending on your region of residence.
WARNING: Only use the battery cartridges and chargers listed above. Use of any other battery cartridges and chargers may cause injury and/or fire.
Recommended cord connected power source
| Portable power pack | PDC01 |
- The cord connected power source(s) listed above may not be available depending on your region of residence.
- Before using the cord connected power source, read instruction and cautionary markings on them.
Symbols
The followings show the symbols which may be used for the equipment. Be sure that you understand their meaning before use.
![]() | Read instruction manual. |
![]() | Wear safety glasses and ear protection. |
![]() | Always use two hands when operating the tool. |
![]() | Beware of kickback and avoid contact with bar tip. |
![]() | Do not expose to moisture. |
| Maximum permissible cut length | |
| Direction of chain travel | |
Ni-MHLi-ion | Only for EU countries Due to the presence of hazardous components in the equipment, waste electrical and electronic equipment, accumulators and batteries may have a negative impact on the environment and human health. Do not dispose of electrical and electronic appliances or batteries with household waste! In accordance with the European Directive on waste electrical and electronic equipment and on accumulators and batteries and waste accumulators and batteries, as well as their adaptation to national law, waste electrical equipment, batteries and accumulators should be stored separately and delivered to a separate collection point for municipal waste, operating in accordance with the regulations on environmental protection. This is indicated by the symbol of the crossed-out wheeled bin placed on the equipment. |
![]() | Guaranteed sound power level according to EU Outdoor Noise Directive. |
![]() | Sound power level according to Australia NSW Noise Control Regulation. |
Intended use
This tool is intended for cutting branches of trees or bushes by means of a saw-chain.
SAFETY WARNINGS
General power tool safety warnings
WARNING: Read all safety warnings, instructions, illustrations and specifications provided with this power tool. Failure to follow all instructions listed below may result in electric shock, fire and/or serious injury.
Save all warnings and instructions for future reference.
The term “power tool” in the warnings refers to your mains-operated (corded) power tool or battery-operated (cordless) power tool.
Work area safety
- Keep work area clean and well lit. Cluttered or dark areas invite accidents.
- Do not operate power tools in explosive atmospheres, such as in the presence of flammable liquids, gases or dust. Power tools create sparks which may ignite the dust or fumes.
- Keep children and bystanders away while operating a power tool. Distractions can cause you to lose control.
Electrical safety
- Power tool plugs must match the outlet. Never modify the plug in any way. Do not use any adapter plugs with earthed (grounded) power tools. Unmodified plugs and matching outlets will reduce risk of electric shock.
- Avoid body contact with earthed or grounded surfaces, such as pipes, radiators, ranges and refrigerators. There is an increased risk of electric shock if your body is earthed or grounded.
- Do not expose power tools to rain or wet conditions. Water entering a power tool will increase the risk of electric shock.
- Do not abuse the cord. Never use the cord for carrying, pulling or unplugging the power tool. Keep cord away from heat, oil, sharp edges or moving parts. Damaged or entangled cords increase the risk of electric shock.
- When operating a power tool outdoors, use an extension cord suitable for outdoor use. Use of a cord suitable for outdoor use reduces the risk of electric shock.
- If operating a power tool in a damp location is unavoidable, use a residual current device (RCD) protected supply. Use of an RCD reduces the risk of electric shock.
- Power tools can produce electromagnetic fields (EMF) that are not harmful to the user. However, users of pacemakers and other similar medical devices should contact the maker of their device and/or doctor for advice before operating this power tool.
Personal safety
- Stay alert, watch what you are doing and use common sense when operating a power tool. Do not use a power tool while you are tired or under the influence of drugs, alcohol or medication. A moment of inattention while operating power tools may result in serious personal injury.
- Use personal protective equipment. Always wear eye protection. Protective equipment such as a dust mask, non-skid safety shoes, hard hat or hearing protection used for appropriate conditions will reduce personal injuries.
- Prevent unintentional starting. Ensure the switch is in the off-position before connecting to power source and/or battery pack, picking up or carrying the tool. Carrying power tools with your finger on the switch or energising power tools that have the switch on invites accidents.
- Remove any adjusting key or wrench before turning the power tool on. A wrench or a key left attached to a rotating part of the power tool may result in personal injury.
- Do not overreach. Keep proper footing and balance at all times. This enables better control of the power tool in unexpected situations.
- Dress properly. Do not wear loose clothing or jewellery. Keep your hair and clothing away from moving parts. Loose clothes, jewellery or long hair can be caught in moving parts.
- If devices are provided for the connection of dust extraction and collection facilities, ensure these are connected and properly used. Use of dust collection can reduce dust-related hazards.
- Do not let familiarity gained from frequent use of tools allow you to become complacent and ignore tool safety principles. A careless action can cause severe injury within a fraction of a second.
- Always wear protective goggles to protect your eyes from injury when using power tools. The goggles must comply with ANSI Z87.1 in the USA, EN 166 in Europe, or AS/NZS 1336 in Australia/New Zealand. In Australia/New Zealand, it is legally required to wear a face shield to protect your face, too.

It is an employer’s responsibility to enforce the use of appropriate safety protective equipments by the tool operators and by other persons in the immediate working area.
Power tool use and care
- Do not force the power tool. Use the correct power tool for your application. The correct power tool will do the job better and safer at the rate for which it was designed.
- Do not use the power tool if the switch does not turn it on and off. Any power tool that cannot be controlled with the switch is dangerous and must be repaired.
- Disconnect the plug from the power source and/or remove the battery pack, if detachable, from the power tool before making any adjustments, changing accessories, or storing power tools. Such preventive safety measures reduce the risk of starting the power tool accidentally.
- Store idle power tools out of the reach of children and do not allow persons unfamiliar with the power tool or these instructions to operate the power tool. Power tools are dangerous in the hands of untrained users.
- Maintain power tools and accessories. Check for misalignment or binding of moving parts, breakage of parts and any other condition that may affect the power tool’s operation. If damaged, have the power tool repaired before use. Many accidents are caused by poorly maintained power tools.
- Keep cutting tools sharp and clean. Properly maintained cutting tools with sharp cutting edges are less likely to bind and are easier to control.
- Use the power tool, accessories and tool bits etc. in accordance with these instructions, taking into account the working conditions and the work to be performed. Use of the power tool for operations different from those intended could result in a hazardous situation.
- Keep handles and grasping surfaces dry, clean and free from oil and grease. Slippery handles and grasping surfaces do not allow for safe handling and control of the tool in unexpected situations.
- When using the tool, do not wear cloth work gloves which may be entangled. The entanglement of cloth work gloves in the moving parts may result in personal injury.
Battery tool use and care
- Recharge only with the charger specified by the manufacturer. A charger that is suitable for one type of battery pack may create a risk of fire when used with another battery pack.
- Use power tools only with specifically designated battery packs. Use of any other battery packs may create a risk of injury and fire.
- When battery pack is not in use, keep it away from other metal objects, like paper clips, coins, keys, nails, screws or other small metal objects, that can make a connection from one terminal to another. Shorting the battery terminals together may cause burns or a fire.
- Under abusive conditions, liquid may be ejected from the battery; avoid contact. If contact accidentally occurs, flush with water. If liquid contacts eyes, additionally seek medical help. Liquid ejected from the battery may cause irritation or burns.
- Do not use a battery pack or tool that is damaged or modified. Damaged or modified batteries may exhibit unpredictable behaviour resulting in fire, explosion or risk of injury.
- Do not expose a battery pack or tool to fire or excessive temperature. Exposure to fire or temperature above 130 °C may cause explosion.
- Follow all charging instructions and do not charge the battery pack or tool outside the temperature range specified in the instructions. Charging improperly or at temperatures outside the specified range may damage the battery and increase the risk of fire.
Service
- Have your power tool serviced by a qualified repair person using only identical replacement parts. This will ensure that the safety of the power tool is maintained.
- Never service damaged battery packs. Service of battery packs should only be performed by the manufacturer or authorized service providers.
- Follow instruction for lubricating and changing accessories.
General pruner saw safety warnings
- Keep all parts of the body away from the saw chain when the pruner saw is operating. Before you start the pruner saw, make sure the saw chain is not contacting anything. A moment of inattention while operating pruner saws may cause entanglement of your clothing or body with the saw chain.
- Always hold the pruner saw with one hand on the rear handle and the other hand on the front handle.
- Hold the pruner saw by insulated gripping surfaces only, because the saw chain may contact hidden wiring. Saw chains contacting a “live” wire may make exposed metal parts of the pruner saw “live” and could give the operator an electric shock.
- Wear eye protection. Further protective equipment for hearing, head, hands, legs and feet is recommended. Adequate protective equipment will reduce personal injury from flying debris or accidental contact with the saw chain.
- Do not operate a pruner saw in a tree, on a ladder, from a rooftop, or any unstable support. Operation of a pruner saw in this manner could result in serious personal injury.
- Always keep proper footing and operate the pruner saw only when standing on fixed, secure and level surface. Slippery or unstable surfaces may cause a loss of balance or control of the pruner saw.
- When cutting a branch that is under tension, be alert for spring back. When the tension in the wood fibres is released, the spring loaded branch may strike the operator and/or throw the pruner saw out of control.
- Use extreme caution when cutting brush and saplings. The slender material may catch the saw chain and be whipped toward you or pull you off balance.
- Carry the pruner saw with the pruner saw switched off and away from your body. When transporting or storing the pruner saw, always fit the guide bar cover. Proper handling of the pruner saw will reduce the likelihood of accidental contact with the moving saw chain.
- Follow instructions for lubricating, chain tensioning and changing the bar and chain. Improperly tensioned or lubricated chain may either break or increase the chance for kickback.
- Cut wood only. Do not use pruner saw for purposes not intended. For example: do not use pruner saw for cutting metal, plastic, masonry or non-wood building materials. Use of the pruner saw for operations different than intended could result in a hazardous situation.
- This pruner saw is not intended for tree felling. Use of the pruner saw for operations different than intended could result in serious injury to the operator or bystanders.
- Causes and operator prevention of kickback: Kickback may occur when the nose or tip of the guide bar touches an object, or when the wood closes in and pinches the saw chain in the cut.
Tip contact in some cases may cause a sudden reverse reaction, kicking the guide bar up and back towards the operator.
Pinching the saw chain along the top of the guide bar may push the guide bar rapidly back towards the operator.
Either of these reactions may cause you to lose control of the saw which could result in serious personal injury. Do not rely exclusively upon the safety devices built into your saw. As a pruner saw user, you should take several steps to keep your cutting jobs free from accident or injury.
Kickback is the result of pruner saw misuse and/or incorrect operating procedures or conditions and can be avoided by taking proper precautions as given below:
• Maintain a firm grip, with thumbs and fingers encircling the pruner saw handles, with both hands on the saw and position your body and arm to allow you to resist kickback forces. Kickback forces can be controlled by the operator, if proper precautions are taken. Do not let go of the pruner saw.
► Fig.1
• Do not overreach and do not cut above shoulder height. This helps prevent unintended tip contact and enables better control of the pruner saw in unexpected situations.
• Only use replacement guide bars and saw chains specified by the manufacturer. Incorrect replacement guide bars and saw chains may cause chain breakage and/or kickback.
• Follow the manufacturer’s sharpening and maintenance instructions for the saw chain. Decreasing the depth gauge height can lead to increased kickback. - Follow all instructions when clearing jammed material, storing or servicing the pruner saw. Make sure the switch is off and the battery pack is removed.
Additional Safety Instructions
Personal protective equipment
- Clothing must be close-fitting, but must not obstruct mobility.
- Wear the following protective clothing during work:
• A tested safety helmet, if a hazard is presented by falling branches or similar;
• A face mask or goggles;
• Suitable ear protection (ear muffs, custom or mouldable ear plugs). Octave brand analysis upon request.
• Firm leather safety gloves;
• Long trousers manufactured from strong fabric;
• Protective dungarees of cut-resistant fabric;
• Safety shoes or boots with non-slip soles, steel toes, and cut-resistant fabric lining;
• A breathing mask, when carrying out work which produces dust (e.g. sawing dry wood).
Operation
- Before starting work, check that the tool is in proper working order and that its condition complies with the safety regulations. Check in particular that:
• The run-down brake is working properly;
• The bar and the sprocket cover are fitted correctly;
• The chain has been sharpened and tensioned in accordance with the regulations. - Do not start the tool with the chain cover being installed on it. Starting the tool with the chain cover being installed on it may cause the chain cover to thrown out forward resulting in personal injury and damage to objects around the operator.
- Do not stand directly under the branch that is being cut. Pay attention to the falling branches.
- Do not operate the tool in bad weather or if there is a risk of lightning.
- When you use the tool on muddy ground, wet slope, or slippery place, pay attention to your footing.
Electrical and battery safety
- Avoid dangerous environment. Don’t use the tool in dump or wet locations or expose it to rain. Water entering the tool will increase the risk of electric shock.
- Do not dispose of the battery(ies) in a fire.
The cell may explode. Check with local codes for possible special disposal instructions. - Do not open or mutilate the battery(ies).
Released electrolyte is corrosive and may cause damage to the eyes or skin. It may be toxic if swallowed. - Do not charge battery in rain, or in wet locations.
- Do not charge the battery outdoors.
- Do not handle charger, including charger plug, and charger terminals with wet hands.
- Do not replace the battery with wet hands.
- Do not leave the battery in the rain, nor charge, use, or store the battery in a damp or wet place.
- Do not wet the terminal of battery with liquid such as water, or submerge the battery. If the terminal gets wet or liquid enters inside of battery, the battery may be short circuited and there is a risk of overheat, fire, or explosion.
- After removing the battery from the machine or charger, be sure to attach the battery cover to the battery and store it in a dry place.
- If the battery cartridge gets wet, drain the water inside and then wipe it with a dry cloth. Dry the battery cartridge completely in a dry place before use.
SAVE THESE INSTRUCTIONS.
WARNING: DO NOT let comfort or familiarity with product (gained from repeated use) replace strict adherence to safety rules for the subject product. MISUSE or failure to follow the safety rules stated in this instruction manual may cause serious personal injury.
Important safety instructions for battery cartridge
- Before using battery cartridge, read all instructions and cautionary markings on (1) battery charger, (2) battery, and (3) product using battery.
- Do not disassemble or tamper with the battery cartridge. It may result in a fire, excessive heat, or explosion.
- If operating time has become excessively shorter, stop operating immediately. It may result in a risk of overheating, possible burns and even an explosion.
- If electrolyte gets into your eyes, rinse them out with clear water and seek medical attention right away. It may result in loss of your eyesight.
- Do not short the battery cartridge:
(1) Do not touch the terminals with any conductive material.
(2) Avoid storing battery cartridge in a container with other metal objects such as nails, coins, etc.
(3) Do not expose battery cartridge to water or rain.
A battery short can cause a large current flow, overheating, possible burns and even a breakdown. - Do not store and use the tool and battery cartridge in locations where the temperature may reach or exceed 50 °C (122 °F).
- Do not incinerate the battery cartridge even if it is severely damaged or is completely worn out. The battery cartridge can explode in a fire.
- Do not nail, cut, crush, throw, drop the battery cartridge, or hit against a hard object to the battery cartridge. Such conduct may result in a fire, excessive heat, or explosion.
- Do not use a damaged battery.
- The contained lithium-ion batteries are subject to the Dangerous Goods Legislation requirements.
For commercial transports e.g. by third parties, forwarding agents, special requirement on packaging and labeling must be observed.
For preparation of the item being shipped, consulting an expert for hazardous material is required.
Please also observe possibly more detailed national regulations.
Tape or mask off open contacts and pack up the battery in such a manner that it cannot move around in the packaging. - When disposing the battery cartridge, remove it from the tool and dispose of it in a safe place. Follow your local regulations relating to disposal of battery.
- Use the batteries only with the products specified by Makita. Installing the batteries to non-compliant products may result in a fire, excessive heat, explosion, or leak of electrolyte.
- If the tool is not used for a long period of time, the battery must be removed from the tool.
- During and after use, the battery cartridge may take on heat which can cause burns or low temperature burns. Pay attention to the handling of hot battery cartridges.
- Do not touch the terminal of the tool immediately after use as it may get hot enough to cause burns.
- Do not allow chips, dust, or soil stuck into the terminals, holes, and grooves of the battery cartridge. It may cause heating, catching fire, burst and malfunction of the tool or battery cartridge, resulting in burns or personal injury.
- Unless the tool supports the use near high-voltage electrical power lines, do not use the battery cartridge near high-voltage electrical power lines. It may result in a malfunction or breakdown of the tool or battery cartridge.
- Keep the battery away from children.
SAVE THESE INSTRUCTIONS.
CAUTION: Only use genuine Makita batteries. Use of non-genuine Makita batteries, or batteries that have been altered, may result in the battery bursting causing fires, personal injury and damage. It will also void the Makita warranty for the Makita tool and charger.
Tips for maintaining maximum battery life
- Charge the battery cartridge before completely discharged. Always stop tool operation and charge the battery cartridge when you notice less tool power.
- Never recharge a fully charged battery cartridge. Overcharging shortens the battery service life.
- Charge the battery cartridge with room temperature at 10 °C – 40 °C (50 °F – 104 °F). Let a hot battery cartridge cool down before charging it.
- When not using the battery cartridge, remove it from the tool or the charger.
- Charge the battery cartridge if you do not use it for a long period (more than six months).
PARTS DESCRIPTION
► Fig.2
1 | Front handle | 2 | Safety cover | 3 | Saw chain |
4 | Guide bar | 5 | Oil tank cap | 6 | Guide bar cover |
7 | Sprocket cover | 8 | Lock-off lever | 9 | Rear handle |
10 | Switch trigger | 11 | Lever | 12 | Battery cartridge |
FUNCTIONAL DESCRIPTION
CAUTION: Always be sure that the tool is switched off and the battery cartridge is removed before adjusting or checking function on the tool.
Installing or removing battery cartridge
CAUTION: Always switch off the tool before installing or removing of the battery cartridge.
CAUTION: Hold the tool and the battery cartridge firmly when installing or removing battery cartridge. Failure to hold the tool and the battery cartridge firmly may cause them to slip off your hands and result in damage to the tool and battery cartridge and a personal injury.
► Fig.3: 1. Red indicator 2. Button 3. Battery cartridge
To remove the battery cartridge, slide it from the tool while sliding the button on the front of the cartridge.
To install the battery cartridge, align the tongue on the battery cartridge with the groove in the housing and slip it into place. Insert it all the way until it locks in place with a little click. If you can see the red indicator as shown in the figure, it is not locked completely.
CAUTION: Always install the battery cartridge fully until the red indicator cannot be seen. If not, it may accidentally fall out of the tool, causing injury to you or someone around you.
CAUTION: Do not install the battery cartridge forcibly. If the cartridge does not slide in easily, it is not being inserted correctly.
Indicating the remaining battery capacity
Only for battery cartridges with the indicator
► Fig.4: 1. Indicator lamps 2. Check button
Press the check button on the battery cartridge to indicate the remaining battery capacity. The indicator lamps light up for a few seconds.
Indicator lamps | Remaining capacity | ||
Lighted | Off |
Blinking | |
| 75% to 100% | ||
50% to 75% | |||
| 25% to 50% | ||
0% to 25% | |||
| Charge the battery. | ||
↑↓
| The battery may have malfunctioned. | ||
NOTE: Depending on the conditions of use and the ambient temperature, the indication may differ slightly from the actual capacity.
NOTE: The first (far left) indicator lamp will blink when the battery protection system works.
Tool / battery protection system
The tool is equipped with a tool/battery protection system. This system automatically cuts off power to the motor to extend tool and battery life. The tool will automatically stop during operation if the tool or battery is placed under one of the following conditions:
Overload protection
When the tool or battery is operated in a manner that causes it to draw an abnormally high current, the tool automatically stops. In this situation, turn the tool off and stop the application that caused the tool to become overloaded. Then turn the tool on to restart.
Overheat protection
When the tool or battery is overheated, the tool stops automatically. In this case, let the tool and battery cool before turning the tool on again.
Overdischarge protection
When the battery capacity is not enough, the tool stops automatically. In this case, remove the battery from the tool and charge the battery.
Switch action
WARNING: For your safety, this tool is equipped with lock-off lever which prevents the tool from unintended starting. NEVER use the tool if it runs when you simply pull the switch trigger without pressing the lock-off lever. Return the tool to our authorized service center for proper repairs BEFORE further usage.
WARNING: NEVER tape down or defeat purpose and function of lock-off lever.
CAUTION: Before installing the battery cartridge into the tool, always check to see that the switch trigger actuates properly and returns to the “OFF” position when released.
NOTICE: Do not pull the switch trigger hard without pressing the lock-off lever. This can cause switch breakage.
To prevent the switch trigger from being accidentally pulled, a lock-off lever is provided. To start the tool, depress the lock-off lever and pull the switch trigger. Release the switch trigger to stop.
► Fig.5: 1. Switch trigger 2. Lock-off lever
Checking the run-down brake
CAUTION: If the saw chain does not stop within a few seconds in this test, stop using the tool and consult our authorized service center.
Run the tool, and then release the switch trigger completely. The saw chain must come to a standstill within a few seconds.
ASSEMBLY
CAUTION: Always be sure that the tool is switched off and the battery cartridge is removed before carrying out any work on the tool.
CAUTION: Do not touch the saw chain with bare hands. Always wear gloves when handling the saw chain.
Removing or installing saw chain
CAUTION: The saw chain and the guide bar are still hot just after the operation. Let them cool down enough before carrying out any work on the tool.
CAUTION: Carry out the procedure of installing or removing saw chain in a clean place free from sawdust and the like.
Removing the saw chain
To remove the saw chain, perform the following steps:
1. Pull the lever up.
► Fig.6: 1. Lever
2. Turn the lever counterclockwise until the sprocket cover comes off.
► Fig.7: 1. Sprocket cover 2. Lever
3. Remove the sprocket cover then remove the saw chain and guide bar from the tool body.
Installing the saw chain
To install the saw chain, perform the following steps:
1. Pull the lever up.
► Fig.8: 1. Lever
2. Turn the lever counterclockwise until the sprocket cover comes off.
► Fig.9: 1. Lever 2. Sprocket cover
3. Remove the sprocket cover.
4. Align the hole on the guide bar with the pin on the tool body, and then place the guide bar as shown in the figure.
► Fig.10: 1. Guide bar 2. Hole 3. Pin
5. Slide the guide bar toward the sprocket to lock the pin.
► Fig.11: 1. Guide bar 2. Pin
6. Remove the guide bar from the tool body.
7. Check the direction of the saw chain. Match the direction of the saw chain with that of the mark on the tool body.
► Fig.12: 1. Mark on tool body
8. Fit one end of the saw chain on the top of the guide bar.
9. Fit the other end of the saw chain around the sprocket, then attach the guide bar to the tool body so that the hole on the guide bar is aligned with the pin on the body.
► Fig.13: 1. Sprocket
Press the guide bar against the tool body to release the pin. The saw chain tension is automatically adjusted.
► Fig.14: 1. Saw chain 2. Pin 3. Sprocket
10. Place the sprocket cover so that the bolt and pin on the tool body meet their counterparts on the sprocket cover.
► Fig.15: 1. Sprocket cover 2. Bolt 3. Pin
11. Turn the lever clockwise until the sprocket cover is secured then return it to the original position.
► Fig.16: 1. Lever 2. Sprocket cover
Make sure that the saw chain does not loose and the saw chain can be moved smoothly back and forth. If necessary, adjust the tension of the saw chain by referring to the section for adjusting saw chain tension.
Adjusting saw chain tension
CAUTION: A chain which is too loose can jump off the bar and it may cause an injury or accident.
The saw chain may become loose after many hours of use. From time to time check the saw chain tension before use.
If the saw chain is loose, adjust the saw chain tension.
1. Pull the lever up.
► Fig.17: 1. Lever
2. Turn the lever counterclockwise a little to loosen the sprocket cover lightly. The chain tension is adjusted automatically.
► Fig.18: 1. Sprocket cover 2. Lever
3. Turn the lever clockwise until the sprocket cover is secured then return it to the original position.
► Fig.19: 1. Lever 2. Sprocket cover
OPERATION
Lubrication
CAUTION: Do not operate the tool when the tank is empty. Replenish the oil in due time before the tank is empty.
CAUTION: Prevent the oil from coming into contact with the skin and eyes. Contact with the eyes causes irritation. In the event of eye contact, flush the affected eye immediately with clear water, then consult a doctor at once.
CAUTION: Never use waste oil. Waste oil contains carcinogenic substances. The contaminants in waste oil cause accelerated wear of the oil pump, the bar and the chain. Waste oil is harmful to the environment.
NOTICE: When the tool is used for the first time, it may take up to two minutes for the saw chain oil to begin its lubricating effect upon the saw mechanism. Run the saw without load until it does so.
NOTICE: When filling the chain oil for the first time, or refilling the tank after it has been completely emptied, add oil up to the bottom edge of the filler neck. The oil delivery may otherwise be impaired.
NOTICE: Use the saw chain oil exclusively for Makita tools or equivalent oil available in the market.
NOTICE: Never use oil including dust and particles or volatile oil.
NOTICE: When pruning trees, use botanical oil. Mineral oil may harm trees.
NOTICE: Before the cutting operation, make sure that the provided oil tank cap is screwed in place.
Saw chain is automatically lubricated when the tool is in operation. Check the amount of remaining oil in the oil tank periodically through the oil inspection window.
► Fig.20: 1. Oil inspection window 2. Oil tank cap
To fill the oil, perform the following steps:
1. Clean the area around the oil tank cap thoroughly to prevent any dirt from entering the oil tank.
2. Lay the tool on its side.
3. Push the button on the oil tank cap so that the button on the other side stands up, and then remove the oil tank cap by turning it.
► Fig.21: 1. Oil tank cap 2. Tighten 3. Loosen
4. Fill the oil tank with the oil. The proper amount of oil is 55 ml.
5. Screw the oil tank cap firmly back in place.
6. Wipe away any spilt chain oil carefully.
NOTE: If it is difficult to remove the oil tank cap, insert the tip of slotted screwdriver into the slot of the oil tank cap, and then remove the oil tank cap by turning it counterclockwise.
► Fig.22: 1. Slot 2. Slotted screwdriver
After refilling, hold the tool away from the material to be cut. Start it and wait until lubrication on saw chain is adequate.
► Fig.23
Working with the tool
CAUTION: Keep all parts of the body away from the saw chain when the tool is operating.
CAUTION: Hold the tool firmly with both hands when the tool is operating.
CAUTION: Do not overreach. Keep proper footing and balance at all times.
NOTICE: Never toss or drop the tool.
NOTICE: Do not cover the vents of the tool.
Before starting the tool, bring the root of guide bar and the support part of tool body in contact with the branch to be cut as shown in the figure. While contacting the branch with the tool and guide bar, start the tool and saw the branch by moving the tool down along the branch.
► Fig.24
CAUTION: Before the cutting operation, make sure that the branch to be cut is in contact with the root of guide bar and the support part of tool body. Otherwise, the tool may be pulled toward the tip of guide bar and the guide bar may wobble, and may result in an injury.
Carrying tool
Before carrying the tool, always remove the battery cartridge from the tool. Then attach the guide bar cover. Also cover the battery cartridge with the battery cover.
► Fig.25: 1. Guide bar cover 2. Battery cover
MAINTENANCE
CAUTION: Always be sure that the tool is switched off and the battery cartridge is removed before attempting to perform inspection or maintenance.
CAUTION: Always wear gloves when performing any inspection or maintenance.
NOTICE: Never use gasoline, benzine, thinner, alcohol or the like. Discoloration, deformation or cracks may result.
To maintain product SAFETY and RELIABILITY, repairs, any other maintenance or adjustment should be performed by Makita Authorized or Factory Service Centers, always using Makita replacement parts.
Sharpen the saw chain when:
- Mealy sawdust is produced when damp wood is cut;
- The chain penetrates the wood with difficulty, even when heavy pressure is applied;
- The cutting edge is obviously damaged;
- The saw pulls to the left or right in the wood.
(caused by uneven sharpening of the saw chain or damage to one side only)
Sharpen the saw chain frequently but a little each time. Two or three strokes with a file are usually sufficient for routine resharpening. When the saw chain has been resharpened several times, have it sharpened in our authorized service center.
Sharpening criteria:
WARNING: An excessive distance between the cutting edge and depth gauge increases the risk of kickback.
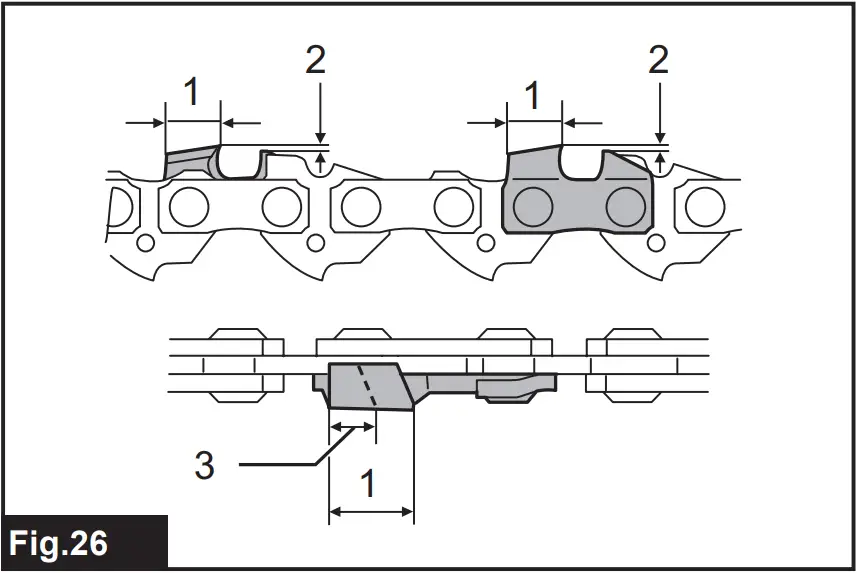
► Fig.26: 1. Cutter length 2. Distance between cutting edge and depth gauge 3. Minimum cutter length (3 mm)
— All cutter length must be equal. Different cutter lengths prevent the saw chain from running smoothly and may cause the saw chain to break.
— Do not sharpen the chain when the cutter length has reached 3 mm or shorter. The chain must be replaced with new one.
— The chip thickness is determined by the distance between the depth gauge (round nose) and the cutting edge.
— The best cutting results are obtained with following distance between cutting edge and depth gauge.
• Chain blade 80TXL : 0.65 mm
► Fig.27
— The sharpening angle of 30° must be the same on all cutters. Different cutter angles cause the chain to run roughly and unevenly, accelerate wear, and lead to chain breaks.
— Use a suitable round file so that the proper sharpening angle is kept against the teeth.
• Chain blade 80TXL : 55°
File and file guiding
— Use a special round file (optional accessory) for saw chains to sharpen the chain. Normal round files are not suitable.
— Diameter of the round file for each saw chain is as follows:
• Chain blade 80TXL : 4.0 mm
— The file should only engage the cutter on the forward stroke. Lift the file off the cutter on the return stroke.
— Sharpen the shortest cutter first. Then the length of this shortest cutter becomes the standard for all other cutters on the saw chain.
— Guide the file as shown in the figure.
► Fig.28: 1. File 2. Saw chain
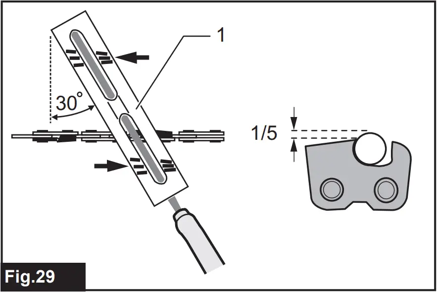
— The file can be guided more easily if a file holder (optional accessory) is employed. The file holder has markings for the correct sharpening angle of 30° (align the markings parallel to the saw chain) and limits the depth of penetration (to 4/5 of the file diameter).
► Fig.29: 1. File holder
— After sharpening the chain, check the height of the depth gauge using the chain gauge tool (optional accessory).
► Fig.30
— Remove any projecting material, however small, with a special flat file (optional accessory).
— Round off the front of the depth gauge again.
Cleaning the guide bar
Chips and sawdust will build up in the guide bar groove. They may clog the bar groove and impair the oil flow. Clean out the chips and sawdust every time when you sharpen or replace the saw chain.
► Fig.31
Cleaning the sprocket cover
Chips and saw dust will accumulate inside of the sprocket cover. Remove the sprocket cover and saw chain from the tool then clean the chips and saw dust.
► Fig.32
Cleaning the oil discharge hole
Small dust or particles may be built up in the oil discharge hole during operation. These dust or particles may impair the oil to flow and cause an insufficient lubrication on the whole saw chain. When a poor chain oil delivery occurs at the top of guide bar, clean the oil discharge hole as follows.
1. Remove the sprocket cover and saw chain from the tool.
2. Remove the small dust or particles using a slotted screwdriver or the like.
► Fig.33: 1. Slotted screwdriver 2. Oil discharge hole
3. Insert the battery cartridge into the tool. Pull the switch trigger to flow built-up dust or particles off the oil discharge hole by discharging chain oil.
4. Remove the battery cartridge from the tool. Reinstall the sprocket cover and saw chain and guide bar on the tool.
Replacing the sprocket
CAUTION: A worn sprocket will damage a new saw chain. Have the sprocket replaced in this case.
Before fitting a new saw chain, check the condition of the sprocket.
► Fig.34: 1. Sprocket 2. Areas to be worn out
Always fit a new locking ring when replacing the sprocket.
► Fig.35: 1. Locking ring 2. Sprocket
NOTICE: Make sure that the sprocket is installed as shown in the figure.
Storing the tool
1. Clean the tool before storing. Remove any chips and sawdust from the tool after removing the sprocket cover.
2. After cleaning the tool, run it under no load to lubricate the saw chain and guide bar.
3. Cover the guide bar with the guide bar cover.
4. Empty the oil tank.
Instructions for periodic maintenance
To ensure long life, prevent damage and ensure the full functioning of the safety features, the following maintenance must be performed regularly. Warranty claims can be recognized only if this work is performed regularly and properly. Failure to perform the prescribed maintenance work can lead to accidents! The user of the tool must not perform maintenance work which is not described in the instruction manual. All such work must be carried out by our authorized service center.
Check item / Operating time | Before operation | Everyday | Every week | Every 3 month | Annually | Before storage | |
| Whole tool | Inspection. |
| – | – | – | – | – |
| Cleaning. | – | – | – | – | – | ||
| Check at authorized service center. | – | – | – | – | |||
| Saw chain | Inspection. |
| – | – | – | – | – |
| Sharpening if necessary. | – | – | – | – | – | ||
| Guide bar | Inspection. |
| – | – | – | – | |
| Remove from the tool. | – | – | – | – | – | ||
| Chain lubrication | Check the oil feed rate. |
| – | – | – | – | – |
| Switch trigger | Inspection. |
| – | – | – | – | – |
| Lock-off lever | Inspection. |
| – | – | – | – | – |
| Oil tank cap | Check tightness. |
| – | – | – | – | – |
| Screws and nuts | Inspection. | – | – | – | – | – | |
TROUBLESHOOTING
Before asking for repairs, conduct your own inspection first. If you find a problem that is not explained in the manual, do not attempt to dismantle the tool. Instead, ask Makita Authorized Service Centers, always using Makita replacement parts for repairs.
Malfunction status | Cause | Action |
| The tool does not start. | Battery cartridge is not installed. | Install a charged battery cartridge. |
| Battery problem (low voltage). | Recharge the battery cartridge. If recharging is not effective, replace the battery cartridge. | |
| The motor stops running after a little use. | Battery’s charge level is low. | Recharge the battery cartridge. If recharging is not effective, replace the battery cartridge. |
| No oil on the chain. | Oil tank is empty. | Fill the oil tank. |
| Oil guide groove is dirty. | Clean the groove. | |
| The tool does not reach maximum RPM. | Battery cartridge is installed improperly. | Install the battery cartridge as described in this manual. |
| Battery power is dropping. | Recharge the battery cartridge. If recharging is not effective, replace the battery cartridge. | |
| The drive system does not work correctly. | Ask the authorized service center in your region for repair. | |
| Abnormal vibration: Stop the tool immediately! | Loose guide bar or saw chain. | Adjust the guide bar and saw chain tension. |
| Tool malfunction. | Ask the authorized service center in your region for repair. | |
| The saw chain cannot be installed. | The combination of saw chain and sprocket is not correct. | Use the correct combination of saw chain and sprocket by referring to the section for specifications. |
OPTIONAL ACCESSORIES
CAUTION: These accessories or attachments are recommended for use with your Makita tool specified in this manual. The use of any other accessories or attachments might present a risk of injury to persons. Only use accessory or attachment for its stated purpose.
If you need any assistance for more details regarding these accessories, ask your local Makita Service Center.
- Saw chain
- Guide bar
- Guide bar cover
- File
- Tool bag
- Makita genuine battery and charger
NOTE: Some items in the list may be included in the tool package as standard accessories. They may differ from country to country.
Makita Corporation
3-11-8, Sumiyoshi-cho,
Anjo, Aichi 446-8502 Japan
www.makita.com
885999-375
EN, ZHCN, ID, MS,
VI, TH
20220901





Ni-MH




















