makita DUC305 Cordless Chain Saw Instruction Manual
SPECIFICATIONS
| Model: | DUC305 | DUC355 | DUC405 | |
| Overall length (without guide bar) | 443 mm | |||
| Rated voltage | D.C. 36 V | |||
| Net weight | *1 | 3.3 kg | ||
| *2 | 4.6 – 5.5 kg | |||
| Standard guide bar length | 300 mm | 350 mm | 400 mm | |
| Recommended guide bar length | 300 – 400 mm | |||
| Applicable saw chain type (refer to the table below) | 90PX 91PX | |||
| Sprocket | Number of teeth | 6 | ||
| Pitch | 3/8″ | |||
| Chain speed | 0 – 20 m/s (0 – 1,200 m/min) | |||
| Chain oil tank volume | 200 cm3 | |||
- Due to our continuing program of research and development, the specifications herein are subject to change without notice.
- Specifications may differ from country to country.
*1: Weight, without the saw chain, guide bar, guide bar cover, oil and battery cartridge(s).
*2: The lightest and heaviest combination of weight, according to EPTA-Procedure 01/2014. The weight may differ depending on the attachment(s), including the battery cartridge(s).
Saw chain and guide bar
| Saw chain type | 90PX | |||
| Number of drive links | 46 | 52 | 56 | |
| Guide bar | Guide bar length | 300 mm | 350 mm | 400 mm |
| Cutting length | 275 mm | 330 mm | 370 mm | |
| Pitch | 3/8″ | |||
| Gauge | 1.1 mm | |||
| Type | Sprocket nose bar | |||
| Saw chain type | 91PX | |||
| Number of drive links | 46 | 52 | 56 | |
| Guide bar | Guide bar length | 300 mm | 350 mm | 400 mm |
| Cutting length | 275 mm | 330 mm | 370 mm | |
| Pitch | 3/8″ | |||
| Gauge | 1.3 mm | |||
| Type | Sprocket nose bar | |||
WARNING: Use appropriate combination of the guide bar and saw chain. Otherwise personal injury may result.
Applicable battery cartridge and charger
| Battery cartridge | BL1815N / BL1820B / BL1830B / BL1840B / BL1850B / BL1860B |
| Charger | DC18RC / DC18RD / DC18RE / DC18SD / DC18SE / DC18SF / DC18SH |
- Some of the battery cartridges and chargers listed above may not be available depending on your region of residence.
WARNING: Only use the battery cartridges and chargers listed above. Use of any other battery cartridges and chargers may cause injury and/or fire.
Recommended cord connected power source
| Battery adapter | BAP182 |
| Cord connected battery pack | BL36120A |
| Portable power pack | PDC01 / PDC1200 |
- The cord connected power source(s) listed above may not be available depending on your region of residence.
- Before using the cord connected power source, read instruction and cautionary markings on them.
Symbols
The followings show the symbols which may be used for the equipment. Be sure that you understand their meaning before use.
![]() | Read instruction manual. |
![]() | Wear safety glasses. |
![]() | Wear ear protection. |
![]() | Wear a helmet, goggles and ear protection. |
![]() | Use appropriate protection for foot-leg and hand-arm. |
| Do not expose to moisture. |
![]() | Maximum permissible cut length |
![]() | Always use two hands when operating the chain saw. |
![]() | Beware of chain saw kickback and avoid contact with bar tip. |
![]() | Direction of chain travel |
![]() | Saw chain oil adjustment |
![]() | Only for EU countries Due to the presence of hazardous components in the equipment, waste electrical and electronic equipment, accumulators and batteries may have a negative impact on the environment and human health. Do not dispose of electrical and electronic appliances or batteries with household waste! In accordance with the European Directive on waste electrical and electronic equipment and on accumulators and batteries and waste accumulators and batteries, as well as their adaptation to national law, waste electrical equipment, batteries and accumulators should be stored separately and delivered to a separate collection point for municipal waste, operating in accordance with the regulations on environmental protection. This is indicated by the symbol of the crossed-out wheeled bin placed on the equipment. |
![]() | Guaranteed sound power level according to EU Outdoor Noise Directive. |
![]() | Sound power level according to Australia NSW Noise Control Regulation. |
Intended use
This chain saw is intended for sawing wood.
Noise
The typical A-weighted noise level determined according to EN62841-4-1:
Model DUC305
Sound pressure level (LpA) : 87.7 dB(A)
Sound power level (LWA) : 100.4 dB (A)
Uncertainty (K) : 2 dB(A)
Model DUC355
Sound pressure level (LpA) : 87.7 dB(A)
Sound power level (LWA) : 100.4 dB (A)
Uncertainty (K) : 2 dB(A)
Model DUC405
Sound pressure level (LpA) : 87.7 dB(A)
Sound power level (LWA) : 100.4 dB (A)
Uncertainty (K) : 2 dB(A)
NOTE: The declared noise emission value(s) has been measured in accordance with a standard test method and may be used for comparing one tool with another.
NOTE: The declared noise emission value(s) may also be used in a preliminary assessment of exposure.
WARNING: Wear ear protection.
WARNING: The noise emission during actual use of the power tool can differ from the declared value(s) depending on the ways in which the tool is used especially what kind of workpiece is processed.
WARNING: Be sure to identify safety measures to protect the operator that are based on an estimation of exposure in the actual conditions of use (taking account of all parts of the operating cycle such as the times when the tool is switched off and when it is running idle in addition to the trigger time).
Vibration
The vibration total value (tri-axial vector sum) determined according to EN62841-4-1:
Model DUC305
Work mode: cutting wood
Vibration emission (ah,W) : 5.3 m/s2
Uncertainty (K) : 1.5 m/s2
Model DUC355
Work mode: cutting wood
Vibration emission (ah,W) : 5.3 m/s2
Uncertainty (K) : 1.5 m/s2
Model DUC405
Work mode: cutting wood
Vibration emission (ah,W) : 5.3 m/s2
Uncertainty (K) : 1.5 m/s2
NOTE: The declared vibration total value(s) has been measured in accordance with a standard test method and may be used for comparing one tool with another.
NOTE: The declared vibration total value(s) may also be used in a preliminary assessment of exposure.
WARNING: The vibration emission during actual use of the power tool can differ from the declared value(s) depending on the ways in which the tool is used especially what kind of workpiece is processed.
WARNING: Be sure to identify safety measures to protect the operator that are based on an estimation of exposure in the actual conditions of use (taking account of all parts of the operating cycle such as the times when the tool is switched off and when it is running idle in addition to the trigger time).
EC Declaration of Conformity
For European countries only
The EC declaration of conformity is included as Annex A to this instruction manual.
SAFETY WARNINGS
General power tool safety warnings
WARNING: Read all safety warnings, instructions, illustrations and specifications provided with this power tool. Failure to follow all instructions listed below may result in electric shock, fire and/or serious injury.
Save all warnings and instructions for future reference.
The term “power tool” in the warnings refers to your mains-operated (corded) power tool or battery-operated (cordless) power tool.
Cordless Chain saw safety warnings
- Keep all parts of the body away from the saw chain when the chain saw is operating. Before you start the chain saw, make sure the saw chain is not contacting anything. A moment of inattention while operating chain saws may cause entanglement of your clothing or body with the saw chain.
- Always hold the chain saw with your right hand on the rear handle and your left hand on the front handle. Holding the chain saw with a reversed hand configuration increases the risk of personal injury and should never be done.
- Hold the chain saw by insulated gripping surfaces only, because the saw chain may contact hidden wiring. Saw chains contacting a “live” wire may make exposed metal parts of the chain saw “live” and could give the operator an electric shock.
- Wear eye protection. Further protective equipment for hearing, head, hands, legs and feet is recommended. Adequate protective equipment will reduce personal injury from flying debris or accidental contact with the saw chain.
- Do not operate a chain saw in a tree, on a ladder, from a rooftop, or any unstable support. Operation of a chain saw in this manner could result in serious personal injury.
- Always keep proper footing and operate the chain saw only when standing on fixed, secure and level surface. Slippery or unstable surfaces may cause a loss of balance or control of the chain saw.
- When cutting a limb that is under tension, be alert for spring back. When the tension in the wood fibres is released, the spring loaded limb may strike the operator and/or throw the chain saw out of control.
- Use extreme caution when cutting brush and saplings. The slender material may catch the saw chain and be whipped toward you or pull you off balance.
- Carry the chain saw by the front handle with the chain saw switched off and away from your body. When transporting or storing the chain saw, always fit the guide bar cover. Proper handling of the chain saw will reduce the likelihood of accidental contact with the moving saw chain.
- Follow instructions for lubricating, chain tensioning and changing the bar and chain.
Improperly tensioned or lubricated chain may either break or increase the chance for kickback. - Cut wood only. Do not use chain saw for purposes not intended. For example: do not use chain saw for cutting metal, plastic, masonry or non-wood building materials. Use of the chain saw for operations different than intended could result in a hazardous situation.
- Do not attempt to fell a tree until you have an understanding of the risks and how to avoid them. Serious injury could occur to the operator or bystanders while felling a tree.
- Causes and operator prevention of kickback: Kickback may occur when the nose or tip of the guide bar touches an object, or when the wood closes in and pinches the saw chain in the cut.
Tip contact in some cases may cause a sudden reverse reaction, kicking the guide bar up and back towards the operator. Pinching the saw chain along the top of the guide bar may push the guide bar rapidly back towards the operator. Either of these reactions may cause you to lose control of the saw which could result in serious personal injury. Do not rely exclusively upon the safety devices built into your saw. As a chain saw user, you should take several steps to keep your cutting jobs free from accident or injury. Kickback is the result of chain saw misuse and/or incorrect operating procedures or conditions and can be avoided by taking proper precautions as given below:- Maintain a firm grip, with thumbs and fingers encircling the chain saw handles, with both hands on the saw and position your body and arm to allow you to resist kickback forces. Kickback forces can be controlled by the operator, if proper precautions are taken. Do not let go of the chain saw.

► Fig.1 - Do not overreach and do not cut above shoulder height. This helps prevent unintended tip contact and enables better control of the chain saw in unexpected situations.
- Only use replacement guide bars and saw chains specified by the manufacturer. Incorrect replacement guide bars and saw chains may cause chain breakage and/or kickback.
- Follow the manufacturer’s sharpening and maintenance instructions for the saw chain. Decreasing the depth gauge height can lead to increased kickback.
- Maintain a firm grip, with thumbs and fingers encircling the chain saw handles, with both hands on the saw and position your body and arm to allow you to resist kickback forces. Kickback forces can be controlled by the operator, if proper precautions are taken. Do not let go of the chain saw.
- Follow all instructions when clearing jammed material, storing or servicing the chain saw. Make sure the switch is off and the battery pack is removed. Unexpected actuation of the chain saw while clearing jammed material or servicing may result in serious personal injury
ADDITIONAL SAFETY RULES
- Before starting work, check that the chain saw is in proper working order and that its condition complies with the safety regulations.
Check in particular that:- The chain brake is working properly;
- The run-down brake is working properly;
- The bar and the sprocket cover are fitted correctly;
- The chain has been sharpened and tensioned in accordance with the regulations.
- Do not start the chain saw with the chain cover being installed on it. Starting the chain saw with the chain cover being installed on it may cause the chain cover to thrown out forward resulting in personal injury and damage to objects around the operator.
- Avoid dangerous environment. Don’t use the tool in damp or wet locations or expose it to rain. Water entering the tool will increase the risk of electric shock.
- Do not dispose of the battery(ies) in a fire. The cell may explode. Check with local codes for possible special disposal instructions.
- Do not open or mutilate the battery(ies).
Released electrolyte is corrosive and may cause damage to the eyes or skin. It may be toxic if swallowed. - Do not charge battery in rain, or in wet locations.
Personal protective equipment
- Clothing must be close-fitting, but must not obstruct mobility.
- Wear the following protective clothing during work:
- A tested safety helmet, if a hazard is presented by falling branches or similar;
- A face mask or goggles;
- Suitable ear protection (ear muffs, custom or mouldable ear plugs). Octave brand analysis upon request.
- Firm leather safety gloves;
- Long trousers manufactured from strong fabric;
- Protective dungarees of cut-resistant fabric;
- Safety shoes or boots with non-slip soles, steel toes, and cut-resistant fabric lining;
- A breathing mask, when carrying out work which produces dust (e.g. sawing dry wood)
SAVE THESE INSTRUCTIONS.
WARNING: DO NOT let comfort or familiarity with product (gained from repeated use) replace strict adherence to safety rules for the subject product. MISUSE or failure to follow the safety rules stated in this instruction manual may cause serious personal injury.
Important safety instructions for battery cartridge
- Before using battery cartridge, read all instructions and cautionary markings on (1) battery charger, (2) battery, and (3) product using battery.
- Do not disassemble or tamper with the battery cartridge. It may result in a fire, excessive heat, or explosion.
- If operating time has become excessively shorter, stop operating immediately. It may result in a risk of overheating, possible burns and even an explosion.
- If electrolyte gets into your eyes, rinse them out with clear water and seek medical attention right away. It may result in loss of your eyesight.
- Do not short the battery cartridge:
- Do not touch the terminals with any conductive material.
- Avoid storing battery cartridge in a container with other metal objects such as nails, coins, etc.
- Do not expose battery cartridge to water or rain.
A battery short can cause a large current flow, overheating, possible burns and even a breakdown.
- Do not store and use the tool and battery cartridge in locations where the temperature may reach or exceed 50 °C (122 °F).
- Do not incinerate the battery cartridge even if it is severely damaged or is completely worn out. The battery cartridge can explode in a fire.
- Do not nail, cut, crush, throw, drop the battery cartridge, or hit against a hard object to the battery cartridge. Such conduct may result in a fire, excessive heat, or explosion.
- Do not use a damaged battery.
- he contained lithium-ion batteries are subject to the Dangerous Goods Legislation requirements.
For commercial transports e.g. by third parties, forwarding agents, special requirement on packaging and labeling must be observed.
For preparation of the item being shipped, consulting an expert for hazardous material is required.
Please also observe possibly more detailed national regulations.
Tape or mask off open contacts and pack up the battery in such a manner that it cannot move around in the packaging. - When disposing the battery cartridge, remove it from the tool and dispose of it in a safe place. Follow your local regulations relating to disposal of battery.
- Use the batteries only with the products specified by Makita. Installing the batteries to non-compliant products may result in a fire, excessive heat, explosion, or leak of electrolyte.
- If the tool is not used for a long period of time, the battery must be removed from the tool.
- During and after use, the battery cartridge may take on heat which can cause burns or low temperature burns. Pay attention to the handling of hot battery cartridges.
- Do not touch the terminal of the tool immediately after use as it may get hot enough to cause burns.
- Do not allow chips, dust, or soil stuck into the terminals, holes, and grooves of the battery cartridge. It may result in poor performance or breakdown of the tool or battery cartridge.
- Unless the tool supports the use near high-voltage electrical power lines, do not use the battery cartridge near high-voltage electrical power lines. It may result in a malfunction or breakdown of the tool or battery cartridge.
- Keep the battery away from children.
SAVE THESE INSTRUCTIONS.
CAUTION: Only use genuine Makita batteries.
Use of non-genuine Makita batteries, or batteries that have been altered, may result in the battery bursting causing fires, personal injury and damage. It will also void the Makita warranty for the Makita tool and charger.
Tips for maintaining maximum battery life
- Charge the battery cartridge before completely discharged. Always stop tool operation and charge the battery cartridge when you notice less tool power.
- Never recharge a fully charged battery cartridge. Overcharging shortens the battery service life.
- Charge the battery cartridge with room temperature at 10 °C – 40 °C (50 °F – 104 °F). Let a hot battery cartridge cool down before charging it.
- When not using the battery cartridge, remove it from the tool or the charger.
- Charge the battery cartridge if you do not use it for a long period (more than six months).
PARTS DESCRIPTION

► Fig.2
| 1 | Battery cartridge | 2 | Front hand guard | 3 | Guide bar |
| 4 | Saw chain | 5 | Retaining nut | 6 | Chain adjusting screw |
| 7 | Check button | 8 | Capacity indicator | 9 | Main power lamp |
| 10 | Main power switch | 11 | Lock-off lever | 12 | Rear handle |
| 13 | Switch trigger | 14 | Front handle | 15 | Oil tank cap |
| 16 | Box wrench | 17 | Chain catcher | 18 | Adjusting screw (for oil pump) |
| 19 | Guide bar cover | – | – | – | – |
FUNCTIONAL DESCRIPTION
CAUTION: Always be sure that the tool is switched off and the battery cartridge is removed before adjusting or checking function on the tool.
Installing or removing battery cartridge
CAUTION: Always switch off the tool before installing or removing of the battery cartridge.
CAUTION: Hold the tool and the battery cartridge firmly when installing or removing battery cartridge. Failure to hold the tool and the battery cartridge firmly may cause them to slip off your hands and result in damage to the tool and battery cartridge and a personal injury.

► Fig.3:
- Red indicator
- Button
- Battery cartridge
To remove the battery cartridge, slide it from the tool while sliding the button on the front of the cartridge.
To install the battery cartridge, align the tongue on the battery cartridge with the groove in the housing and slip it into place. Insert it all the way until it locks in place with a little click. If you can see the red indicator as shown in the figure, it is not locked completely.
CAUTION: Always install the battery cartridge fully until the red indicator cannot be seen. If not, it may accidentally fall out of the tool, causing injury to you or someone around you.
CAUTION: Do not install the battery cartridge forcibly. If the cartridge does not slide in easily, it is not being inserted correctly.
NOTE: The tool does not work with only one battery cartridge.
NOTE: Pay attention to the position of your fingers when installing the battery. The button will be depressed unintentionally.
Tool / battery protection system
The tool is equipped with a tool/battery protection system. This system automatically cuts off power to the motor to extend tool and battery life. The tool will automatically stop during operation if the tool or battery is placed under one of the following conditions.
Overload protection
When the tool is operated in a manner that causes it to draw an abnormally high current, the tool automatically stops and the main power lamp will blink. In this situation, turn the tool off and stop the application that caused the tool to become overloaded. Then turn the tool on to restart.
Overheat protection
When the tool is overheated, the tool automatically stops and the capacity indicator lamp will blink as illustrated. In this situation, let the tool cool down before turning the tool on again.
Capacity indicator status | Status | ||
![]() | ![]() | ![]() | |
![]() | Overheated. | ||
Overdischarge protection
When the battery capacity becomes low, the tool stops automatically. If the product does not operate even when the switches are operated, remove the batteries from the tool and charge the batteries.
Indicating the remaining battery capacity

► Fig.4:
- Check button
- Capacity indicator
The remaining battery capacity is shown while you are pressing the check button. The capacity indicators correspond to each battery.
Capacity indicator status | Remaining battery capacity | ||
|
| ![]() | |
![]() | 50% to 100% | ||
| 20% to 50% | ||
![]() | 0% to 20% | ||
| Charge the battery | ||
Indicating the remaining battery capacity
Only for battery cartridges with the indicator

► Fig.5:
- Indicator lamps
- Check button
Press the check button on the battery cartridge to indicate the remaining battery capacity. The indicator lamps light up for a few seconds.
Indicator lamps | Remaining capacity | ||
![]() | ![]() | ![]() | |
![]() | 75% to 100% | ||
![]() | 50% to 75% | ||
![]() | 25% to 50% | ||
![]() | 0% to 25% | ||
![]() | Charge the battery. | ||
![]() | The battery may have malfunctioned. | ||
NOTE: Depending on the conditions of use and the ambient temperature, the indication may differ slightly from the actual capacity.
NOTE: The first (far left) indicator lamp will blink when the battery protection system works.
Main power switch
WARNING: Always turn off the main power switch when not in use.
To stand by the chain saw, press the main power switch until the main power lamp lights up. To turn off, press the main power switch again.

► Fig.6:
- Main power switch
NOTE: The main power lamp brinks if the switch trigger is pulled under unoperatable conditions. The lamp blinks if you
- turn on the main power switch while holding down the lock-off lever and the switch trigger;
- pull the switch trigger while the chain brake is applied;
- release the chain brake while holding down the lock-off lever and pulling the switch trigger.
NOTE: This tool employs the auto power-off function.
To avoid unintentional start up, the main power switch will automatically shut down when the switch trigger is not pulled for a certain period after the main power switch is turned on.
Switch action
WARNING: For your safety, this tool is equipped with lock-off lever which prevents the tool from unintended starting. NEVER use the tool if it runs when you simply pull the switch trigger without pressing the lock-off lever. Return the tool to our authorized service center for proper repairs BEFORE further usage.
WARNING: NEVER tape down or defeat purpose and function of lock-off lever.
CAUTION: Before installing the battery cartridge into the tool, always check to see that the switch trigger actuates properly and returns to the “OFF” position when released.
NOTICE: Do not pull the switch trigger hard without pressing the lock-off lever. This can cause switch breakage.
To prevent the switch trigger from being accidentally pulled, a lock-off lever is provided. To start the tool, depress the lock-off lever and pull the switch trigger.
Tool speed is increased by increasing pressure on the switch trigger. Release the switch trigger to stop.

► Fig.7:
- Switch trigger
- Lock-off lever
Checking the chain brake
CAUTION: Hold the chain saw with both hands when switching it on. Hold the rear handle with your right hand, the front handle with your left. The bar and the chain must not be in contact with any object.
CAUTION: Should the saw chain not stop immediately when this test is performed, the saw may not be used under any circumstances.
Consult our authorized service center.
- Press the lock-off lever, then pull the switch trigger. The saw chain starts immediately.
- Push the front hand guard forwards with the back of your hand. Make sure that the chain saw comes to an immediate standstill.

► Fig.8:
- Front hand guard
- Unlocked position
- Locked position
Checking the run-down brake
CAUTION: If the saw chain does not stop within one second in this test, stop using the chain saw and consult our authorized service center.
Run the chain saw then release the switch trigger completely. The saw chain must come to a standstill within one second.
Adjusting the chain lubrication
You can adjust the oil pump feed rate with the adjusting screw. The amount of oil can be adjusted using the universal wrench.

► Fig.9:
- Adjusting screw
ASSEMBLY
CAUTION: Always be sure that the tool is switched off and the battery cartridge is removed before carrying out any work on the tool.
CAUTION: Do not touch the saw chain with bare hands. Always wear gloves when handling the saw chain.
Removing or installing saw chain
CAUTION: The saw chain and the guide bar are still hot just after the operation. Let them cool down enough before carrying out any work on the tool.
To install the saw chain, perform the following steps:
- Make sure the direction of the chain. The arrow mark on the chain shows the direction of the chain.
- Fit in one end of the saw chain on the top of the guide bar and the other end around the sprocket.

► Fig.10:- Sprocket
- Rest the guide bar in place on the chain saw.
- Place the sprocket cover on the chain saw so that the adjusting pin is positioned in a small hole on the guide bar.

► Fig.11:- Sprocket cover
- Guide bar
- Hole
- Adjusting pin
- Tighten the retaining nuts to secure the sprocket cover, then loosen it a bit for tension adjustment.
(See the chapter on “Adjusting saw chain tension” for procedure.)
► Fig.12:- Retaining nut
To remove the saw chain, perform the following steps:
- Release the chain brake by pulling the front hand guard.
- Loosen the chain adjusting screw, then the retaining nuts.

► Fig.13:- Chain adjusting screw
- Retaining nut
- Sprocket cover
- Remove the sprocket cover then remove the saw chain and guide bar from the chain saw body
Adjusting saw chain tension
CAUTION: Carry out the procedure of installing or removing saw chain in a clean place free from sawdust and the like.
CAUTION: Do not tighten the saw chain too much. Excessively high tension of saw chain may cause breakage of saw chain and wear of the guide bar.
CAUTION: A chain which is too loose can jump off the bar and it may cause an injury accident.
The saw chain may become loose after many hours of use.
From time to time check the saw chain tension before use.
- Release the chain brake by pulling the front hand guard.
- Loosen the retaining nuts a bit to loosen the sprocket cover lightly.

► Fig.14:- Retaining nut
- Lift up the guide bar tip slightly and adjust the chain tension. Turn the chain adjusting screw clockwise to tighten, turn it counterclockwise to loosen.
Tighten the saw chain until the lower side of the saw chain fits in the guide bar rail as illustrated.
► Fig.15:- Guide bar
- Saw chain
- Chain adjusting screw
- Keep holding the guide bar lightly and tighten the retaining nuts to secure the sprocket cover.

► Fig.16:- Retaining nut
Make sure that the saw chain does not loose at the lower side and the saw chain fits snugly against the lower side of the bar
OPERATION
Lubrication
CAUTION: Do not operate the chain saw when the tank is empty. Replenish the oil in due time before the tank is empty.
CAUTION: Prevent the oil from coming into contact with the skin and eyes. Contact with the eyes causes irritation. In the event of eye contact, flush the affected eye immediately with clear water, then consult a doctor at once.
CAUTION: Never use waste oil. Waste oil contains carcinogenic substances. The contaminants in waste oil cause accelerated wear of the oil pump, the bar and the chain. Waste oil is harmful to the environment.
Saw chain is automatically lubricated when the tool is in operation. Check the amount of remaining oil in the oil tank periodically.
To fill the oil, perform the following steps:
- Clean the area around the oil tank cap thoroughly to prevent any dirt from entering the oil tank.
- Lay the chain saw on its side and remove the oil tank cap.
- Fill the oil tank with the oil. The proper amount of oil is 200 ml.
- Screw the oil tank cap firmly back in place.
- Wipe away any spilt chain oil carefully.

► Fig.17:
- Oil tank cap
- Oil tank (translucent)
After refilling, hold the chain saw away from the tree. Start it and wait until lubrication on saw chain is adequate.

► Fig.18
NOTICE: When the chain saw is used for the first time, it may take up to two minutes for the saw chain oil to begin its lubricating effect upon the saw mechanism. Run the saw without load until it does so.
NOTICE: When filling the chain oil for the first time, or refilling the tank after it has been completely emptied, add oil up to the bottom edge of the filler neck. The oil delivery may otherwise be impaired.
NOTICE: Use the saw chain oil exclusively for Makita chain saws or equivalent oil available in the market.
NOTICE: Never use oil including dust and particles or volatile oil.
NOTICE: When pruning trees, use botanical oil. Mineral oil may harm trees.
NOTICE: Before the cutting operation, make sure that the provided oil tank cap is screwed in place.
WORKING WITH THE CHAIN SAW
CAUTION: The first time user should, as a minimum practice, do cutting logs on a saw-horse or cradle.
CAUTION: When sawing precut timber, use a safe support (saw horse or cradle). Do not steady the workpiece with your foot, and do not allow anyone else to hold or steady it.
CAUTION: Secure round pieces against rotation.
CAUTION: Keep all parts of the body away from the saw chain when the motor is operating.
CAUTION: Hold the chain saw firmly with both hands when the motor is running.
CAUTION: Do not overreach. Keep proper footing and balance at all times.
NOTICE: Never toss or drop the tool.
NOTICE: Do not cover the vents of the tool.
Bring the bottom edge of the chain saw body into contact with the branch to be cut before switching on. Otherwise it may cause the guide bar to wobble, resulting in injury to operator. Saw the wood to be cut by just moving it down by using the weight of the chain saw.

► Fig.19
If you cannot cut the timber right through with a single stroke: Apply light pressure to the handle and continue sawing and draw the chain saw back a little; then apply the spike bumper a little lower and finish the cut by raising the handle.

► Fig.20
Bucking
- Rest the bottom edge of the chain saw body on the wood to be cut.

► Fig.21 - With the saw chain running, saw into the wood while using the rear handle to raise the saw and the front one to guide it. Use the spike bumper as a pivot.
- Continue the cut by applying slight pressure to the front handle, easing the saw back slightly. Move the spike bumper further down the timber and raise the front handle again.
NOTICE: When making several cuts, switch the chain saw off between cuts.
CAUTION: If the upper edge of the bar is used for cutting, the chain saw may be deflected in your direction if the chain becomes trapped. For this reason, cut with the lower edge, so that the saw will be deflected away from your body.

► Fig.22
When you cut a wood under tension, cut the pressured side (A) first. Then make the final cut from the tensioned side (B). This prevents the bar from becoming trapped.

► Fig.23
- Limbing
CAUTION: Limbing may only be performed by trained persons. A hazard is presented by the risk of kickback.
When limbing, support the chain saw on the trunk if possible. Do not cut with the tip of the bar, as this presents a risk of kickback.
Pay particular attention to branches under tension. Do not cut unsupported branches from below.
Do not stand on the felled trunk when limbing.
Burrowing and parallel-to-grain cuts
CAUTION: Burrowing and parallel-to-grain cuts may only be carried out by persons with special training. The possibility of kickback present a risk of injury.
Perform parallel-to-grain cuts at as shallow an angle as possible. Take an extra caution when carrying out the cut as the spike bumper cannot be used.

► Fig.24
- Felling
CAUTION: Felling work may only be performed by trained persons. The work is hazardous.
Observe local regulations if you wish to fell a tree.

► Fig.25:
- Felling area
- Before starting felling work, ensure that:
- Only persons involved in the felling operation are in the vicinity;
- Any person involved has an unhindered path of retreat through a range of approximately 45° either side of the felling axis. Consider the additional risk of tripping over electrical cables;
- he base of the trunk is free of foreign objects, roots and ranches;
- No persons or objects are present over a distance of 2 1/2 tree lengths in the direction in which the tree will fall.
- Consider the following with respect to each tree:
- Direction of lean;
- Loose or dry branches;
- Height of the tree;
- Natural overhang;
- Whether or not the tree is rotten.
- Consider the wind speed and direction. Do not carry out felling work if the wind is gusting strongly.
- Trimming of root swellings: Begin with the largest swellings. Make the vertical cut first, then the horizontal cut.
- Stand to the side of the falling tree. Keep an area clear to the rear of the falling tree up to an angle of 45° either side of the tree axis (refer to the “felling area” figure). Pay attention to falling branches.
- An escape path should be planned and cleared as necessary before cuts are started. The escape path should extend back and diagonally to the rear of the expected line of fall as illustrated in figure.

► Fig.26:
- Felling direction
- Danger zone
- Escape route
When felling trees, follow the procedures below:
- Cut a scarf as close to the ground as possible. First make the horizontal cut to a depth of 1/5 -1/3 of the trunk diameter. Do not make the scarf too large. Then make the diagonal cut.

► Fig.27
NOTE: The scarf determines the direction in which the tree will fall, and guides it. It is made on the side towards which the tree is to fall. - Make the back cut a little higher than the base cut of the scarf. The back cut must be exactly horizontal. Leave approximately 1/10 of the trunk diameter between the back cut and the scarf. The wood fibers in the uncut trunk portion act as a hinge. Insert wedges into the back cut in time.

► Fig.28
WARNING: Do not cut right through the fibers under any circumstances. The tree will otherwise fall unchecked.
NOTICE: Only plastic or aluminum wedges may be used to keep the back cut open. The use of iron wedges is prohibited.
Carrying tool
Before carrying the tool, always apply the chain brake and remove the battery cartridges from the tool. Then attach the guide bar cover. Also cover the battery cartridge with the battery cover.

► Fig.29:
- Guide bar cover
- Battery cover
MAINTENANCE
CAUTION: Always be sure that the tool is switched off and the battery cartridge is removed before attempting to perform inspection or maintenance.
CAUTION: Always wear gloves when performing any inspection or maintenance.
NOTICE: Never use gasoline, benzine, thinner, alcohol or the like. Discoloration, deformation or cracks may result.
To maintain product SAFETY and RELIABILITY, repairs, any other maintenance or adjustment should be performed by Makita Authorized or Factory Service Centers, always using Makita replacement parts.
Sharpening the saw chain
Sharpen the saw chain when:
- Mealy sawdust is produced when damp wood is cut;
- The chain penetrates the wood with difficulty, even when heavy pressure is applied;
- The cutting edge is obviously damaged;
- The saw pulls to the left or right in the wood. (caused by uneven sharpening of the saw chain or damage to one side only)
Sharpen the saw chain frequently but a little each time. Two or three strokes with a file are usually sufficient for routine resharpening. When the saw chain has been resharpened several times, have it sharpened in our authorized service center. Sharpening criteria:
WARNING: An excessive distance between the cutting edge and depth gauge increases the risk of kickback.

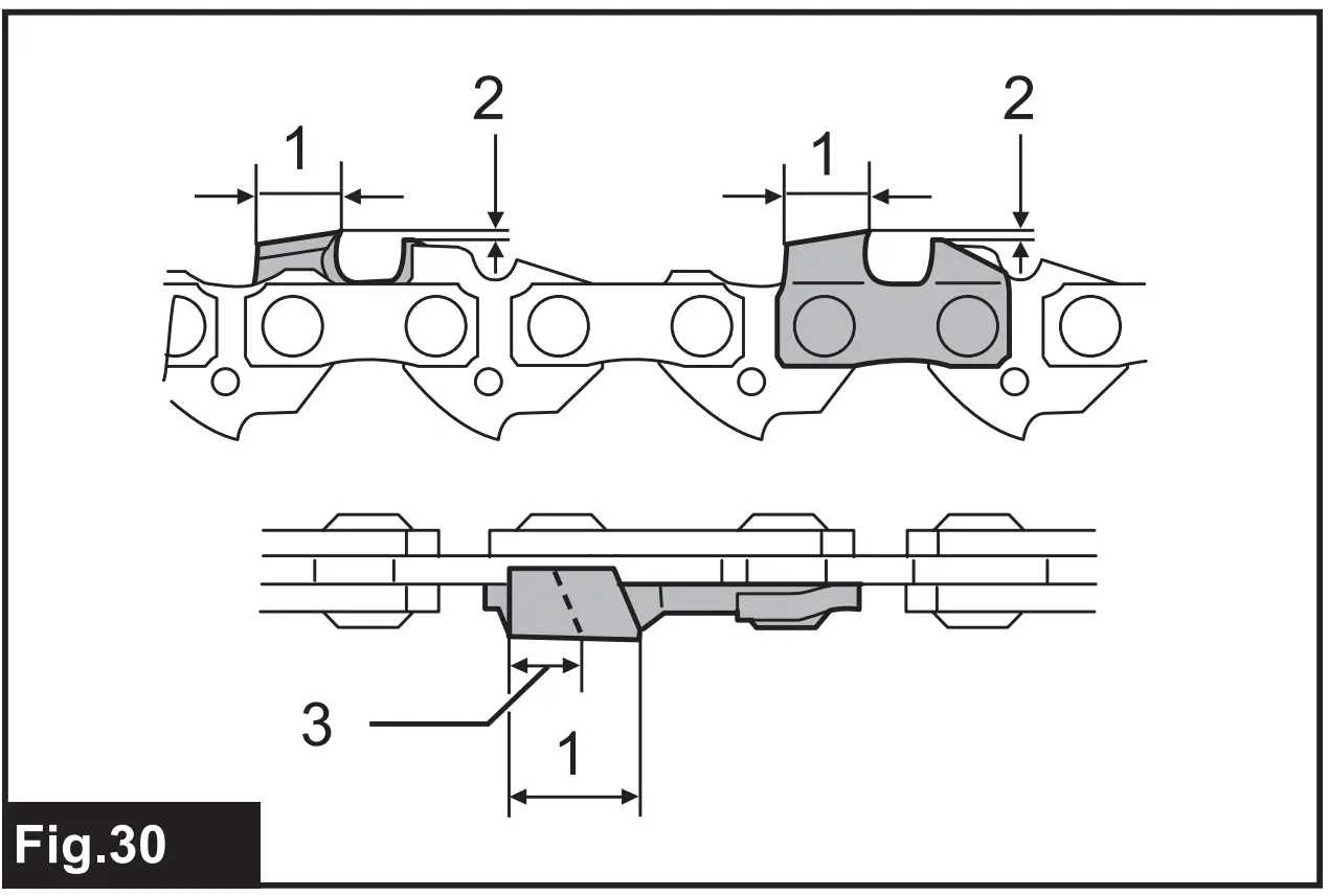
► Fig.30:
- Cutter length
- Distance between cutting edge and depth gauge
- Minimum cutter length (3 mm)
- All cutter length must be equal. Different cutter lengths prevent the saw chain from running smoothly and may cause the saw chain to break.
- o not sharpen the chain when the cutter length has reached 3 mm or shorter. The chain must be replaced with new one.
- The chip thickness is determined by the distance between the depth gauge (round nose) and the cutting edge.
- The best cutting results are obtained with following distance between cutting edge and depth gauge.
- Chain blade 90PX : 0.65 mm (0.025″)
- Chain blade 91PX : 0.65 mm (0.025″)

► Fig.31
- The sharpening angle of 30° must be the same on all cutters. Different cutter angles cause the chain to run roughly and unevenly, accelerate wear, and lead to chain breaks.
- Use a suitable round file so that the proper sharpening angle is kept against the teeth.
- Chain blade 90PX : 55°
- Chain blade 91PX : 55°
File and file guiding
- Use a special round file (optional accessory) for saw chains to sharpen the chain. Normal round files are not suitable.
- Diameter of the round file for each saw chain is as follows:
- Chain blade 90PX : 4.5 mm (3/16″)
- Chain blade 91PX : 4.0 mm (5/32″)
- The file should only engage the cutter on the forward stroke. Lift the file off the cutter on the return stroke.
- Sharpen the shortest cutter first. Then the length of this shortest cutter becomes the standard for all other cutters on the saw chain.
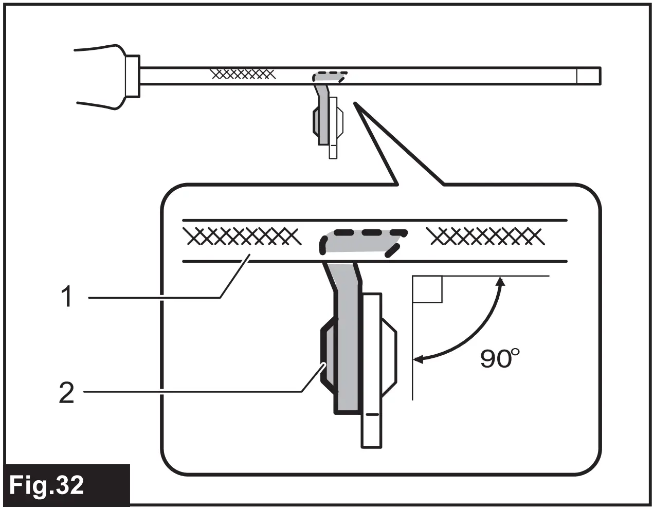
- Guide the file as shown in the figure.

► Fig.32:- file
- Saw chain
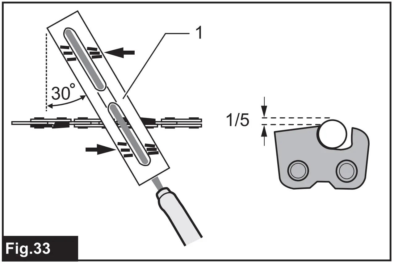
- The file can be guided more easily if a file holder (optional accessory) is employed. The file holder has markings for the correct sharpening angle of 30° (align the markings parallel to the saw chain) and limits the depth of penetration (to 4/5 of the file diameter).

► Fig.33:- File holder
- After sharpening the chain, check the height of the depth gauge using the chain gauge tool (optional accessory).

► Fig.34 - Remove any projecting material, however small, with a special flat file (optional accessory).
- Round off the front of the depth gauge again.
Cleaning the guide bar
Chips and sawdust will build up in the guide bar groove.
They may clog the bar groove and impair the oil flow.
Clean out the chips and sawdust every time when you sharpen or replace the saw chain.

► Fig.35
Cleaning the sprocket cover
Chips and saw dust will accumulate inside of the sprocket cover. Remove the sprocket cover and saw chain from the tool then clean the chips and saw dust.

► Fig.36
Cleaning the oil discharge hole
Small dust or particles may be built up in the oil discharge hole during operation. These dust or particles may impair the oil to flow and cause an insufficient lubrication on the whole saw chain. When a poor chain oil delivery occurs at the top of guide bar, clean the oil discharge hole as follows.
- Remove the sprocket cover and saw chain from the tool.
- Remove the small dust or particles using a slotted screwdriver or the like.

► Fig.37:- Slotted screwdriver
- Oil discharge hole
- Insert the battery cartridge into the tool. Pull the switch trigger to flow built-up dust or particles off the oil discharge hole by discharging chain oil.
- Remove the battery cartridge from the tool.
Reinstall the sprocket cover and saw chain on the tool.
Replacing the sprocket
CAUTION: A worn sprocket will damage a new saw chain. Have the sprocket replaced in this case.
Before fitting a new saw chain, check the condition of the sprocket.

► Fig.38:
- Sprocket
- Areas to be worn out
Always fit a new locking ring when replacing the sprocket.

► Fig.39:
- Locking ring
- Sprocket
NOTICE: Make sure that the sprocket is installed as shown in the figure.
Storing the tool
- Clean the tool before storing. Remove any chips and sawdust from the tool after removing the sprocket cover.
- After cleaning the tool, run it under no load to lubricate the saw chain and guide bar.
- Cover the guide bar with the guide bar cover.
- Empty the oil tank.
Instructions for periodic maintenance
To ensure long life, prevent damage and ensure the full functioning of the safety features, the following maintenance must be performed regularly. Warranty claims can be recognized only if this work is performed regularly and properly. Failure to perform the prescribed maintenance work can lead to accidents! The user of the chain saw must not perform maintenance work which is not described in the instruction manual. All such work must be carried out by our authorized service center.
| Check item / Operating time | Before operation | Everyday | Every week | Every 3 month | Annually | Before storage | |
| Chain saw | Inspection. | – | – | – | – | – | |
| Cleaning. | – | – | – | – | – | ||
| Check at authorized service center. | – | – | – | – | |||
| Saw chain | Inspection. | – | – | – | – | – | |
| Sharpening if necessary. | – | – | – | – | – | ||
| Guide bar | Inspection. | – | – | – | – | ||
| Remove from the chain saw. | – | – | – | – | – | ||
| Chain brake | Check the function. | – | – | – | – | – | |
| Have it inspected regularly at authorized service center. | – | – | – | – | – | ||
| Chain lubrication | Check the oil feed rate. | – | – | – | – | – | |
| Switch trigger | Inspection. | – | – | – | – | – | |
| Lock-off lever | Inspection. | – | – | – | – | – | |
| Oil tank cap | Check tightness. |
| – | – | – | – | – |
| Chain catcher | Inspection. | – | – | – | – | – | |
| Screws and nuts | Inspection. | – | – | – | – | – | |
TROUBLESHOOTING
Before asking for repairs, conduct your own inspection first. If you find a problem that is not explained in the manual, do not attempt to dismantle the tool. Instead, ask Makita Authorized Service Centers, always using Makita replacement parts for repairs.
Malfunction status | Cause | Action |
| The chain saw does not start. | Two battery cartridges are not installed. | Install two charged battery cartridges. |
| Battery problem (low voltage). | Recharge the battery cartridges. If recharging is not effective, replace the battery cartridge. | |
| Main power switch is off. | The chain saw is automatically turned off if it is un-operated for a certain period. Turn on the main power switch again. | |
| The saw chain does not run. | Chain brake activated. | Release chain brake. |
| The motor stops running after a little use. | Battery’s charge level is low. | Recharge the battery cartridges. If recharging is not effective, replace the battery cartridge. |
| No oil on the chain. | Oil tank is empty. | Fill the oil tank. |
| Oil guide groove is dirty. | Clean the groove. | |
| Poor oil delivery. | Adjust the amount of oil delivery with the adjusting screw. | |
| The chain saw does not reach maximum RPM. | Battery cartridge is installed improperly. | Install the battery cartridges as described in this manual. |
| Battery power is dropping. | Recharge the battery cartridges. If recharging is not effective, replace the battery cartridge. | |
| The drive system does not work correctly. | Ask the authorized service center in your region for repair. | |
| The main power lamp is blinking. | Switch trigger is pulled under an unoperatable condition. | Pull the switch trigger after the main power switch is turned on and the chain brake is released. |
| Chain does not stop even the chain brake is activated: Stop the machine immediately! | The brake band is worn down. | Ask the authorized service center in your region for repair. |
| Abnormal vibration: Stop the machine immediately! | Loose guide bar or saw chain. | Adjust the guide bar and saw chain tension. |
| Tool malfunction. | Ask the authorized service center in your region for repair. |
OPTIONAL ACCESSORIES
CAUTION: These accessories or attachments are recommended for use with your Makita tool specified in this manual. The use of any other accessories or attachments might present a risk of injury to persons. Only use accessory or attachment for its stated purpose.
If you need any assistance for more details regarding these accessories, ask your local Makita Service Center.
- Saw chain
- Guide bar
- Guide bar cover
- File
- Tool bag
- Makita genuine battery and charger
WARNING: If you purchase a guide bar of different length from the standard guide bar, also purchase a suitable guide bar cover together. It must fit and fully cover the guide bar on the chain saw.
NOTE: Some items in the list may be included in the tool package as standard accessories. They may differ from country to country
![]()































































