Schreder FLEXIA FG Maxi Side-Entry With Swivel Fixations

INSTALLATION INSTRUCTIONS


- A Ø610
- B 168
- C 633
- D 737
- Kg 14,25
- Cd.S 0,102 m²
- Cs.S 0,004 m²
- Cl.S 0,102 m²
KNUCKLE JOINT ANGLES

KNUCKLE JOINT ANGLES
PENETRATING
ENVELOPING

1’’ BSP – FEMALE SWIVEL
1’’ BSP – MALE SWIVEL

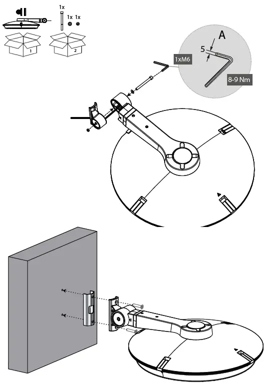
DIRECT ON WALL

MAINTENANCE (CR-KIT EU)
REASSEMBLING

MAINTENANCE (CR-KIT CSA/UL)


SAFETY INSTRUCTIONS
The light source contained in this luminaire shall only be replaced by the manufacturer or his service agent or a similar qualified person.Always switch off the power prior to installation, maintenance or repair activities.
RISK GROUP 2 – CAUTION! Hazardous optical radiation may be emitted from this product. Do not stare at the luminaire when operating as it may be harmful to the eyes. The luminaire should be positioned so that prolonged staring at the luminaire at a distance of less than 0.94m is not expected.
This product contains a light source of an energy efficiency class … – see table. In case of PVC insulated mains cable, the installer MUST ensure that the WHOLE cable is protected against climatic conditions, especially UV rays and rain, by making sure that the cable is contained inside the luminaire and pole
Y-connection: In case of damage to the wire, it has to be replaced only by the manufacturer, distributor or by an expert, to avoid risk



















