schreder FLEXIA FG Midi Side-Entry with Swivel Fixations

SAFETY INSTRUCTIONS
- The light source contained in this luminaire shall only be replaced by the manufacturer or his service agent or a similar qualified person. Always switch off the power prior to installation, maintenance or repair activities.
- RISK GROUP 2 – CAUTION! Hazardous optical radiation may be emitted from this product. Do not stare at the luminaire when operating as it may be harmful to the eyes. The luminaire should be positioned so that prolonged staring at the luminaire at a distance of less than 0.94m is not expected.
- This product contains a light source of an energy efficiency class … – see table.
- In case of PVC insulated mains cable, the installer MUST ensure that the WHOLE cable is protected against climatic conditions, especially UV rays and rain, by making sure that the cable is contained inside the luminaire and pole
- Y-connection: In case of damage to the wire, it has to be replaced only by the manufacturer, distributor or by an expert, to avoid risks.
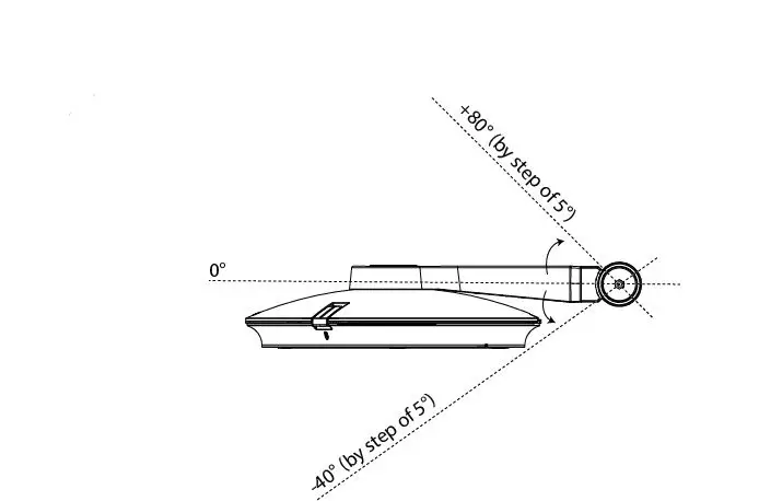
Installation instructions

KNUCKLE JOINT ANGLES 
DIRECT ON SURFACE 
PENETRATING




MAINTENANCE (CR-KIT EU)
REASSEMBLING
01-32-830 | DOC-0017678 rev G | 02-2022
www.schreder.com

















![Midiplus X Pro Mini Series Midi Keyboard User Manual [x4 Pro Mini, X6 Pro Mini] Midiplus X Pro Mini Series Midi Keyboard User Manual [x4 Pro Mini, X6 Pro Mini]](https://static-data1.manualsee.com/1/img/304/59766/2021/02/Midiplus-X-pro-mini-Series-MIDI-Keyboard-User-Manual-X4-pro-mini-X6-pro-mini.jpg)







