Schreder Flexia Quercus Midi Side-Entry Without Swivel Fixations
INSTALLATION INSTRUCTIONS
| LED colour code | 722 | 727 | 730 | 830 | 740 | 840 | 757 | 957 |
| Light source energy efficiency class – High power | E | D | C | D | C | D | C | E |
| Light source energy efficiency class – Mid power | A | A |

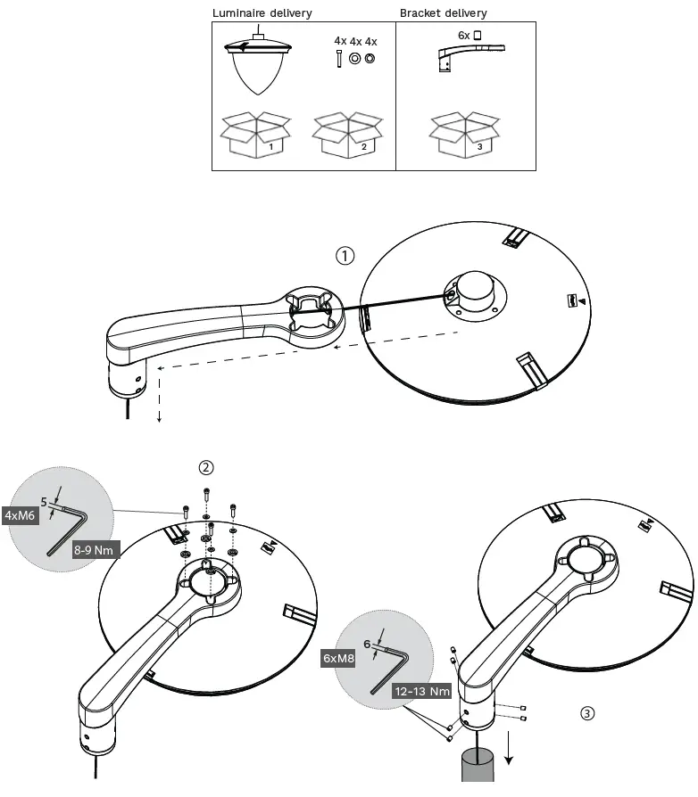
What In The Box
| A | Ø504 |
| B | 478 |
| Kg | 11,5 |
| Mass Tolerance (kg) | +/- 0,8 |
| Cd.S | 0,098 m² |
| Cs.S | 0,040 m² |
| Cl.S | 0,038 m² |
DIRECT ON SQUARE CONSOLE
PENETRATING

ENVELOPING
QUERCUS FIXATION

SOFIA CONSOLE
For mounting on pole and dimensions, please refer to SOFIA console Installation Sheet & interface datasheet.
MAINTENANCE (CR-KIT EU)

REASSEMBLING

MAINTENANCE (CR-KIT CSA/UL)

REASSEMBLING

SAFETY INSTRUCTIONS
The light source contained in this luminaire shall only be replaced by the manufacturer or his service agent or a similarly qualified person. Always switch off the power prior to installation, maintenance, or repair activities.
RISK GROUP 2
CAUTION
Hazardous optical radiation may be emitted from this product. Do not stare at the luminaire when operating as it may be harmful to the eyes. The luminaire should be positioned so that prolonged staring at the luminaire at a distance of less than 0.94m is not expected. This product contains a light source of an energy efficiency class … – see table. In the case of PVC insulated mains cable, the installer MUST ensure that the WHOLE cable is protected against climatic conditions, especially UV rays and rain, by making sure that the cable is contained inside the luminaire and pole Y-connection: In case of damage to the wire, it has to be replaced only by the manufacturer, distributor, or an expert, to avoid risks.
































