KOVAL 11992145 Flexi Mover

Foreword
Thank you for choosing Koval equipment.
Your Mover – Flexi/Mobi Pro Flexi belongs to a family of high-quality products intended to be used in the medical facilities, hospitals, nursing homes, rehabilitation units and other types of healthcare settings. Do not hesitate to contact us in case of queries about the operation or maintenance of your Koval equipment.
Please read this Instruction for Use thoroughly.
Thoroughly read and understand this Instruction for Use (IFU) before using your Mover – Flexi/Mobi Pro Flexi. Information from this IFU is essential for proper operation and maintenance of the equipment. Follow these to keep your product safe and to ensure the functioning of your equipment to your satisfaction. Some of the information from this IFU is important for your safety; therefore, please read and understand to prevent any injuries. Unauthorized modifications of the Koval equipment may affect its safety. Koval will not be held responsible for any accidents, incidents or lack of performance as a result of any such unauthorized modifications. The product may only be used for its intended purpose.
Reporting Unexpected Operations or Events.
In case of unexpected operations or events contact Koval or your local Koval representative. The contact information is printed on the last page of this IFU.
Serious Incident
In case of a serious incident in relation to this medical device involving the user or the client; the user or the client must report this serious incident to the medical device manufacturer or the distributor. The user must always report such serious incident to the local competent authority.
Servicing and Support
Your Mover – Flexi/Mobi Pro Flexi should be serviced once a year by qualified personnel to ensure the operating safety of your product. See Care and Preventive Checks section. For further information please do not hesitate to contact Koval or your local Koval representative to receive comprehensive support and servicing to maximize long-term safety, reliability and value of the product. For spare parts contact Koval or your local Koval representative. The contact information is included on the last page of this IFU.
Definitions in this IFU:
WARNING
Safety warning. Failure to understand and follow this warning may result to personal injuries.
CAUTION
Failure to follow these instructions may cause damage to all or parts of the system.
NOTE
Describes important information about the correct use of this system or product.
When using this product always follow the appropriate WARNINGS.
Intended Use
This product is intended as an aid for people with disabilities (e.g., geriatric people, injured, people with disabilities) who are able to stand, but not necessarily walk, to stand up and to be safely moved by a caregiver across short distances. Mover – Flexi/Mobi Pro Flexi facilitates client movement from one location to another (e.g., from a chair, wheelchair to a toilet, bed). The device is intended for use in environment of care, such as senior/assisted living, special care facilities, medical facilities, hospitals, nursing homes, rehabilitation units and other healthcare settings. The device is intended specifically for indoor use.
This product should be used according to the intended purpose and these safety instructions. Everyone using this equipment should read and understand these instructions, which are included in this Instruction for Use (IFU). In case of doubts feel free to contact Koval or your Koval representative at any time.
Mover – Flexi/Mobi Pro Flexi is intended to be used by appropriately trained caregivers familiar with the environment of care, as well as its common practices and procedures, and must follow the guidelines in the Instruction for Use (IFU). Mover – Flexi/Mobi Pro Flexi should only be used for intended purpose specified in these Instruction for Use. Use for any other purpose is prohibited.
Product lifetime
The expected product lifetime is ten (10) years depending on the storage conditions and the frequency of use. The product service life is three (3) years.
Some product parts, such as casters, as well as seat and knee upholstery, which are subjected to wear, may need to be replaced during the device lifetime according to information in the Instruction for Use (IFU).
Transport damage
Upon delivery check the product and the packaging for damages. Observe the delivery date: visible damages should be reported within 2 days after delivery and hidden damages within 7 days after delivery.
Safety Instructions
WARNING
To prevent client falls or caregiver injuries make sure that there are two caregivers present during the transfer of a client if this is necessary according to the client state.
WARNING
To prevent the device from tipping do not raise or lower other equipment close to it.
WARNING
To prevent entrapment, make sure to keep the client’s arms on the crossbar and feet on a footplate.
WARNING
To prevent electric shock never use this device in close proximity to other electrical equipment.
WARNING
To avoid injuries, make sure that the client is never left unsupervised.
WARNING
To prevent explosion or fire never use this product in an oxygen rich environment, near heat sources or flammable anesthetic gases.
Assembly of Mover Flexi
Follow these steps:
- Cut the straps securing the cardboard box to the pallet.
- Unpack the Mover – Flexi/Mobi Pro Flexi .
- Remove all protective foil and foam from casters, seat upholstery and handles.
- The Mover – Flexi/Mobi Pro Flexi is now ready for use – no further installation is required.
Preparation
Before First Use (9 Steps)
- Visually inspect the Mover – Flexi/Mobi Pro Flexi for transport damages.
- The packaging should be recycled according to local regulations.
- Confirm that all parts of the product have been included in the package. Refer to Parts Designation section. In case of missing or damaged parts do NOT use the product!
- Read the IFU.
- Disinfection of the product should be carried out according to Cleaning and Disinfection Instructions.
- Perform functionality testing of Mover – Flexi/Mobi Pro Flexi. Refer to Care and Preventive Checks section.
- Store the Mover – Flexi/Mobi Pro Flexi in a dry, well-ventilated place out of direct sunlight.
- IFU should be kept in a designated area and should be easily accessible at all times. Have an emergency response plan readily available in case of a client emergency.
Before Every Use (5 Steps)
- WARNING
To avoid injury, check for proper operation of basic functions before use. - Check that all parts are in place.
- Refer to the Parts Designation section. Carefully inspect the product for damages.
- In case of missing or damaged parts do NOT use the product!
- WARNING To prevent cross-contamination always follow the disinfection instructions from this IFU.
Mover – Flexi driving directions
The driving direction during transport, as well as the left and right side are illustrated below (sides are marked pursuant to client position). 
Parts designation

- Mover frame
- Flexible base
- Plastic footrest
- Knee upholstery
- Right seat upholstery
- Left seat upholstery
- Double-wheel caster
- Double-wheel caster with brake
- Maneuvering handle
- Lever for adjusting flexible base
- Crossbar
Product Description / Functions
Mover – Flexi/Mobi Pro Flexi is a mobile (wheeled), non-self-propelled device designed to help a caregiver to safely move a client with a disability (e.g., geriatric, injured, with disabilities) across short distances, and to facilitate transferring the client from one sitting area to another (e.g., from a chair, wheelchair to a toilet, bed and back). It consists of a wheeled support structure with rotating padded seats, a crossbar, which the user can hold and pull by himself during repositioning, and two handles, which facilitate maneuvering the device by the caregiver. The device is intended to be operated by the nurses or caregivers in environments of care, such as senior/assisted living, special care facilities, medical facilities, hospitals, nursing homes, rehabilitation units and other health care settings. The equipment is intended for indoor use.
Rotating padded seats and a knee support with 50 mm of seamless padding provides maximum comfort and is easy to clean.
Four swivel double-wheel casters with 75 mm of diameter for improved maneuverability. The rear casters are furnished with a brake. Mover – Flexi/Mobi Pro Flexi ensures fast, stable and safe transfer of the client.
The width of the mover’s flexible base can be adjusted manually to allow easier access between or around the chair’s feet or wheelchair’s casters thus improving client access. The metal frame is electrostatically powder coated.
WARNING
To avoid damage to the product, use the products exclusively to transfer clients. Transferring other objects is strictly prohibited.
WARNING
To avoid damage to the equipment, this product should exclusively be used indoors.
WARNING
To avoid injury, ensure weekly monitoring of all Mover – Flexi/Mobi Pro Flexi functions.
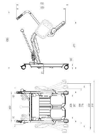
Adjusting the flexible base width
The width of the flexible base of the Mover – Flexi/Mobi Pro Flexi can be adjusted by means of a hand lever. It has three positions: narrow, middle and wide.
- Left position (wide) –
- Inner caster distance: 830 mm
- Outer caster distance: 970 mm
- Middle position –
- Inner caster distance: 640 mm
- Outer caster distance: 770 mm
- Right position (narrow) –
- Inner caster distance: 450 mm
- Outer caster distance: 580 mm

Rotating the padded seats
Rotate one part of the two-part seat in either direction from the open position to position underneath the client.
WARNING
To avoid damages to the equipment always move the padded seats in the closed position.
WARNING
To avoid injuries, make sure that the client is never left unsupervised.
Brakes
Rear casters with brakes:
Double wheel swivel casters Ø75 mm with a brake. Apply the break of each caster individually.
WARNING
To avoid injuries always lock the brake when Mover – Flexi/Mobi Pro Flexi is stationary.
WARNING
To avoid injuries, ensure that the casters are locked when transferring the client.
Transfers with Mover – Flexi
From a Chair, Wheelchair, Bed or Toilet (9 steps)
- Always inform the client about what you are planning to do.
- Open up both parts of the two-part seat by manually pulling them to the side and upwards.
- Adjust the flexible base of the Mover – Flexi/Mobi Pro Flexi, if needed, and approach the client. (See Fig. 1.)

- Position the Mover – Flexi/Mobi Pro Flexi to allow the client to place the feet on the footrest with knees comfortably resting against the kneepad.
- Apply both caster brakes. (See Fig. 2.)

- Help or encourage the client to grab the crossbar and use it to stand up.
- Rotate both parts of the seat down. (See Fig. 3.)

- Ask the client to sit down. (See Fig. 4.)

- Release the brakes and proceed with the transfer. (See Fig. 5.)

To a Chair, Wheelchair, Bed or Toilet (8 steps)
- Approach the chair and adjust the flexible base of the Mover – Flexi/Mobi Pro Flexi, if needed.
- Bring the client over to the chair and apply the brakes.
- Ask the client to stand up.
- Rotate the two parts of the seat up.
- Ask the client to sit down by holding the crossbar.
- When seated, ask the client to remove the feet from the footrest.
- Rotate the both parts of the seat down.
WARNING
When accommodating the client all the brakes must always be applied to prevent client falls.
WARNING
To avoid falls the client must be positioned in accordance with this IFU.
WARNING
To avoid entrapment, ensure that the client’s arms are kept on the crossbar and feet on the footrest.
WARNING
To avoid the client falls or caregiver injuries ensure that there are two caregivers present during the transfer of the client, if this is necessary according to the client state.
Cleaning and Disinfection Instructions
The Mover – Flexi/Mobi Pro Flexi is recommended to be cleaned and/or disinfected regularly between each use, if necessary, or daily, as a minimum. If the Mover – Flexi/Mobi Pro Flexi is soiled or in case of suspected contamination, follow the recommended cleaning and/or disinfection procedures below before using the equipment.
Clean the Mover – Flexi/Mobi Pro Flexi with a damp cloth using warm water and a disinfectant cleaner.
To ensure proper cleaning and disinfection always follow the steps below:
Cleaning / Disinfection (Steps 1-8)
- Wear protective gloves and goggles.
- Mix the disinfectant according to the instructions on the product label or according to the mixing ratio in the IFU.
- Apply the disinfectant on the Mover – Flexi/Mobi Pro Flexi.
- Allow for disinfection time according to the instructions on the product label.
- Use a clean cloth to wipe all surfaces especially handles, the crossbar and knee upholstery.
- Use a new cloth soaked in water to remove all traces of disinfectant. When removing disinfectant periodically rinse the cloth under running water.
- If the traces of disinfectant cannot be removed, spray water with a temperature of approx. 25°C (77°F) on the affected parts and wipe with disposable towels. Repeat until all traces of disinfectant are removed.
- Leave the parts to dry.
Regularly clean with mild detergents to extend product lifetime.
- WARNING
Do not use a steam washer, washing tunnel, or high pressure jet cleaners. - WARNING
To avoid eye or skin irritation never use disinfectants in the presence of a client. - WARNING
To prevent cross-contamination always follow the disinfection instructions in this IFU. The product should always be cleaned between two clients. - WARNING
To avoid eye and skin damage always use goggles and gloves. In case of contact rinse with plenty of water. If eyes or skin becomes irritated, immediately contact a physician. Always read the IFU and the Material Safety Data Sheet (MSDS) of the disinfectant label. - WARNING
Do not clean the surface with abrasive sponges and cloths.
Care and Preventive Checks
The Mover – Flexi/Mobi Pro Flexi is subject to normal wear and tear; therefore, the following actions should be performed as specified to make sure that the product retains its original manufacturing specification.
Koval or your local Koval representative shall carry out preventive checks once a year by prior agreement.
WARNING
To avoid malfunction resulting in injury make sure to carry out regular inspections and follow the recommended maintenance schedule. In some cases, due to heavy use of the product and exposure to aggressive environment, more frequent inspections should be carried out. Local regulations and standards may be more stringent than the recommended maintenance schedule.
NOTE: Do not carry maintenance and servicing while the product is used.
| Responsibilities of the Caregiver | Every DAY | Every WEEK | Every YEAR |
| Disinfection | X | ||
| Visually check all visible parts | X | ||
| Visually check mechanical attachments | X | ||
| Perform functionality testing | X | ||
| Check and clean casters | X | ||
| Check upholstery | X | ||
| Yearly checks by qualified personnel only | X |
WARNING
To avoid injuries of the client and caregiver never modify the equipment or use incompatible parts.
Responsibilities of the Caregiver
Responsibilities of the caregiver shall be carried out by personnel with sufficient Mover – Flexi/Mobi Pro Flexi knowledge following the instructions in this IFU.
Daily
Disinfection
- Disinfect the Mover – Flexi/Mobi Pro Flexi immediately after every use. Use recommended concentrations of standard disinfectants and cleaning agents. For additional cleaning/disinfecting instructions see section Cleaning and Disinfection Instructions. Weekly
Visually check all exposed parts
- Particularly check areas exposed to physical contact with the client or the caregiver. Check for potential cracks or sharp edges that could lead to injuries by the client or the caregiver or that could become unhygienic.
Test functionality by:
- Verifying smooth operation of the adjustable flexible base.
- Verifying smooth rotating operation of the rotating padded seats.
- Checking the brakes.
Checking and cleaning casters
- Check that all casters are securely fixed and can rotate and swivel freely. Always clean with water (the functioning can be affected by soap, hair, dust and chemicals from the floor cleaning solutions).
Checking the upholstery
- Verify that there are no cracks or tears. In the event of damage replace damaged parts to avoid cross contamination. (See Parts Designation.)
Yearly Checks by Qualified Personnel Only
- Mover – Flexi/Mobi Pro Flexi must be serviced once a year in accordance with the Maintenance and Repair Manual.
WARNING
To avoid injuries and/or diminished safety of the product the maintenance activities must be carried out at set intervals by qualified personnel with appropriate tools and parts, as wells as proper knowledge of the procedures. Qualified personnel must be certified for the maintenance of this device.
NOTE: All Caregiver Obligations are to be checked when performing the Qualified Personnel Service.
Mover – Flexi Storage and Transport
The Mover – Flexi/Mobi Pro Flexi must be stored in a dry, well-ventilated area at room temperature and out of direct sunlight (UV-radiation). The storage temperature must range from -40°C to 70°C. Avoid excessive pressure on the upholstery during storage. Follow all the necessary precautions during transport: to avoid damage of the equipment always close the padded seats.
CAUTION:
Failure to lock the casters in the braking position can cause the Mover – Flexi/Mobi Pro Flexi to move automatically.
Technical Specifications
11992145 – MOVER – FLEXI/Mobi Pro Flexi

Rotating padded seats
Seamless padding (50 mm)
Manually adjustable flexible base with three positions:
- Inner caster distance: 450 mm, 640 mm, 830 mm
- Outer caster distance: 580 mm, 770 mm, 970 mm
Crossbar
Knee support
- Front swivel double wheel casters Ø75 mm
- Rear swivel double wheel casters Ø75 mm with brake
Maneuvering handles
- Height: 1050 mm
- Length: 930 mm
- Width: 640 mm
- Weight: 33 kg
- Safe working load: 150 kg
NOTE:
Measurements can deviate for +/- 2%.
Dimensions

Troubleshooting
Troubleshooting for Mover – Flexi/Mobi Pro Flexi
NOTE: If the product does not work as intended, immediately contact Koval or your local Koval representative for support.
| PROBLEM | ACTION |
| Manually adjustable flexible base cannot be opened or closed. | 1 Check flexible base mechanism for damage. 2 Immediately stop using the Mover – Flexi/Mobi Pro Flexi and contact qualified personnel. |
| Manually adjustable flexible base cannot be opened or closed / noise present during opening. | 1 Check flexible base mechanism for damage. 2 Immediately stop using the Mover – Flexi/Mobi Pro Flexi and contact qualified personnel. |
| Difficulties when maneuvering the Mover – Flexi/Mobi Pro Flexi during transport. | 1 Verify that all brakes are released. 2 Verify that all casters rotate and swivel freely. 3 If the problem still persists, immediately stop using the Mover – Flexi/Mobi Pro Flexi and contact qualified personnel. |
| Rotating padded seats are difficult to open or close. | Check for debris or hair in the seat pivot. Clean, if needed. |
NOTE: If the problem cannot be solved by following the troubleshooting above, please contact qualified personnel.
NOTE: Before contacting our qualified personnel, be sure to prepare the serial number (SN) or, alternatively, have the product next to you. You can find the SN on the product label located on the inner side of the left mover leg (See Label placement section) or on the left side of the plastic footrest. The delivery note or the invoice number can also be used to identify your product. This identification number helps reduce waiting times and improves service quality.
Labels
Label explanation
| Manufacturer and Identification Data Label | Catalogue number, Serial number, Batch code, Model name, Manufacturing date, Manufacturer, Safe Working Load, Max Temperature Limit |
| Warning Label | Warnings about improper use |
Symbol explanation
| Safe working load | |
![]() | Read the Instruction for Use (IFU) before use |
![]() | Caution |
![]() | Manufacturer |
![]() | Manufacturing date |
![]() | Catalogue number |
| Serial number | |
| Batch code | |
![]() | European Conformity Mark |
![]() | Warning: pinching of hands |
![]() | Apply the brake |
![]() | MD Medical Device |
![]() | Indoor use |
![]() | Distributor |
Label placement

Approvals and List of Standards
Product complies with the European Regulation (EU) 2017/745 of the European Parliament and of the Council of 5 April 2017 on medical devices:
- Classified as Class I medical devices as set out in Annex VIII of Regulation (EU) 2017/745
- Complies with the provisions of Regulation (EU) 2017/745 “Medical Devices” and meets the essential requirements set out in Annex I of Regulation (EU) 2017/745
- The conformity for the purposes of the CE marking and conformity assessment according to the procedure from Annex IV of Regulation (EU) 2017/745
- The product also complies to the requirements of the following standards:
- EN 12182:2012,
- EN ISO 15223-1:2017-02 (eq. EN ISO 15223-1:2016),
- EN ISO 14971:2019
Maintenance Record Sheet
| Date of Service | Completed Tasks | Technician | Signature | Next due |
Design Policy and Copyright
© Koval 2021.
Pursuant to our policy of continuous improvements we reserve the right to modify our design without prior notice.
The content of this publication may not be reproduced in whole or in part without Koval’s prior consent.



































