HAMPTON BAY FC120-CARL 48-Inch LED Indoor Air Filtering Ceiling Fan User Guide

THANK YOU
We appreciate the trust and confidence you have placed in Hampton Bay through the purchase of this ceiling fan. We strive to continually create quality products designed to enhance your home. Visit us online to see our full line of products available for your home improvement needs.
Thank you for choosing Hampton Bay!
Safety Information
READ AND SAVE THESE INSTRUCTIONS
- To reduce the risk of electric shock, ensure the electricity has been turned off at the circuit breaker or fuse box before you begin.
- All wiring must be in accordance with the National Electrical Code ANSI/NFPA 70 and local electrical codes. Electrical installation should be performed by a qualified licensed electrician.
- The outlet box and support structure must be securely mounted and capable of reliably supporting 35 lbs. (15.9 kg). Use only UL
Listed outlet boxes marked “Acceptable for Fan Support of 35 lbs. (15.9 kg) or less.” - The fan must be mounted with a minimum of 7 ft. (2.1 m)
- Do not operate the reversing switch while the fan blades are in motion. You must turn the fan off and stop the blades before you
reverse the blade direction. - Do not place objects in the path of the blades.
- To avoid personal injury or damage to the fan and other items, use caution when working around or cleaning the fan.
- Electrical diagrams are for reference only. Light kits that are not packed with the fan must be UL-listed and marked suitable for use with the model fan you are installing. Switches must be UL General Use Switches. Refer to the instructions packaged with the light kits and switches for proper assembly.
- After making electrical connections, spliced conductors should be turned upward and pushed carefully up into the outlet box.
The wires should be spread apart with the grounded conductor and the equipment-grounding conductor on one side of the outlet box. - All setscrews must be checked and retightened where necessary before installation.

This equipment has been tested and found to comply with the limits for a Class B digital device, pursuant to Part 15 of the FCC Rules. These limits are designed to provide reasonable protection against harmful interference in a residential installation. This equipment generates, uses and can radiate radio frequency energy and, if not installed and used in accordance with the instructions, may cause harmful interference to radio communications. However, there is no guarantee that interference will not occur in a particular installation. If this equipment does cause harmful interference to radio or television reception, which can be determined by turning the equipment off and on, the user is encouraged to try to correct the interference by one or more of the following measures:
–Reorient or relocate the receiving antenna.
–Increase the separation between the equipment and receiver.
–Connect the equipment into an outlet on a circuit different from that to which the receiver is connected.
–Consult the dealer or an experienced radio/TV technician for help.
CAUTION:
Changes or modifications to this unit not expressly approved by the party responsible for compliance could void the user’s authority to operate the equipment.
This device complies with Part 15 of the FCC Rules. Operation is subject to the following two conditions: (1) This device may not cause harmful interference, and (2) this device must accept any interference received, including interference that may cause undesired operation.
Warranty

Contact the Customer Service Team at 1-855-HD-HAMPTON or visit www.HamptonBay.com.
Pre-Installation
SPECIFICATIONS

NOTE: These are approximate measures. They do not include the amps and wattage used by the light kit.
TOOLS REQUIRED

HARDWARE INCLUDED
NOTE: Hardware not shown to actual size


PACKAGE CONTENTS

Installation
MOUNTING OPTIONS
WARNING: To reduce the risk of fire, electric shock or personal injury, mount to an outlet box marked “Acceptable for fan support of 35 lbs. (15.9 kg) or less,” and use the screws provided with the outlet box. An outlet box commonly used for the support of lighting fixture may not be acceptable for fan support and may need to be replaced. If in doubt, consult a qualified electrician.
If your ceiling fan does not have an existing UL-listed mounting box, then install one using the following instructions:
- Disconnect the power by removing the fuses or turning off the circuit breakers.
- Secure the outlet box directly to the building structure. Use the appropriate fasteners and materials. The outlet box and its bracing must be able to fully support the weight of the moving fan (at least 35 lbs.). Do not use a plastic outlet box.
The illustrations below show three different ways to mount the outlet box.

NOTE: You may need a longer downrod to maintain proper blade clearance when installing on a steep, sloped ceiling. The maximum angle allowable is 20° away from horizontal.

If the Canopy (C) touches the ball/downrod assembly (B), then remove the Canopy bottom cover (D) and turn the Canopy (C) 180° before attaching the Canopy (C) to the mounting plate.
To hang your fan where there is an existing fixture but no ceiling joist, you may need an installation hanger bar as shown above (available at any Home Depot store).
Assembly – Standard Ceiling Mount
- Preparation for assembly
♦ Remove the 15 preassembled screws (BB), 3 preassembled outer tooth washers (RR) and preassembled screws (QQ) from the motor housing (F) and place them in a safe secure place. Do not discard.
- Install the hanger rod assembly
♦ Loosen the two screws (CC) on the motor assembly (F). Disassemble the parts on the hanger rod assembly (B) R pin (FF), cross pin (JJ), screw (DD), external washer (EE), hanger ball (HH), and cross pin (GG).
♦ Pass the wires on the motor assembly (F) through the lower canopy assembly (E), upper canopy (C), hanger ball (HH), and down rod (II).
♦ Use cross pin (JJ) and R pin (FF) to connect the down rod (II) to the motor assembly, and tighten the screw (CC) on the motor assembly to fix the down rod (B).
♦ Pass the cross pin (GG) into the down rod (II), and adjust the position of the hanger ball (HH).
♦ Tighten the hanger ball (HH) on the hanger rod (B) with the screw (DD) and the external washer (EE).
- Install the hanger bracket assembly
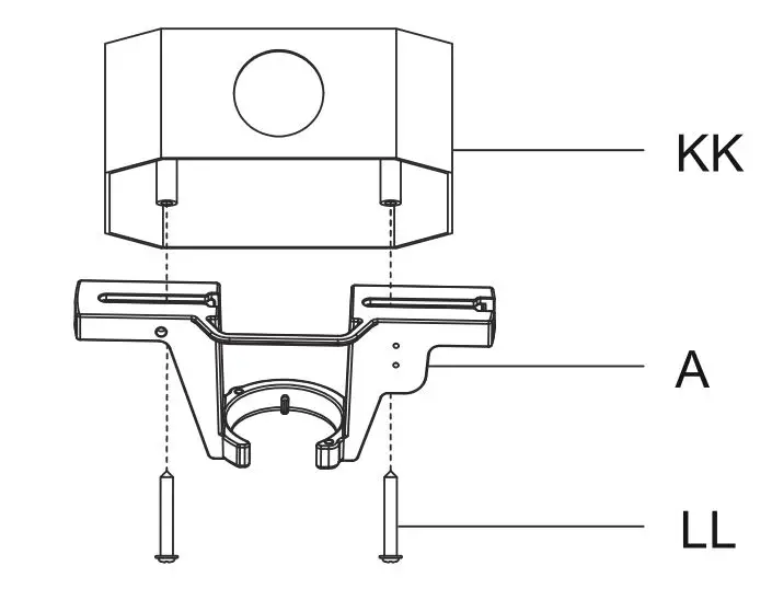
WARNING: To reduce the risk of fire, electric shock, or other personal injury, mount the fan to an outlet box or supporting system marked acceptable for fan support and use the mounting screws that come with the outlet box (not included).♦ Put the mounting bracket (A) into the screw (LL) (not included) on the outlet box (KK) in the direction as shown in the figure, and then tighten the screw (LL).
♦ Pass the 120-Volt supply wires through the center hole in the mounting bracket (LL).
♦ Securely tighten the two mounting screws (A) (not included).
♦ Remove one screw (CC) and external washer (EE) on each side of the mounting bracket (A), and loosen the remaining screws (CC).

- Hang the motor assembly
NOTE:It is required to clamp the base of the hanger bracket assembly (A) into the groove of the hanger rod assembly (B).
WARNING: The tab (XX) is only to balance the fan while may result in the tab (XX) breaking, causing the fan to fall. The tab must pass from the inside to the outside of the canopy.
WARNING:When hanging the fan on the tab (XX) it is critical that you use one of the non-slotted (round) holes in the canopy (C).♦ Put the canopy decorative cover (D) into the canopy (C)
♦ Hang the motor assembly (F) on the mounting bracket assembly (A).
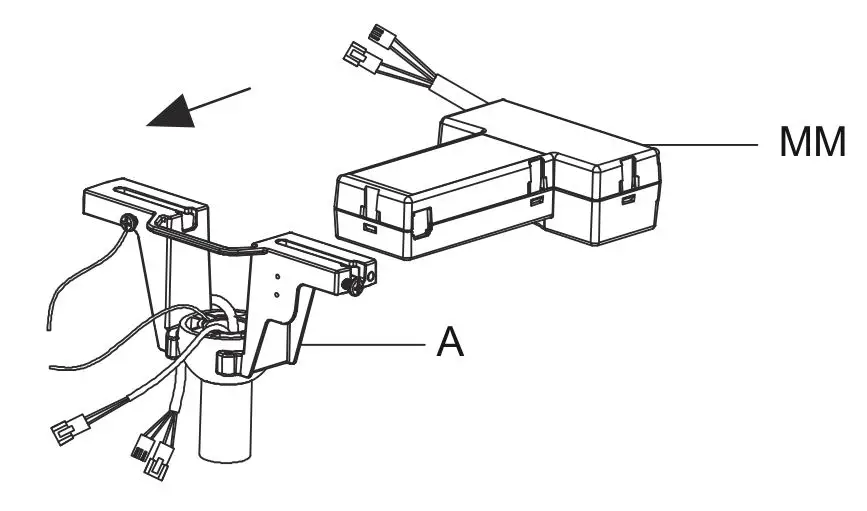
- Install the hanger bracket assembly
♦ Insert the receiver (MM) into the hanger bracket assembly (A).
♦ Insert the wire harness (NN) and wire harness (OO) into the receiver (MM).
- Wiring the receiver
♦ Connect the receiver as shown in the wiring diagram.
♦ Follow the steps below to connect the fan to your house supply wires.
♦ Connections between the motor assembly and the receiver: Butt slice the white terminal on the fan to the white terminal on the receiver with the Orange/Grey/White. Butt slice the black terminal on the fan to the black terminal on the receiver.
Butt slice the terminal on the fan to the blue terminal on the receiver.
♦ The receiver is connected to your home’s power cord. Use the wiring cap (AA) to connect the black wire harness with the “L” logo on the receiver to your home’s Hot. Use the wiring cap (AA) to connect the white wiring harness with the “N” mark on the receiver to the Natural at home.
♦ If your outlet box has a GROUND wire (Greenor Bare Copper), connect this wire to the Hanger Ball and Mounting Bracket and receiver Ground wires. If your outlet box does not have a Ground Wire, then connect the Hanger Ball and Hanger Bracket and Receiver Ground Wires together.
♦ After all the splices are made, check to make sure there are no loose strands or wires.
- Install the canopy and the canopy cover
♦ Arrange the connected wiring harness and cover it with the canopy (C).
♦ Rotate the canopy (C) clockwise onto the screw heads (CC). Reinstall the previously-removed screws (CC) and washers (EE) in Step 2. Tighten all the screws (CC) to secure the canopy (C).
♦ Rotate the canopy cover (D) counterclockwise to attach it.
- Install the fan blades
♦ Insert the fan blade (J) into the installation groove of the middle ring (PP), and attach the fan blade (J) with the previously-removed screws (BB) in Step 1.
- Install the purification assembly
♦ Hold and press, the two bosses on the filter holder (SS) at the same time and pull out the filter holder.
NOTE: Insert the filter (TT) before hanging the purification assembly (G)
♦ Insert the filter (TT) into the filter holder (SS), and then insert the filter holder (SS) into the purification assembly (G).
♦ Connect the wire harness with the wiring cap (AA).
♦ Use electrical tape to stick the connected wires on the receiver cover.
NOTE: Connect the black wire harness to the black wire and the white wire harness to the white wire.
♦ Hang the purification assembly (G) on the fan motor assembly (F).
♦ Rotate the purification assembly (G) clockwise to attach it to the motor assembly (F).
♦ Tightening the screws (QQ) and the external washers (RR).
NOTE:
1. It is recommended to use magnetic screwdrivers when tightening the locking screws (QQ) and outer tooth washers (RR).
2. All three screws (QQ) and outer tooth washer (RR) are required to be assembled and locked.
- Install the lampshade
♦ Place the lampshade (H) into the purification assembly (G) aligning the four flat areas on the flange top of the lampshade (H) with the four raised dimples in the purification assembly (G).
♦ Turn the shade (H) clockwise until it stops.
Operation
Installing the batteries
CAUTION: Do not use with a wall light dimmer switch.
NOTE: The battery will weaken with age and should be replaced before leaking takes place as this will damage the remote control. Dispose of the used battery properly and keep the battery out of the reach of children.

♦ Remove the battery cover by pressing on the arrow and sliding the cover off.
♦ Install two 1.5V AAA batteries (S).
♦ Replace the battery cover on the remote control.
1. To replace the remote control:
Press and hold the ON/OFF button, turn on the power, pair the remote control with the fan. The pairing is successful when the indicator flashes twice. If it fails, turn off the fan power and then turn on to re-pair.
2. To pair the remote control:
NOTE : After the AC power is on, do not press any other button on the remote control before pressing the ”
” button. Otherwise the procedure will fail.
NOTE : The remote control can pair with multiple receivers. Make sure no other receivers are operating during the learning process. Separate the fan power switches by approximately 7 meters.

Should you desire to use another remote control unit with your new fan, install one using the steps below:
♦ Turn the main power source off to begin the pairing process.
♦ Press and hold the
button to enter the learning function.
♦ Return the power to the unit, keep holding the button.
♦ Within 15 seconds of turning the fan’s AC power 0N, once the receiver has detected the set frequency, the down light of your fan, if applicable, will blink twice. Please repeat the above steps if there is no indication after 15 seconds.
♦ A receiver can remember up to three remote controls. If a fourth is used, the first would be deleted.
3. Description of the remote control functions
NOTE : Press and hold the button
for 3 seconds to reset the filter time

Care and Cleaning
WARNING: Make sure the power is off before cleaning your fan.
♦ Because of the fan’s natural movement, some connections may become loose. Check the support connections, brackets, and blade
attachments twice a year. Make sure they are secure. It is not necessary to remove the fan from the ceiling.
♦ Clean your fan periodically to help maintain its new appearance over the years. Do not use water when cleaning, as this could damage
the motor or the wood, or possibly cause an electrical shock. Use only a soft brush or lint-free cloth to avoid scratching the finish. The plating is sealed with a lacquer to minimize discoloration or tarnishing.
♦ You can apply a light coat of furniture polish to the wood for additional protection and enhanced beauty. Cover small scratches with a light application of shoe polish.
♦ You do not need to oil your fan. The motor has permanently-lubricated sealed ball bearings.
Do
♦ Check the support connections, brackets, and blade attachments twice a year. Ensure they are secure. Because of the fan’s natural movement, some connections may become loose over time. It is not necessary to remove the fan from the ceiling.
♦ Clean your fan periodically. Use only a soft brush or lint-free cloth to avoid scratching the finish. The plating is sealed with a lacquer to minimize discoloration or tarnishing.
♦ (Optional) Apply a light coat of furniture polish to the wood blades.
♦ (Optional) Cover small scratches with a light application of shoe polish
Do Not
♦ Do not use water when cleaning. Water could damage the motor, or the wood, or possibly cause an electrical shock.
♦ Do not apply oil to your fan or motor. The motor has permanently-lubricated sealed ball bearings.
Troubleshooting


Questions, problems, missing parts? Before returning to the store,
call Hampton Bay Customer Service
8 a.m. – 7 p.m., EST, Monday – Friday, 9 a.m. – 6 p.m., EST, Saturday
1-855-HD-HAMPTON
HAMPTONBAY.COM
Retain this manual for future use.

♦ Pass the wires on the motor assembly (F) through the lower canopy assembly (E), upper canopy (C), hanger ball (HH), and down rod (II).
♦ Pass the cross pin (GG) into the down rod (II), and adjust the position of the hanger ball (HH).









♦ Insert the filter (TT) into the filter holder (SS), and then insert the filter holder (SS) into the purification assembly (G).
♦ Connect the wire harness with the wiring cap (AA).
♦ Hang the purification assembly (G) on the fan motor assembly (F).
♦ Rotate the purification assembly (G) clockwise to attach it to the motor assembly (F).


















