
INSTALLATION INSTRUCTION
N-F98CVR CONCEALED VERTICAL ROD
EXIT DEVICE
Contents hide
N-F98CVR Concealed Vertical Rod Exit Device


TO CHANGE BOTTOM LATCH FOR BOTTOM STRIKE
| 1. Device factory pre-set. | 2-1.Unscrew and remove screw and L-shaped bracket. 2-2. The L-shaped bracket moves backward. | 3. Move the L-shaped bracket back to the (A) screw hole and install and lock it. | 4. Change Done. |
![]() | ![]() | ![]() | ![]() |
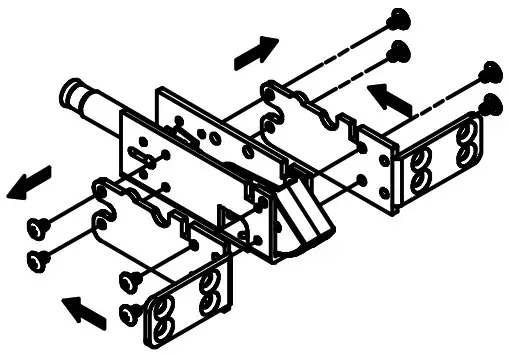
INSTALL INNER CHASSIS & TOP LATCH


INSTALL BOTTOM LATCH (Skip this step if less Bottom Rod)


INSTALL TOP & BOTTOMSTRIKE (Please Follow TEMPLATE)

TO CHANGE HAND OF N-F98CVR EXIT DEVICE
1. LHR![]() | 2-1. Remove chassis pin & main slide & tube. 2-2. Remove lift lever & lift lever pin. 2-3. Rotate 180° main slide & lift lever ![]() |
| 3-1. Reassemble lift lever at opposite side, as shown. 3-2. Replace main slide and chassis pin and lift lever pin. and fixed screw. ![]() | 1. RHR Done.![]() |


























