noodoe EV B300 Smart Electric Vehicle Charging Solutions

PARTS

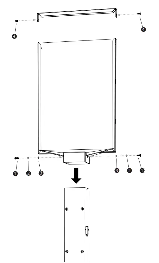
INSTALLATION

Please visit the official website to obtain the latest version of the user manual before installation.

www.noodoe.com/install-accessories



Please visit the official website to obtain the latest version of the user manual before installation.

www.noodoe.com/install-accessories
Download manual
Here you can download full pdf version of manual, it may contain additional safety instructions, warranty information, FCC rules, etc.